Swiss Madison – well made forever Wall-Hung Bidet


PRIOR TO INSTALLATION:
- Inspect bidet to ensure no damages have occurred while in shipping.
- Observe all plumbing and building codes in accordance with your state and local requirements.
- All dimensions are nominal! Be sure to measure your bidet prior to installation.
- The step-by-step guidelines in the installation instructions are a general reference. Should there be any discrepancies, Swiss Madison cannot be held liable. It is recommended to install all Swiss Madison products by hiring a licensed professional.
- Read installation and maintenance instructions thoroughly before installing. Be sure to use proper tools and always wear proper personal safety accessories for your protection.
- Two people are recommended to handle and install this product as it is fragile.
- Install in-wall carrier system (SM-WC124 – not included) prior to installing bidet.
- The Bidet cannot be installed on an outside exterior wall.
- A minimum 14″ access panel behind the wall where the unit is mounted will be required for installation and service.
- Separate shutoffs on hot and cold water lines should be installed. Please check with your local codes to see if a mixing valve is required for your bidet installation to avoid scalding.
SUGGESTED TOOLS & MATERIALS:

INCLUDED PARTS:

WALL HUNG INSTALLATION:
Install Carrier
- Install bidet frame carrier system (sold separately) in wood framing and follow the manufacturer’s instructions.
- Install or relocate the supply tubing and waste pipe.

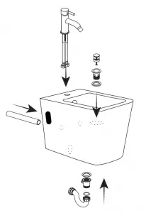
Install Plumbing
- Install faucet and drain (not included) according to manufacturer’s instructions

Mount Bidet
- Connect plumbing then mount bidet to the carrier.
- Drain and water connections are made through the access panel.

Secure and Seal
- Secure using washers and bolts, do not overtighten, it may crack the ceramic.
- Cover bolt access holes with included covers.
- Turn on water and check for leaks.
- Apply a bead of sealant between bidet and wall to seal.

ONE YEAR LIMITED WARRANTY
Swiss Madison® products are made with quality materials and excellent craftsmanship to provide our customers with beautiful, durable, long-lasting products. Should there be any defects in materials or craftsmanship under regular use that are discovered within the first year of installation, Swiss Madison® will provide replacement parts at no charge, or at its discretion, replace any product or part of the product that is deemed defective, under normal installation, use, service or maintenance. This warranty applies only to the original purchaser. Proof of purchase will be required in the instance of a claim.
Swiss Madison® recommends all installations of Swiss Madison® products to be conducted by alicensed, professional plumber or contractor. Swiss Madison® will not be held responsible for any damage or product failure due to improper installation, misuse, or failure to utilize a licensed professional for installation. Swiss Madison® is not responsible for any installation or removal costs.
This One Year Limited Warranty Will Be Voided If
- The installation recommendations were not followed by the installer
- The product has been moved from its initial place of installation
- The product has in any way been modified from its packaged state
- The product has been subjected to improper maintenance, abuse, misuse, excessive use of chemicals, accidents, or other damages, etc.
Swiss Madison® makes no implication that its products comply with any local building or plumbing codes. It is the consumer’s responsibility and obligation to determine local code compliance prior to and during installation. This warranty extends only to the original purchaser and first consumer.
Swiss Madison® is not responsible for any special, incidental or consequential damages associated with the installation, replacement, return or use of the original purchaser’s product. This includes, but is not limited to: freight costs, labor, travel time, lost profit, home damages and other contingent liabilities and costs (including, without limitation, costs associated with ‘professionals’ or ‘experts’, investigations, audits, analyses, attorneys and any other professional/hired services).
The Swiss Madison® warranty is a comprehensive and explicit limit of liability. All items not disclosed within the warranty are not addressable within the responsibility of Swiss Madison®. Certain states have variances regarding implied warranties; in those situations, we remain fully compliant.
WARNING: Contents of your order may contain sharp and possibly other harmful pieces and may cause hazard to children and adults. Swiss Madison® is not responsible in any way for personal damages.
If you have any questions or concerns, please contact us directly at 1-434-MADISON (623-4766)
1-434-MADISON (623-4766)
19 Stults Road Dayton, NJ 08810
www.swissmadison.com























