thermaltake UX100 ARGB Lighting CPU Cooler

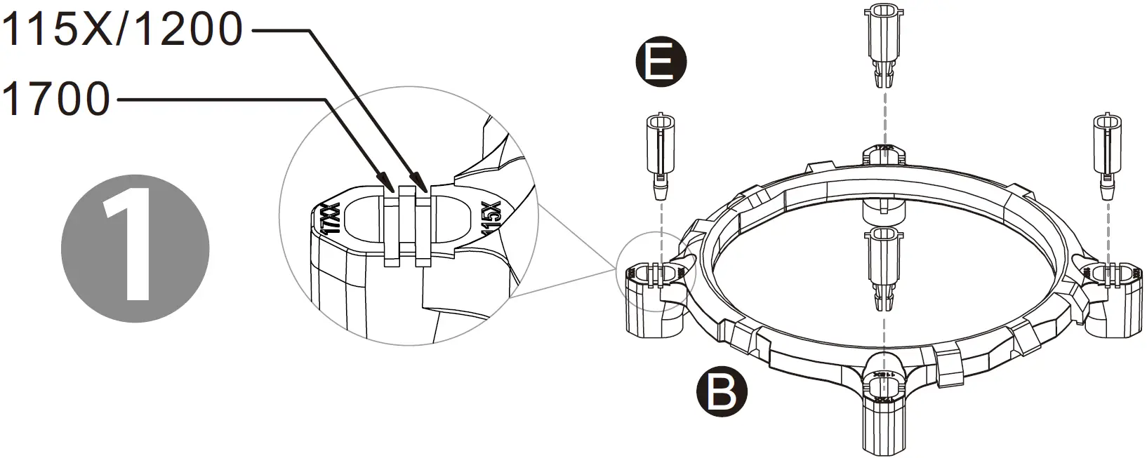
Parts List

INTEL







AMD




MB SYNC
CAUTION: Please power off the PC and check the Positive and Negative ends on the connector before connecting the cable to mainboard. Connecting the wrong end can damage the fans.























