Fojep F4 Wireless Earphones

Initial Usage
- Opening the charging case will automatically turn on the earphones.The earphones quickly enters pairing mode.

- Turn on your phone’s Bluetooth and look for “F4” on the device list. Tap on it to start using the earphones.

Subsequent Usage
- Auto-Disconnect
Put the earphones inside the charging case and close the case to enter the charging mode. Bluetooth will be automatically disconnected.
- Auto-Reconnect
After the initial usage, you can subsequently use the earphones by simply opening the charging case. The earphones will automatically reconnect to the device you’re using.
Note: After opening the case, if the headset is not connected to a device, it will turn off after 5 minutes.
Operating the Charging Case
Before using the item for the very first time, it is recommended to place the earphones inside the case and charge them until they reach full charge. The included USB Type-C cable should be used for charging.

Smart Monitoring Display of Charging Case
- Left earphone power display: There are 4 cells in total, each cell can hold up to 25% power, for a total of 100% when fully charged.
- Right earphone power display: There are 4 cells in total, each cell can hold up to 25% power, for a total of 100% when fully charged.
Smart Charging
- Earphone charging: Put the earphones inside the charging case and close the cover. They will automatically enter charging mode. While any of the earphones (L / R) is charging, the indicator light corresponding to the earphones flashes incrementally. The slots inside the charging case correspond to the earphones (L / R). At full charge, the indicator light corresponding to the earphones shows full grid (four grids)flash for 15 seconds, then enter standby mode.
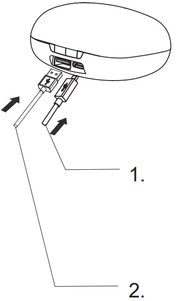
- Charging just the Case: After inserting the charging cable into the USB Type-C slot on the case, the case will automatically start getting charged. The LED screen will display an incremental change of power from 0 to 100 during charging. 100 indicates full charge.
Note: When the earphones are being placed inside the charging case, this should be done smoothly with just a gentle push to prevent the earphones from being in poor contact with the charging probe, which may result in failure to charge.
- Multi-function button Tap Once:play/pause music, answer calls,hang-up, etc.

- Side buttons,long press: “+” for volume up “-” for volume down

- Side buttons, double-press: “+” to skip to next song “-” to skip to previous song

- Multi-function button long press for 6 seconds to turn off for 3 seconds to turn on long press for 2 seconds to ANC on/ transparent / ANC off.

- Multi-function button double-press: reject call, replay last number, enter Bluetooth pairing status, switch language

- Multi-function button triple-press: Activate SIRI Voice Assistant

Low battery alert
The headphone allows you to know when the battery level is low. Whenever the remaining power is less than 10%, it will emit the
following voice prompt every 20 seconds: “Low battery, please charge”.
Charging case indicator status
Charging process, power display.


- Charging the case:
Insert the charging cable into the USB Type-C slot on the case. The LED screen will display an incremental change of power from 0 to 100 during charging. 100 indicates full charge. - . Using the Case to charge your phone:
Connect the phone’s charging cable to the USB Type-A slot on the case. The LED display will show decreasing power level on the case (from 100 going down) until the phone is fully charged and then stop.
Tip
Proper Way of Wearing the Earphones:

While using the earphones, for maximum comfort, please place them on and in your ears as shown above.
Specifications
- Bluetooth version: 5.2
- Working Voltage: 3.3V-4.2V
- RF transmit power: Class 2
- Communication distance: 10M
- Transmission range(Hz): 2.402-2.480GHz
- Audio encoding format: AAC, SBC
- ANC noise reduction frequency: 20-5 kHz
- ANC noise reduction gain: 35dB
- ANC noise reduction category: Digital Hybrid FF+FB ANC
- Support: A2DP1.3, HFP1.7, HSP1.2, AVRCP1.6, SPP1.2
- Working temperature: –15-60 degree celsius
- Working humidity: 10%-85% (non-frozen state)
- Single Earphone:
- Weight: 0.02lb (9g)
- Size: 2*1.7*1inch (5.2*4.4*2.8cm)
- Battery capacity: 50mAh
- Charging time: 1-2 hours
- Standby time: 100 hours
- Playing time: 9 hours
- Talk time: 9 hours/ANC mode 8 hours
- Charger Case:
- Weight: 0.2lb (107g)
- Size: 3*3*1.6inch (7.8*7.8*4.2cm)
- Battery capacity: 1600mAh
- Charging time: 3.5 hours
- The number of times the headset can be charged: 10 times
Safety Instructions
- To avoid hearing damage, keep the volume at a moderate level and avoid listening to music at high volumes for long periods of time, which may cause permanent damage to your hearing ability, including deafness.
- Avoid using the earphones while driving, cycling, crossing the road, or performing/participating in any activity that requires your full attention.
Note: If you use the earphones while watching any video, audio and video may be slightly out of sync.
- After charging is complete, please unplug the charging cable from the charging case to avoid leaving the product in a charging state for a long time.
- The output voltage and current of the charger are preferably 5V, 1.0A to 1.5A. If the charger’s output voltage or current exceeds the specified range, it will cause serious damage to the product itself, and the product warranty will may become invalid in that case.
Usage Guide and Precautions
- Bluetooth products can be affected by the usage environment, please do not use it in environments with large electromagnetic fields / high radiation levels; the Bluetooth signal will be interfered with, and other phenomena may occur.
- When the power of the earphone is less than 10%, it will result in insufficient audio output. It is recommended to use the headset with sufficient charge.
- In case of obstacles or multiple 2.4GHz signals in the same frequency band, the Bluetooth signal will be interfered with, and the phenomena such as stuttering may occur.
- Do not put the Bluetooth earphones in water or apply excessive force on it;those may cause damage to the earphones, resulting in degraded sound quality.
- If ear-set is not used for extended periods of time, it is recommended charging it once every 30 days to prevent it from failing to startup when needed, due to lack of power.
- We may upgrade or modify the software or hardware and appearance of this product without prior notice to you, no matter which product you received.
























