ULINE S-20995 Jumbo White Fold-Over
Mailer Installation Guide

ASSEMBLY

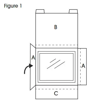
- Place product in center of mailer. (See Figure 1)

- Fold A panels over product. (See Figures 1-2)

- Fold B panel over A panels. (See Figures 3-4)


- Fold C panel over B panel. (See Figures 5-6)


- Seal B and C panels closed with tape. (See Figure 7)


























