Taylor Pneumatic Tool Company T-7511 2 Inch Angle DA Sander

OILING INSTRUCTIONS:
OIL AFTER EACH USE WITH A FEW DROPS OF AIR TOOL OIL THROUGH THE AIR INLET. RUN FOR ONE SECOND TO COAT ALL INTERNAL PARTS.
USE 90 PSI MAXIMUM
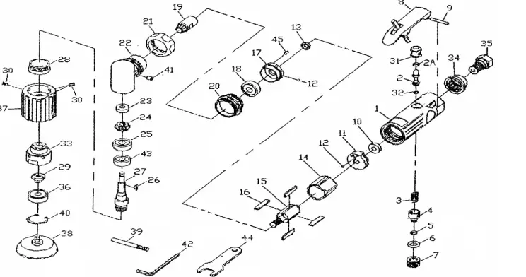
| Ref # 1 2 2A 3 4 5 6 7 8 9 10 11 12 13 14 15 16 17 18 19 20 21 22 23 24 | Part # 751101 751102 751102A 751103 751104 751105 751106 751107 751108 751109 751110 751111 751112 751113 751114 751115 751116 751117 751118 751119 751120 751121 751122 751123 751124 | Description Motor Housing Valve Stem 0-Ring Throttle Spring Air Regulator O-Ring O-Ring Valve Screw Throttle Lever Throttle Lever Pin Bearing Rear End Plate Ball Rotor Collar Cylinder Rotor Rotor Blade (4 per set) Front End Plate Bearing Gear Motor Clamp Housing Lock Ring Angle Head Housing Bearing Spindle Gear | Qty. 1 1 1 1 1 1 1 1 1 1 1 1 2 1 1 1 1 set 1 1 1 1 1 1 1 1 |
| Ref # 25 26 27 28 29 30 31 32 33 34 35 36 37 38 38V 39 40 41 42 43 44 45 | Part # 751125 751126 751127 751128 751129 751130 751131 751132 751133 751134 751135 751136 751137 751138 751138V 751139 751140 751141 751142 751143 751144 751145 | Description Bearing Spindle Key Spindle Clamp Nut Spindle Hex Screw Throttle Valve Bushing O-Ring Housing Exhaust Deflector Air Inlet Bearing Cover Pad 2” PSA Pad 2” Velcro (optional) Wrench C-Ring Grease Fitting Allen Wrench Bearing Wrench Locating Pin | Qty. 1 1 1 1 1 3 1 1 1 1 1 1 1 1 – 1 1 1 1 1 1 1 |
FOR WARRANTY INFORMATION &
WARRANTY REGISTRATION VISIT www.taylorpneumatic.com
Ph. (561) 732-1111
Fax (561) 731-4412
Toll Free 800-805-8665
505 N. Railroad Ave. 33435
P.O. Box 1117 33425
Boynton Beach, Florida

















