POTTER PVC-MP-DP Voice Evacuation Accessories

Description
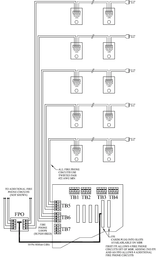
Remote phones are used by firefighters to establish communications with the master phone located in the main panel (PVC-MP). There are two different types of remote phone assemblies available. The most basic assembly is the PVC-FJ wall jack which provides a plug in connection for the PVC-FH portable phone handset. The PVC-TC-R cabinet is for storing the portable handsets when they aren’t being used. The second type of assembly is the PVC-FS-R / PVC-WS-R cabinets that include a hard-wired phone that is always present. Product includes 5 year warranty.

Ordering Information
| Model Number | Stock Number | Description | Mounting/Dimensions |
| pVC-FJ | 3520600 | Telephone Jack | Single gang plate |
| pVC-FH | 3520601 | portable Handset | Stored in pVC-TC-R Telephone Cabinet |
| pVC-TC-R | 3520602 | Telephone Cabinet Holds 6 Handsets | Surface/Semi-Flush Mount 27” x 14-1/2” x 4” |
| pVC-FS-R | 3520603 | Fire phone Station Coiled phone Cord | Surface/Semi-Flush Mount 12-3/4” x 7-1/4” x 3-3/4” |
| pVC-WS-R | 3520604 | Warden Station armored Cable | Surface/Semi-Flush Mount 12-3/4” x 7-1/4” x 3-3/4” |
Wiring Diagram

Potter Electric Signal Company, LLC • St. Louis, MO • Tech Support: 866-956-0988 / Customer Service: 866-572-3005 • www.pottersignal.com




















