7620078 LED Deckenlampe Quadra
Instruction Manual

7620078 LED Deckenlampe Quadra
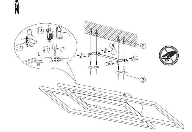
Assembly drawing ing
7620078
2x 12W LED/230V ~ 50Hz.
Intended use
Safety Precautions.
Package contents
- 1 Ceiling lamp
- Installation hardware
- Mounting instructions

| L | Live conductor |
| N | Neutral conductor |
This is how it works

Revision: 1.0
+49(0)6642/40699-0 6
+49(0)6642/40699-20
[email protected]
Freigabe: 07.09.2018, JFO
Seite 16 von 16



















