anslut 019444 Work Lamp LED






Important! Read the user instructions carefully before use. Save them for future reference. (Translation of the original instructions)
Important! Read the user instructions carefully before use. Save them for future reference. Jula reserves the right to make changes. For latest version of operating instructions, see www.jula.com
SAFETY INSTRUCTIONS
- The power cord cannot be replaced. The whole product must be replaced if the cord is damaged.
- The product conforms with the requirements in IEC 60598.
- The product must be connected to an earthed power point.
- Keep power cords and extension cords away from cutting tools, sharp objects and other potential risks, such as wet floors and solvents.
- Check at regular intervals all electrical connections and power cords for damage. Rectify any faults before using the lamp. Always have the wiring and connections checked by an authorised electrician.
- Check that the mains voltage corresponds to the rated voltage on the type plate.
- Do not use the product in an explosive environment, e.g. near flammable liquids, gas or dust. Do not use the product near flammable materials.
- Do not look directly into the light source.
- Do not use the product if the glass front is cracked or damaged. The product must be discarded if the glass front is cracked or damaged.
- The light source is not replaceable. The entire product must be replaced if it stops working.
- The minimum distance between the product and an illuminated object is one metre.
WARNING!
- The product gets very hot when in use – risk of burn injuries.
- Keep flammable materials away from the product.
- Make sure there is enough ventilation to prevent the product getting too hot.
SYMBOLS
![]() | Read the instructions. |
![]()
| Approved in accordance with the relevant directives. |
![]() | Class I, earth. |
![]() | The product must be discarded if the glass front is cracked or damaged. |
![]() | Recycle discarded product in accordance with local regulations. |
![]() | Non-replaceable light source. |
![]() | Non-replaceable actuator. |
TECHNICAL DATA
- Rated voltage 230 V ~ 50 Hz
- Output 10 W
- Luminous flux 850 lm
- Colour temperature 4000 K
- Colour tone Cold white
- Protection rating IP65
- Energy class F
- Life span 25000 h
- Weight 0.3 kg
- Size W114 x H109 x D29.2 mm
DESCRIPTION
Work lamp LED with adjustable bracket and aluminium lamp housing. Easy to use and install thanks to lightweight and compact design.
ASSEMBLY
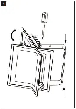
Assemble the product as shown in the figures. FIG. 1-4
MAINTENANCE
RECYCLING
Recycle end-of-life product in accordance with local regulations. The light source should be removed from the lamp and recycled separately. See description of method below.
- Undo the nuts and screws between the stand and floodlight by hand.
- Cut the top corner of the floodlight housing with a hacksaw.
FIG. 5 - Insert a flat-tip screwdriver in the gap between the glass and the casing, and carefully pry both parts apart. Stick another screwdriver between the glass and the casing and carefully bend apart. Continue along the edge round the lamp until the glass comes loose.
FIG. 6 - Lift off the glass to access the LED light source.
FIG. 7 - Remove the light source.



























