
Installation instructions
Zip HydroTap
Arc Plus & Cube Plus
B, BA, BC, BCS, CS, C


Australia UK
Visit our website to download the manuals
807292 v1.01 10.22 Arc Plus Cube Plus Instructions
Using these instructions
Please refer to all safety and installation requirements detailed in the Quick start guide provided with the HydroTap Command Centre, and HydroTap Command Centre installation instructions found online, prior to installation of, or any change to, the complete system.

WARNING Read the instructions
Before commencing the installation,download & read the HydroTap Command Centre installation instructions
Tools needed for tap installation
In addition to normal tools, the following (or equivalent equipment) will be required, (not supplied).
- 35mm diameter sheet metal hole punch for sinks.
- 35mm diameter hole saw for worktops.
- Tube spanner for fixing the tap assembly.
Be aware of the risks of hazards which could cause harm when using tools. Assess the risks before starting the installation.
Water supply pressure requirements
| Min – Max pressure, kPA (bar) | ||
| Australia | UK | |
HydroTap | 170 (1.7) – 700 (7.0) | 170 (1.7) – 500 (5.0) |
| Sparkling HydroTap | 250 (2.5) – 700 (7.0) | 250 (2.5) – 500 (5.0) |
Booster | 200 (2.0) – 700 (7.0) | 200 (2.0) – 500 (5.0) |
(1) Positioning
Position the tap such that it dispenses into the sink bowl with clearance for a cup or tea pot.

- Ensure that taps are positioned to minimise the risks of scalding by dispensing boiling water while using the tap.
- All tubes must have constant fall.
Ensure there are no kinks or sags.
Position Command Centre
and tap as close together as possible. See below.

- 162 mm
- 237mm
(*232mm for Arc Plus)
(2) Cut the hole

- Cut a Ø35mm hole in the worktop / sink.
- Make sure the tap location will allow the tap spout to drain into the sink.
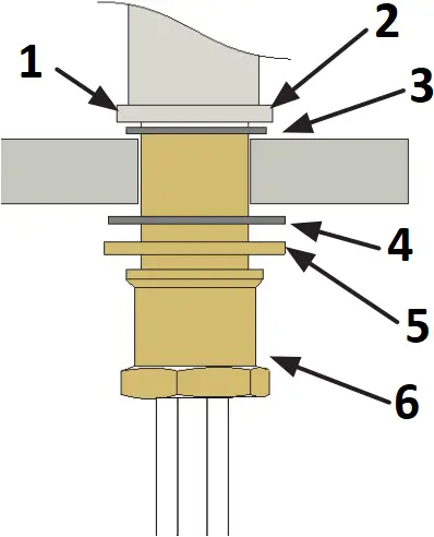
(3) Mount the tap

- Base ring
- Upper o-ring
- Lower o-ring
- Rubber washer
- Metal washer
- Tap nut
(4) Fit the tube kit
Boiling ambient Boiling Boiling chilled

Boiling, chilled Chilled Chilled
sparkling sparkling

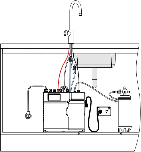
(5) Command Centre connections
| USB | Connected to the Tap. |
| Boiling out | Red silicone tube from tap. Cut to length. |
| Chilled out | (BC, C) Blue silicone tube from tap, (BCS, CS, BA) Blue JG pipe from tap. Cut to length. |
| Vent | Clear silicone tube from tap. Cut to length. |
| Sparkling out | White JG pipe from tap. Cut to length. |
| Ambient out | Blue JG pipe from tap. Cut to length. |
(6) Cleaning and general maintenance
Wipe surfaces with a damp cloth and then wipe dry with a clean, dry cloth. Do not use disinfectant sprays without wiping dry afterwards.

Zip Water
ABN 46 000 578 727
67 – 77 Allingham Street, Condell Park, NSW 2200
Postal: Locked Bag 80, Bankstown 1885, Australia
(+612) 9796 3100 | Free Call (Aust): 1800 947 827
www.zipwater.com
Zip Water UK
Trafalgar House
Rash’s Green, Dereham,
Norfolk NR19 1JG
0345 6 005 005 | [email protected]
specify.zipwater.co.uk


















