Oase Waterfall Pump 6600 gph Instruction Manual

Operating instructions
| Part | Description | QTY |
| A | Pump | 1 |
| B | 1½ in. and 2 in. ID tubing adapter | 2 |
| C | Gasket | 2 |

Information about these operating instructions
Welcome to OASE Living Water. You made a great choice with the purchase of this product Waterfall Pump 6600 / 8000. Prior to operating the unit, please read the instructions of use carefully and fully familiarize yourself with the unit.
Ensure that all work on and with this unit is only carried out in accordance with these instructions. Please strictly follow the enclosed instructions to ensure safe and correct handling of the product. Keep these instructions in a safe place. Please also hand over the instructions when passing the unit on to a new owner.
WARNINGS AND CAUTIONS SYMBOLS
Symbols used in these instructions
The symbols used in this operating manual have the following meanings:
Risk of injury to persons due to dangerous electrical voltage.
This symbol indicates an imminent danger, which can lead to death or severe injuries if the appropriate measures are not taken.
Risk of personal injury caused by a general source of danger.
This symbol indicates an imminent danger, which can lead to death or severe injuries if the appropriate measures are not taken.
Important! The unit’s magnetic field may affect the function of pacemakers.
Important information for trouble-free operation.
Intended use
Waterfall Pump 6600 / 8000, referred to in the following as “unit”, may only be used as specified in the following:
- For pumping normal pond water for filters, waterfalls and water courses.
- Operation under observance of the technical data.
The following restrictions apply to the unit: - Do not use in swimming pools.
- CAUTION – this pump has been evaluated for use with water only.
- Never run the unit without water.
- Do not use for commercial or industrial purposes.
- Do not use in conjunction with chemicals, food products, easily flammable or explosive substances.
- Do not connect to the domestic water supply.
- Do not exceed the voltage shown on the pump.
- Do not remove the grounding pin from the power cord plug.
- Inspect the power cord for damage before installation and maintenance.
Use other than that intended
This unit can be dangerous and cause harm if not used in accordance with these instructions. Any use not in accordance
with these instructions or modification(s) to the unit will void the limited warranty.
Questions, problems, missing parts?
Before returning to your retailer, call us at 1-866-627-3435, 8 a.m.-6 p.m., EST, Monday-Friday, or email
us at [email protected]. Or visit our website at www.oase-livingwater.com
Installation
WARNING
Risk of electric shock – This pump is supplied with a grounding conductor and grounding-type attachment plug. To reduce the risk of electric shock, be certain that it is connected only to a properly grounded, grounding-type receptacle.
Important:
- The unit can be placed within the pond (submerged) or outside of the pond (dry)
- It is recommened to place the unit horizontally on the ground ensuring its stable position.
- Do not lift the pump by its power cord. Use the handle to lift and maneuver the pump.
Submerged installation
- For maximum water flow, it is recommended that the largest tubing size for your pump is used.
○ If needed, cut the adapter as shown using a hacksaw; consult packaging for tubing size
- Attach the adapter to the pump first, then connect tubing to the adapter.
NOTE: Tubing is NOT INCLUDED.
- Attach the other end of the tubing to desired water feature or spillway.
Installation (cont.)
Dry installation
- Remove screen from pump.

- Mount pump to desired area using the holes on the bottom of the pump base.

- Attach both adapters to the pump first using the gasket then connect tubing to the adapters. ○ If needed, cut the adapter using a hacksaw; consult packaging for tubing size.
NOTE: Tubing is NOT INCLUDED.
- To prevent air from being taken in, ensure that unit and supply hose are always below the water level.
Start-up
Attention! The pump must never run dry.
Possible consequences: The pump will be destroyed.
Protective measures: Check the water level at regular intervals. Always place the unit below water level.
Attention! The installed temperature sensor automatically turns the pump off, if it is overloaded. The pump automatically switches on again once the motor has cooled down. Risk of accident!
Install the unit so that it is not exposed to direct sun radiation (max. 104 ºF – 40 ºC).
Important:
- The unit switches on automatically when power connection is established.
- Switching on: Connect power plug to the socket.

- Switching off: Disconnect the power plug.
Maintenance and cleaning
Attention! Dangerous electrical voltage.
Possible consequences: Death or serious injuries. Protective measures:
- Electrical units and installations with a rated voltage of U > 12 V AC or U >30 V DC located in the water: Isolate the units and installations (switch off and disconnect from the power supply) before reaching into the water.
- Isolate the unit before starting any work.
- Secure the unit to prevent unintentional switching on.
Cleaning the unit
- Regular cleaning of the pump may be necessary depending upon the environment in which it is operated. Clean the pump when it is visibly soiled or when a drop in performance is detected. Clean the unit with
warm water using a soft brush. - Never use aggressive cleaning agents or chemical solutions. These could attack the housing surface or impair the function.
- In the event of stubborn furring (calcium deposits), a common household cleaner free from vinegar and chlorine can be used. Subsequently, clean the pump thoroughly using warm water.
Cleaning the pump
- Disconnect the pump from the power source Disconnect the tubing.
- Remove the screen and disassemble the impeller housing by unscrewing the screws to expose the impeller assembly.

- Remove the impeller assembly by pulling on the back round plate behind the impeller

- Use a soft cloth or brush to clean the impeller assembly and the inside of the impeller housing.

● Check parts for damages such as cracked shaft, cracks in the bearing, and broken plastics. Replace parts if necessary. - Reassemble in the reverse order.
Storage/Winterization
- Put the unit out of operation at water temperatures below 46 °F (8 °C) or, at the latest, when freezing temperatures are to be expected.
- Thoroughly clean the unit, check for damage.
- Ensure that the storage place is inaccessible to children.
Wear parts
The impeller unit is a wear part and is excluded from the warranty
Disposal
Do not dispose of this unit with domestic waste! Disable the unit beforehand by cutting off the cables. Further information about the recycling of this product can be obtained from your local municipal authority.
Troubleshooting
| Issue | Cause | Solution |
| The unit is not performing its suction function | Power supply not connected | Connect pump power supply, check the supply lines to make sure the voltage is correct |
| Impeller blocked, shaft broken | Remove the inlet screen and/or pump cover, and impeller housing to expose the impeller. Turn the impeller to ensure that it is not broken or jammed by debris. Also check to make sure that the ceramic shaft or bearings are not broken. | |
| Pump is not completely submerged | Completely submerge the pump or make sure inline setup is completely below the water line. | |
| Insufficient flow | Pump is not completely submerged | Completely submerge the pump or make sure inline setup is completely below the water line. |
| Screen clogged | Clean | |
| Tubing blocked | Clean or replace tubing | |
| Tubing kinked | Eliminate kink, replace tubing if it is damaged | |
| Excessive flow loss in the tubing due to friction | ○ Reduce tubing length to reduce frictional loss ○ Select larger hose diameter, adapt stepped hose adapter to hose diameter. | |
| Pump overload. The flow is automatically stopped to protect the pump. | ○ Clean the pump housing and impeller assembly ○ Reduce the ambient temperature (e.g. ensure that the specified water temperature is adhered to, avoid direct sunlight) | |
| Impeller worn | Replace impeller | |
| Unit switches off after a short running period | Excessive soiled water | Clean impeller housing, bearing and impeller assembly |
| Impeller blocked, shaft broken | Remove the inlet screen and/or pump cover, and impeller housing to expose the impeller. Turn the impeller to ensure that it is not broken or jammed by debris. Also check to make sure that the ceramic shaft or bearings are not broken. | |
| Water temperature too high | Maximum water temperature: +95° F (+35 °C) |
| Waterfall Pump | Model | Model No. | Rated voltage | Power consumption | Max. flow rate | Max. head height | Cord length | Connection for hoses | Dimensions | Weight |
| 6600 | 45425 |
120V / 60 Hz | 460 W / 3.8 A | 6,600 GPH | 26.5 ft. | 20 ft. |
1 1/2”, 2” | 11.9 x 6.8 x 8.6 in. |
14.5 lbs. | |
| 8000 | 45426 | 650 W / 4.8 A | 8,000 GPH | 32 ft. | 20 ft. | 11.9 x 6.8 x 8.6 in. |
|
Pos. | Waterfall Pump | |
| 6600 | 8000 | |
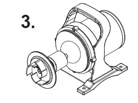
| 1 | 1-1/2 in. and 2 in. ID tubing adapter | 1-1/2 in. and 2 in. ID tubing adapter |
| 2 | Screen | Screen |
| 3 | Screw | Screw |
| 4 | Impeller housing | Impeller housing |
| 5 | Impeller Assembly | Impeller Assembly |
| 6 | O-ring | O-ring |
| 7 | Gasket | Gasket |


WARNINGS AND CAUTIONS SYMBOLS


























