MOXA CP-168U PCI Express Multiport Serial Board Installation Guide
Overview
Moxa’s new PCI Express Multiport Serial Boards series is designed for POS and ATM applications and for use by industrial automation system manufacturers and system integrators.
Package Checklist
Before installing the PCI Express board, verify that the package contains the following items:
• 1 MOXA multiport serial board (1 PCI Express board or 1 PCI Express-A Intelligent board) • Low-profile bracket (low profile models only) • Quick installation guide (printed) • Warranty card
NOTE Notify your sales representative if any of the above items are missing or damaged.
Hardware Installation Procedure
The PCI Express board MUST be plugged into the PC before the driver is installed.
Follow the steps below.
- Install the board. Power off the PC and then plug the board firmly into any open PCI Express slot.
- Plug the connection cable into the board’s connector. (Refer to Pin Assignments for the cable pin assignment).
- Start system and verify the driver initialization.
Software Installation Information
- Get the driver at www.moxa.com. Base on the OS type, choosing the corresponding driver.
- Installing the driver:
- For Windows OS (Take the installation of Win7 as an example)
- 2.1. Unzip and execute the .exe file
- 2.2. Follow the instructions to install the drivers
- ForLinux
Execute the following commands from the Linux prompt:- 2.1. Get the driver at www.moxa.com and unzip the file: #cd / #mkdir moxa #cd moxa #cp //driv_linux_smart__build_.tgz. #tar -zxvf driv_linux_smart__build_.tgz
- 2.2. Install the driver: #cd mxser #./mxinstall
- 2.3. Verify the driver status
Use the Moxa diagnostic utility to verify the driver status:
#cd /moxa/mxser/utility/diag#./msdiag - 2.4. Test the tty port
Use the Moxa terminal utility to test the tty ports:
#cd /moxa/mxser/utility/term#./msterm
- For Windows OS (Take the installation of Win7 as an example)
- Intelligent RS-485 (If your multiport serial board is CP-102E/CP-102EL, CP-132EL/CP-132EL-I, or CP-114EL/CP-114EL-I, then your software installation is completed.
On the other hand, if your multiport serial board is PCI Express-A, and with interface RS-485-2W, then you should follow this section to complete the intelligent RS-485 setting.)- For Windows OS
- 3.1. Go to the device management to complete the model
properties setting. - 3.2. Click Start Diagnosis. (It should be RS-485-2W).
If the status is OK, nothing further needs to be done.
If the status is Waveform Distortion, Data Error, or
Receive Reflect Signal, go to next step to do the auto tuning - 3.3. Auto Tuning
Still in the Properties Settings page, click on the COM number that shows the error message.
Click Auto Tuning.
Click OK to apply the setting adjustment for the Bias Resistor and Termination Resistor.
- 3.1. Go to the device management to complete the model
- For Linux
Follow these steps to configure the Intelligent RS-485 in Linux- 3.1. Detect the configurations of the port by the following
command: #./muestty -g /dev/ttyMUE1#cd / - 3.2.Use the following command to run diagnosis to see if the setting is correct. #./muestty -d /dev/ttyMUE1
- 3.3. If the alarm status shows OK, nothing further needs to be done. If the alarm status shows Fail, then there are
problems with the setting. Do the auto-tuning process with the following command #./muestty -a /dev/ttyMUE1 - 3.4. Manually configure the Pull Up/Down resistor and the terminator resistor with the assigned values:
#./muestty –p (assigned value) /dev/ttyMUE1
#./muestty –t (assigned value) /dev/ttyMUE1 - 3.5. Do the diagnosis again: #./muestty -d /dev/ttyMUE1
- 3.1. Detect the configurations of the port by the following
- For Windows OS
Pin Assignments
CP-102E / CP-102EL
Male DB9 (CBL-M25M9x2-50 for CP-102EL)
DB9 male

| Pin | RS-232 |
| 1 | DCD |
| 2 | RxD |
| 3 | TxD |
| 4 | DTR |
| 5 | GND |
| 6 | DSR |
| 7 | RTS |
| 8 | CTS |
CP-132EL/CP-132EL-I
Male DB9 (Device side)
DB9 male

| Pin | RS-422/ RS-485-4W | RS-485-2W |
| 1 | TxD-(A) | – |
| 2 | TxD+(B) | – |
| 3 | RxD+(B) | Data+(B) |
| 4 | RxD-(A) | Data+(A) |
| 5 | GND | GND |
| 6 | – | – |
| 7 | – | – |
| 8 | – | – |
CP-114EL/CP-114EL-I
Male DB9 (CBL-M44M9x4-50)
DB9 male
| Pin | RS-232 | RS-422/ RS-485-4W | RS-485-2W |
| 1 | DCD | TxD-(A) | – |
| 2 | RxD | TxD+(B) | – |
| 3 | TxD | RxD+(B) | Data+(B) |
| 4 | DTR | RxD-(A) | Data+(A) |
| 5 | GND | GND | GND |
| 6 | DSR | – | – |
| 7 | RTS | – | – |
| 8 | DCD | – | – |
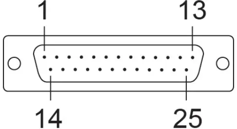
Male DB25 (CBL-M44M25x4-50)
DB25 male
| Pin | RS-232 | RS-422/ RS-485-4W | RS-485-2W |
| 2 | TxD | RxD+(B) | Data+(B) |
| 3 | RxD | TxD+(B) | – |
| 4 | RTS | – | – |
| 5 | CTS | – | – |
| 6 | DSR | – | – |
| 7 | GND | GND | GND |
| 8 | DCD | TxD-(A) | – |
| 20 | DTR | RxD-(A) | Data-(A) |
CP-118E-A-I / CP-138E-A-I
Male DB9 (CBL-M78M9x8-100)
DB9 male
| Pin | RS-232 | RS-422/ RS-485-4W | RS-485-2W |
| 1 | DCD | TxD-(A) | – |
| 2 | RxD | TxD+(B) | – |
| 3 | TxD | RxD+(B) | Data+(B) |
| 4 | DTR | RxD-(A) | Data-(A) |
| 5 | GND | GND | GND |
| 6 | DSR | – | – |
| 7 | RTS | – | – |
| 8 | CTS | – | – |
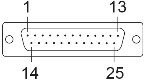
Male DB25 (CBL-M78M25x8-100)
DB25 male
| Pin | RS-232 | RS-422/ RS-485-4W | RS-485-2W |
| 2 | TxD | RxD+(B) | Data+(B) |
| 3 | RxD | TxD+(B) | – |
| 4 | RTS | – | – |
| 5 | CTS | – | – |
| 6 | DSR | – | – |
| 7 | GND | GND | GND |
| 8 | DCD | TxD-(A) | – |
| 20 | DTR | RxD-(A) | Data-(A) |
CP-134EL-A-I
Male DB9 (CBL-M44M9x4-50)
DB9 male
| Pin | RS-232 | RS-422/ RS-485-4W | RS-485-2W |
| 1 | DCD | TxD-(A) | – |
| 2 | RxD | TxD+(B) | – |
| 3 | TxD | RxD+(B) | Data+(B) |
| 4 | DTR | RxD-(A) | Data-(A) |
| 5 | GND | GND | GND |
| 6 | DSR | – | – |
| 7 | RTS | – | – |
| 8 | CTS | – | – |
Male DB25 (CBL-M44M25x4-50)
DB25 male
| Pin | RS-232 | RS-422/ RS-485-4W | RS-485-2W |
| 2 | TxD | RxD+(B) | Data+(B) |
| 3 | RxD | TxD+(B) | – |
| 4 | RTS | – | – |
| 5 | CTS | – | – |
| 6 | DSR | – | – |
| 7 | GND | GND | GND |
| 8 | DCD | TxD-(A) | – |
| 20 | DTR | RxD-(A) | Data-(A) |
CP-116E-A
Male DB9 (OPT8-M9+ / CBL-M68M9x8-100)
DB9 male
| Pin | RS-232 | RS-422/ RS-485-4W | RS-485-2W |
| 1 | DCD | TxD-(A) | – |
| 2 | RxD | TxD+(B) | – |
| 3 | TxD | RxD+(B) | Data+(B) |
| 4 | DTR | RxD-(A) | Data-(A) |
| 5 | GND | GND | GND |
| 6 | DSR | – | – |
| 7 | RTS | – | – |
| 8 | CTS | – | – |
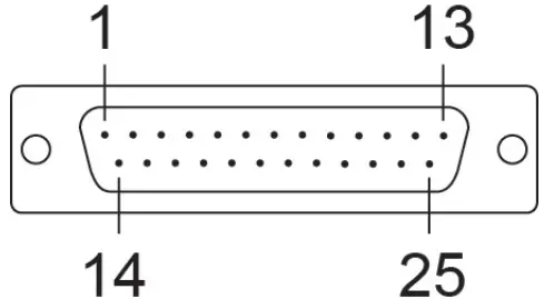
Male DB25 ( OPT8B+ / CBL-M68M25x8-100)
DB25 male
| Pin | RS-232 | RS-422/ RS-485-4W | RS-485-2W |
| 2 | TxD | RxD+(B) | Data+(B) |
| 3 | RxD | TxD+(B) | – |
| 4 | RTS | – | – |
| 5 | CTS | – | – |
| 6 | DSR | – | – |
| 7 | GND | GND | GND |
| 8 | DCD | TxD-(A) | – |
| 20 | DTR | RxD-(A) | Data-(A) |
Female DB25 (OPT8A+/S+)
DB25 female
| Pin | RS-232 | RS-422/ RS-485-4W | RS-485-2W |
| 2 | RxD | TxD+(B) | – |
| 3 | TxD | RxD+(B) | Data+(B) |
| 4 | CTS | – | – |
| 5 | RTS | – | – |
| 6 | DTR | RxD-(A) | Data-(A) |
| 7 | GND | GND | GND |
| 8 | DCD | TxD-(A) | – |
| 20 | DSR | – | – |



















