levenhuk 400 Series 400B Binocular Microscope User Manual
Product overview
- 1a. Levenhuk 400M

- 1b. Levenhuk 400B

- 1c. Levenhuk 400T
Levenhuk D400T
- 1d. Levenhuk D407 LCD

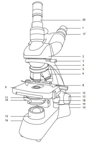
- Eyepiece
- Eyepiece head/LCD screen
- Monocular/binocular/trinocular head locking screw
- Arm
- Revolving nosepiece
- Objective
- Specimen holders
- Mechanical scale
- Stage
- Aperture diaphragm adjustment rod
- Condenser with filter holder
- Coarse focusing knob
- Fine focusing knob
- Illumination on/off button (not shown)
- Collector
- Brightness adjustment knob (not shown)
- Diopter adjustment ring
- Stage moving knob (right/left)
- Stage moving knob (back/forth)
- Third eyepiece tube (trinocular models only)
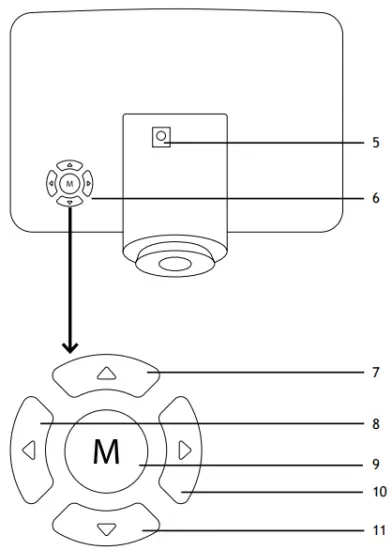
- 2. LCD (Levenhuk D407)



- SD slot
- Snap button
- Power on/off
- LED
- Power input
- Menu buttons
- FOV/Up
- Enter/Increase
- Menu/Quit
- Decrease
- FOV/Down
- Power cable
General Information
Read the user manual carefully before you start working with a microscope. Levenhuk 400 Series biological microscopes are safe for health, life and property of the consumer and the environment when properly used, and meets the requirements of international standards. These microscopes are designed for observing transparent objects in the transmitted light using the bright field method. They perform well in clinical research and tests; teaching demonstrations; bacterioscopy and cytology in medical and health establishments, laboratories, universities; and may be used for scientific research in agriculture and microbiology.
Microscope assembly
- Unpack the microscope carefully and place it on a flat surface.
- Remove the plastic bags and dustproof cover of the eyepiece head.
- Install the monocular, binocular, trinocular head or LCD screen and tighten the locking screw.
- Inspect all the items included in the kit and define their purpose.
- Open the battery compartment, position the batteries according to the polarity marking on the battery compartment, reinsert the battery compartment door and turn on the microscope.Before using the microscope, it is necessary to charge the batteries: insert the batteries into the battery compartment (observe the polarity) and connect the microscope to the mains using the power adapter.
Use
Please refer to the fig. 1а (monocular model), fig. 1b (binocular model), fig. 1c (trinocular model) and fig. 1d (model with LCD screen).
- Turn on the power and the illumination will turn on. Set the brightness at approximately 70%. Place the specimen on the stage. Make sure the clips hold the specimen firmly in place.
- Iris diaphragm should be adjusted in accordance with numerical aperture of a lens. The best practice is to make the iris diaphragm slightly smaller than the aperture of the selected lens. Open or close the iris diaphragm using the adjustment screws. If the adjustment screw is turned to the right, the iris diaphragm is fully open. Note: the diaphragm is not intended for adjusting the brightness of the illumination. To adjust the brightness, use the brightness adjustment knob.
- Slide the filter holder, place the filter in it and then return the holder to its initial position.
- To change the objective magnification, turn the revolving nosepiece until it clicks.
- Make sure that the lens does not touch the sample when adjusting the focus: rotate the coarse focus knob until the specimen is about 3.175mm (1/8″) away from the lens.
- Looking into the eyepiece, slowly turn the coarse focusing knob until you can see the image of the observed specimen. Turn the fine focusing knob to make the image clear. The fine focusing mechanism allows you to focus on the observed specimen while using high magnifications.
- When you use an oil immersion objective, the space between the specimen and the lens should be filled with immersion oil.
Raise the condenser to the upper position and put a drop of oil on the lens and on the cover glass of the specimen. Move the revolving nosepiece back and forth to get rid of air bubbles in the oil. Then, fix the objective lens in its working position.
Make sure that oil fills the entire space between the objective lens and the specimen. After use, wipe the lens dry. - To adjust the position of the mechanical scale (except for Levenhuk 400M), turn the coarse focusing knob in a clockwise direction if you want to fix the position of the mechanical scale, or in a counterclockwise direction if you want to loosen it.
- To place the specimen in the field of view, move the stage horizontally back and forth or left and right using the stage moving knob (except for Levenhuk 400M).
- Look through the right eyepiece with your right eye and adjust the image sharpness with the coarse and fine focusing knobs.
Binocular and trinocular models: then, look through the left eyepiece with your left eye and rotate the diopter adjustment ring to equalize the difference between your left and right eyes vision. Remember the setting for future use. Adjust the distance between the eyepiece tubes of the binocular head so that the image merges into a single circle. - Trinocular models: you can install the digital camera to the third eyepiece tube.
LCD screen (Levenhuk D407 LCD)
Getting started
- Connect the power cable to the power input on the LCD screen and connect it to the network. The red LED will light up.
Turn the LCD screen on with the power on/off button; the LED light will change to green. - Insert the SD card (included) in the SD slot to view the image and save the resulting photos and videos.
Menu and functions
- Use the buttons on the back of the LCD screen to control the camera functions and parameters. After modifying the parameters, exit the interface to save data.
- Press the Menu button to call up the menu. Use ↑↓ to select the functions. Use → to enter the submenu. Press the Menu button once again to save the modified parameters and exit the interface.
Photo and video
- Photo. Press the Snap button on the LCD panel to take a photo. The image will be saved on the SD card.
- Video. Before recording a video, make sure that the SD card is formatted with the FAT32 file system and has enough free space. You cannot take photos while recording a video. Enter the menu and select “Record Video” to record a video.
Basic settings
- White Balance. In this parameter, you can adjust the color temperature. The default option is “Auto White Balance”.
- Exposure. In “Auto Exposure”, you can set the exposure value. In “Manual Exposure”, you can adjust the “time” parameter.
- Color Adjustment. In this parameter, you can adjust saturation, hue, brightness, and contrast.
- Monochrome. By selecting this parameter, you will see the image in different tones of a single color (e.g. shades of gray).
- Flip. This feature allows you to flip the image horizontally or vertically.
Measurements
- Cross Line. You can select a cross line in four colors, turn the display on or off, and adjust the position of the center point of the cross line.
- Calibration. The camera is calibrated by default, but you may need to recalibrate the camera.
- Put the calibration slide on the stage so that the scale is placed horizontally on the screen. Adjust the focus as clearly as possible.
- Enter the Calibration menu. Drag a segment of the calibration ruler so that its ends are next to the marks on the physical scale of the calibration slide. For maximum accuracy, try to capture as many scales as possible.

- Example: The image above uses a ruler with 0.01 mm (10 µm) divisions under a 10x lens. The camera parameters are set to: “magnification 10x”, “units μm”, and “length 40”.
- Each objective lens must be calibrated to take measurements at different magnifications.
- After adjusting the parameters, exit the calibration menu to complete the procedure.
- Recalibration. The calibration process has to be repeated if the magnification or focus has been changed during observations. Enter the Measurement menu. Select the magnification, adjust the start and end point, and then the value of the measured segment will be displayed.
Digital camera (Levenhuk D400T)
Levenhuk D400T comes with a digital camera (fig. 3). A digital camera is installed to the third eyepiece tube and enables observing specimens on the screen in exquisite detail and true color, taking photos and videos, and saving the images for future reference.
Specifications
| Product ID | 75419 | 75420 | 75421 | 75435 | 78932 |
| Model | Levenhuk 400M | Levenhuk 400B | Levenhuk 400T | Levenhuk D400T | Levenhuk D407 LCD |
| Type | biological/optical | biological/optical, digital | |||
| Research method | bright field | ||||
| Magnification | 40—400x | 40—1000x | 60—1500x | ||
| Interpupillary distance | — | 48—75mm | — | ||
| Eyepiece head | monocular, 360° rotatable, inclined at 45° | binocular, 360° rotatable, inclined at 30° | trinocular, 360° rotatable, inclined at 30° | 7″ color LCD screen | |
| Optics material | optical glass | ||||
| Eyepiece tube diameter | 23.2mm | — | |||
| Third vertical eyepiece tube | — | 23.2mm | — | ||
| Eyepieces | WF10x/18mm (1pc) with a pointer | WF10x/18mm (2pcs) | — | ||
| Eyepiece diopter adjustment | — | ±5D | — | ||
| Objectives | achromatic: 4x, 10x, 40xs | achromatic: 4x, 10x, 40xs, 100xs (oil) | |||
| Revolving nosepiece | 3 objectives | 4 objectives | |||
| Stage moving range | — | 55/20mm | |||
| Stage | 110x110mm, with specimen holders | double layer mechanical, 115x110mm, with mechanical scale | |||
| Focus system | coaxial, coarse (12mm) and fine (0.002mm) | coaxial, coarse (0.5 mm) and fine (0.002mm) | coaxial, coarse (15mm) and fine (0.002mm) | ||
| Condenser | 0.65 iris diaphragm and filter holder | Abbe N.A. 1.25 iris diaphragm and filter holder | |||
| Body | metal | ||||
| Illumination | lower (1W LED) with brightness adjustment | ||||
| Collector | + | ||||
| Filters | blue, green, yellow | blue | blue, green, yellow | ||
| Vial of immersion oil | — | + | — | ||
| Power supply | 110—220V via AC adapter or 3 AA batteries | ||||
| Digital camera | — | 3.1Mpx | 2Mpx | ||
| Camera connector | — | + | — | ||
Digital camera specifications (Levenhuk D400T)
| Megapixels | 3.1 |
| Max. resolution (still images) | 2048x1536px |
| Sensor | 1/2 |
| Pixel size | 3.2×3.2μm |
| Frame rate | up to 11fps |
| Exposure time | auto/manual |
| Spectral range | 400—650nm |
| Video recording | + |
| Image format | *.jpg, *.bmp, *.png, *.tif |
| Video format | *.wmv, *.avi |
| White balance | auto/manual |
| Output | USB 2.0, 480Mb/sec. |
| Power supply | DC 5V; via USB 2.0 cable |
| Software features | image size, brightness, exposure time |
| System requirements | Windows XP (32-bit), Windows Vista/7/8/10 (32-bit or 64-bit), Mac OS X, Linux processor up to 2.8GHz Intel Core 2 or higher, USB 2.0 port, CD-ROM |
| The kit includes | microscope digital camera with adapter (23.2mm), USB cable, installation CD with image editing software |
LCD screen specifications (Levenhuk D407 LCD)
| Megapixels | 2 |
| Max. resolution (still images) | 1920x1080px |
| Sensor | 1/2.8 |
| Mounting location | microscope’s arm |
| Pixel size | 2.9×2.9μm |
| Sensitivity | 2.0V/lux.sec@706nm |
| Spectral range | 380—700nm |
| Image format | *.jpg |
| Video format | *.mp4 |
| White balance | auto/manual |
| Exposure control | auto/manual |
| Software | embedded |
| Connection to a computer/external screen | no |
| Power supply | 5V, 1A via AC adapter |
The manufacturer reserves the right to make changes to the product range and specifications without prior notice.
Caution! Please remember that mains voltage in most European countries is 220—240V. If you want to use your device in a country with a different mains voltage standard, remember that use of a converter is absolutely necessary.
Care and maintenance
Never, under any circumstances, look directly at the Sun, another bright source of light or at a laser through this device, as this may cause PERMANENT RETINAL DAMAGE and may lead to BLINDNESS. Take necessary precautions when using the device with children or others who have not read or who do not fully understand these instructions. After unpacking your microscope and before using it for the first time check for integrity and durability of every component and connection. Do not try to disassemble the device on your own for any reason. For repairs and cleaning of any kind, please contact your local specialized service center. Protect the device from sudden impact and excessive mechanical force. Do not apply excessive pressure when adjusting focus. Do not overtighten the locking screws. Do not touch the optical surfaces with your fingers. To clean the device exterior, use only special cleaning wipes and special optics cleaning tools from Levenhuk. Do not use any corrosive or acetonebased fluids to clean the optics. Abrasive particles, such as sand, should not be wiped off lenses, but instead blown off or brushed away with a soft brush. Do not use the device for lengthy periods of time, or leave it unattended in direct sunlight.
Keep the device away from water and high humidity. Be careful during your observations, always replace the dust cover after you are finished with observations to protect the device from dust and stains. If you are not using your microscope for extended periods of time, store the objective lenses and eyepieces separately from the microscope. Store the device in a dry, cool place away from hazardous acids and other chemicals, away from heaters, open fire and other sources of high temperatures. When using the microscope, try not to use it near flammable materials or substances (benzene, paper, cardboard, plastic, etc.), as the base may heat up during use, and might become a fire hazard. Always unplug the microscope from a power source before opening the base or changing the illumination lamp. Regardless of the lamp type (halogen or incandescent), give it some time to cool down before trying to change it, and always change it to a lamp of the same type. Always use the power supply with the proper voltage, i.e. indicated in the specifications of your new microscope.
Plugging the instrument into a different power outlet may damage the electric circuitry of the microscope, burn out the lamp, or even cause a short circuit. Children should use the device under adult supervision only. Seek medical advice immediately if a small part or a battery is swallowed.
Battery safety instructions
Always purchase the correct size and grade of battery most suitable for the intended use. Always replace the whole set of batteries at one time; taking care not to mix old and new ones, or batteries of different types. Clean the battery contacts and also those of the device prior to battery installation. Make sure the batteries are installed correctly with regard to polarity (+ and −). Remove batteries from equipment that is not to be used for an extended period of time. Remove used batteries promptly. Never shortcircuit batteries as this may lead to high temperatures, leakage, or explosion. Never heat batteries in order to revive them. Do not disassemble batteries. Remember to switch off devices after use. Keep batteries out of the reach of children, to avoid risk of ingestion, suffocation, or poisoning. Utilize used batteries as prescribed by your country’s laws.
Levenhuk International Lifetime Warranty
All Levenhuk telescopes, microscopes, binoculars and other optical products, except for accessories, carry a lifetime warranty against defects in materials and workmanship. Lifetime warranty is a guarantee on the lifetime of the product on the market.
All Levenhuk accessories are warranted to be free of defects in materials and workmanship for six months from date of retail purchase. The warranty entitles you to free repair or replacement of the Levenhuk product in any country where a Levenhuk office is located if all warranty conditions are met.
For further details please visit our web site: www.levenhuk.com/warranty If warranty problems arise, or if you need assistance in using your product, contact the local Levenhuk branch
Levenhuk prepared slides sets
The Levenhuk slides sets include thoroughly prepared specimens of various biomaterials as well as blank slides and cover glasses for you to make your own specimens. Prepared slides, blank slides and cover slips can be used with any microscope model.
Levenhuk Inc. (USA): 928 E 124th Ave. Ste D, Tampa, FL 33612, USA, +1 813 468-3001, contact_us @levenhuk.com
Levenhuk Optics s.r.o. (Europe): V Chotejně 700/7, 102 00 Prague 102, Czech Republic, +420 737-004-919, [email protected]
Levenhuk® is registered trademark of Levenhuk, Inc.
© 2006—2021 Levenhuk, Inc. All rights reserved.
www.levenhuk.com
20210913

References
Доживотна гаранция на Levenhuk – Официален уебсайт на Levenhuk в България
Levenhuk optical instruments store | Levenhuk - best optical equipment
Levenhuk lifetime warranty details | Levenhuk - best optical equipment
Doživotní záruka společnosti Levenhuk – Oficiální webové stránky Levenhuk pro Českou republiku
Levenhuk Lebenslange Garantie – Die offizielle Website von Levenhuk in Deutschland
| Levenhuk, los mejores equipos ópticos
Levenhuk Lifetime Warranty – Levenhuk’s official website in Europe
A Levenhuk élettartamra szóló szavatossága – A Levenhuk hivatalos magyarországi weboldala
Gwarancja bezterminowa Levenhuk – Oficjalna witryna internetowa Levenhuk w Polsce
Поддержка - Гарантийное обслуживание Левенгук - Levenhuk Russia

























