Oritis HWHC-01 In-Wall Humidity Controller

Product Manual
Thank you for purchasing the Oritis In-Wall Humidity Controller. We will provide you with the best quality service.We are certain that you will find this is the most dependable and accurate unit available in the consumer market. In order to keep the humidity controller in the best working condition, it is recommended that you read this manual thoroughly to understand how to use advanced functions.
The Ortis Humidity Sensor uses a microprocessor combined with the most advanced digital sensing technology,The Sensor and Fan Control automatically detects excess humidity in a room and activates the ventilation fan to lessen condensation which helps reduce mold and mildew. and displays real-time humidity on the LCD screen to reduce energy consumption. It is easy to view and manage the humidity level of the house area prone to condensation and mold. It has multiple modes such as automatic mode, manual mode and engineer mode. The sensor can replace a single pole switch and can be used with most bathrooms or ventilation fans or humidifiers. It is designed to fit standard wall-mounted boxes and requires a neutral wire to operate.
Safety and Precautions
- Avoid fire, electric shock or death: turn off the power on the circuit breaker or fuse, and test that the power is off before wiring!
- To avoid personal injury or property damage, do not install control sockets or load exceeding the specified rating.
- Install and/or use in accordance with electrical codes and regulations.
- If you are not sure about any part of these instructions, please consult an electrician.
- Only use a damp cloth to gently clean the outer surface. Do not use soap or cleaning fluid.
- There are no user-serviceable components. Do not attempt to repair or repair.
- Only use this equipment with copper wire or copper-clad wire.
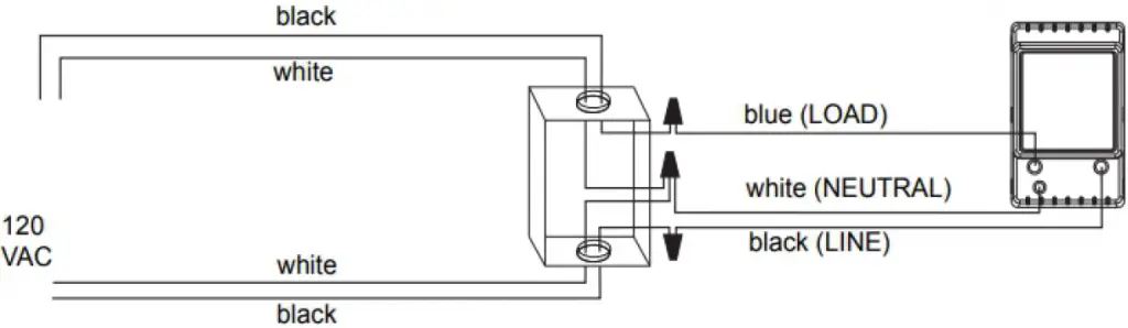
Installation Wiring Diagram

Get to Know the Controller

Manual
Up/Down Button
In the normal state, press and hold Up/Down Button for 3 seconds, the controller will enter the manual off mode(more detail on5.5); press Up/Down Button again, the controller will return to normal state.
Mode Button
In normal On state, press M, the controller will run manual on mode, press M again, the controller will return automatic mode.
The controller default mode is automatic mode.
In normal state, hold press for 3 seconds, the controller will enter to setting menu mode. Press button to scroll down the menu item and save the parameters of the previous menu item. Press Up/Down button to change the current setting value. If in the setting state, there is no button operation within 30 seconds or long press button for 3 seconds, exit and save the setting state, return to normal operation mode.
Setting mode Flow Chart:

Setting Menu Instruction:
Code | Function | Setting Range | Default Setting |
01 | Set humidity value | 30%~80% | 55% |
02 | Set Humidity difference | 6%~20% | 10% |
03 | Set automatic minimum runtime | 1min~60min | 1min |
04 | Set manual on time | 1min~60min | 1min |
05 | Set manual off time | 4h~16h | 8h |
06 | Set humidity calibration value | -10%~10% | 0% |
07 | Dehumidification/Humidification mode | 1 or 2 | Dehumidification mode |
Lock Button
In normal state, simultaneously hold press both M button and Up/Down button for 3 seconds, the button will be lock; press both M button and Up/Down button again for 3 seconds, the button will be unlock.
Manual and Automatic Mode
Automatic Mode
In automatic mode, the controller turns the load on and off according to the humidity value you set.And the fan is turned on for at least 1min (you can set it for 1-60 minutes). Generally, the main interface of the controller is in automatic mode, and the humidity you set and the current ambient humidity will be displayed on the LCD screen.
Manual Mode
In manual mode, the controller will turn on the load immediately. And the fan is turned on for at least 1min(you can set it for 1-60 minutes). When the controller is in manual mode, this
icon appears. The humidity detection area displays the current humidity, and the humidity setting area displays ’—’, after running for the time you set, it will return to automatic mode.
Backlight
The screen will lit on for 8 seconds when you press any button.
Key Lock
When the keys are locked, a symbol will appear on the screen, In this state, pressing any button will turn on the backlight, and other functions cannot be used. The buttons must be unlocked for normal use.
Manual Off Mode
In manual mode, the controller will continue to monitor the humidity level, and it will always turn off the load . It will automatically return to normal automatic state after running for the time you set.
Humidity Calibration
When the measured humidity deviates from the standard humidity, the humidity calibration function can be used to make the measured value of the instrument consistent with the standard value. The calibrated humidity=the measured humidity +the calibration value.
Dehumidification/Humidification Mode
Dehumidification Mode
When controller run in automatic state, In Dehumidifition mode, if the current humidity >=(the setting humidity +(different value)/2), the load will be turned on;and the fan will turn on at least 1min(you can set it for 1-60min); and when the current humidity <=(the setting humidity-(different value)/2), the load will be turned off. The icon appears when the controller is in dehumidifition mode.
Humidification Mode
When controller run in automatic state, In humidifition mode, if the current humidity <=(the setting humidity – (different value)/2), the load will be turned on; when the current humidity >=(the setting humidity+(different value)/2), the load will be turned off, The icon appears when the controller is in humidifition mode.
Specifications
- Input voltage: 110V/220V
- Power: 1800W, 3/4Hp
Limited Warranty
If you have any problems installing or using this controller, please carefully and thoroughly review the instruction manual. If you require assistance, please write us to [email protected]. We will reply your emails in 24 hours from Monday through Saturday.
Ortis warrants this controller for two years from the date of purchase when operated under normal condition by the original purchaser(not transferable), against defects caused by Ortis’s workmanship or materials . This warranty is limited to the repair or replacement, at Oritis’s discretion, of all or part of the controller. The original receipt is required for warranty purposes.




















