NATIONAL INSTRUMENTS NI-7932R Controller for FlexRIO

The NI-7932R is a controller for FlexRIO™, a high-performance, reconfigurable I/O platform for LabVIEW FPGA. This device can be used for applications such as custom protocol communication, high-speed data acquisition, and real-time signal processing.
Getting Started
The Getting Started Guide provides instructions on how to begin using the NI-7932R. The guide includes information on connecting the device to a host computer, installing the necessary software, and configuring the system in Measurement & Automation Explorer (MAX). Additionally, the guide provides information on programming options and adding the device to a LabVIEW project.
Product Documentation
| Document | Location | Description |
|---|---|---|
| Getting Started Guide | Available from the Start menu for your controller for and at ni.com/manuals. FlexRIO | Provides instructions on how to begin using the NI-7932R. |
| Specifications document for your controller for FlexRIO | Available from the Start menu and at ni.com/manuals. | Contains specifications for the NI-7932R controller for FlexRIO. |
| Getting started guide for your adapter module | Available from the Start menu and at ni.com/manuals. | Provides instructions on how to begin using the FlexRIO adapter module. |
| Specifications document for your adapter module | Available from the Start menu and at ni.com/manuals. | Contains specifications for the FlexRIO adapter module. |
| LabVIEW FPGA Module Help | Embedded in LabVIEW Help and at ni.com/manuals. | Contains information about the basic functionality of the LabVIEW FPGA Module. |
| Real-Time Module Help | Embedded in LabVIEW Help and at ni.com/manuals. | Contains information about realtime programming concepts, step-by-step instructions for using LabVIEW with the Real-Time Module, reference information about Real-Time Module VIs and functions, and information about LabVIEW features on real-time operating systems. |
| FlexRIO Help | Available from the Start menu and at ni.com/manuals. | Contains information about the FPGA module front panel connectors and I/O, controller for FlexRIO front panel connectors and I/O, programming instructions, and adapter module component-level IP (CLIP). |
| FlexRIO Adapter Module Development Kit User Manual | Available from the Start menu at ni.com/manuals. | Contains information about how to develop custom IP for the FlexRIO adapter module. |
Product Usage Instructions
- Connect the NI-7932R to the host computer using the provided cables.
- Install the FlexRIO Adapter Module into the target system.
- Configure the system in Measurement & Automation Explorer (MAX) by following the instructions in the Getting Started Guide.
- Set a system password for added security, if desired.
- Install the necessary software on the NI-7932R by following the instructions in the Getting Started Guide.
- Add the NI-7932R to a LabVIEW project using the provided instructions.
- Add a FlexRIO Adapter Module to the target system using the provided instructions.
- Select programming options based on your application needs. Refer to the FlexRIO Help documentation for programming instructions.
FlexRIO Documentation
Table 1: FlexRIO Documentation Locations and Descriptions
| Document | Location | Description |
| Getting started guide for your controller for FlexRIO | Available from the Start menu and at ni.com/manuals. | Contains installation instructions for your FlexRIO system. |
| Specifications document for your controller for FlexRIO | Available from the Start menu and at ni.com/manuals. | Contains specifications for your controller for FlexRIO. |
| Getting started guide for your adapter module | Available from the Start menu and at ni.com/manuals. | Contains signal information, examples, and CLIP details for your adapter module. |
| Specifications document for your adapter module | Available from the Start menu and at ni.com/manuals. | Contains specifications for your adapter module. |
| LabVIEW FPGA Module Help | Embedded in LabVIEW Help and at ni.com/manuals. | Contains information about the basic functionality of the LabVIEW FPGA Module. |
| Real-Time Module Help | Embedded in LabVIEW Help and at ni.com/manuals. | Contains information about real-time programming concepts, step-by-step instructions for using LabVIEW with the Real-Time Module, reference information about Real-Time Module VIs and functions, and information about LabVIEW features on real-time operating systems. |
| FlexRIO Help | Available from the Start menu and at ni.com/manuals. | Contains information about the FPGA module front panel connectors and I/O, controller for FlexRIO front panel connectors and I/O, programming instructions, and adapter module component-level IP (CLIP). |
| FlexRIO Adapter Module Development Kit User Manual | Available from the Start menu at Start»All Programs»National Instruments»NI FlexRIO»NI FlexRIO Adapter Module Development Kit» Documentation. | Contains information about how to create custom adapter modules for use with FlexRIO FPGA modules. |
| LabVIEW Examples | Available in NI Example Finder. In LabVIEW, click Help»Find Examples»Hardware Input and Output»FlexRIO. | Contains examples of how to run FPGA VIs and Host VIs on your device. |
| IPNet | Located at ni.com/ipnet. | Contains LabVIEW FPGA functions and intellectual property to share. |
| FlexRIO product page | Located at ni.com/flexrio. | Contains product information and data sheets for FlexRIO devices. |
Safety Guidelines
Caution: You can impair the protection provided by the NI-7932R if you use it in a manner not described in this document.
Electromagnetic Compatibility Guidelines
This product was tested and complies with the regulatory requirements and limits for electromagnetic compatibility (EMC) stated in the product specifications. These requirements and limits provide reasonable protection against harmful interference when the product is operated in the intended operational electromagnetic environment. This product is intended for use in industrial locations. However, harmful interference may occur in some installations, when the product is connected to a peripheral device or test object, or if the product is used in residential or commercial areas. To minimize interference with radio and television reception and prevent unacceptable performance degradation, install and use this product in strict accordance with the instructions in the product documentation. Furthermore, any changes or modifications to the product not expressly approved by National Instruments could void your authority to operate it under your local regulatory rules.
Caution: To ensure the specified EMC performance, operate this product only with shielded cables and accessories. The DC power input cables and optical SFP+ cables may be unshielded.
Caution: To ensure the specified EMC performance, you must use an isolated cable with the SFP+ ports.
Caution: To ensure the specified EMC performance, the length of any cable connected to the TRIG ports and REF CLK ports must be no longer than 3 m (10 ft). The length of copper cables connected to the SFP+ ports must be no longer than 3 m (10 ft). The length of cables connected to the USB device ports or host ports must be no longer than 30 m (100 ft). The lengths of Ethernet cables and optical SFP+ cables are not limited.
Caution: The USB device port is intended only for use in device configuration, application deployment, debug, and maintenance.
Verifying the System Requirements
To use the NI-7932R, your system must meet certain requirements. For more information about minimum system requirements, recommended system, and supported application development environments (ADEs), refer to the readme, which is available on the software media or online at ni.com/updates.
What You Need to Get Started
- The NI-7932R shipping kit, which includes the following components:
- The NI-7932R device
- FlexRIO Support DVD
- Note FlexRIO Support 15.1 is the earliest supported driver for the NI-7932R.
- NI-7932R Getting Started Guide (this document)
- Power screw terminal connector plug
- A to Mini-B device port USB cable
- A host computer running Windows, with NI software installed in the following order: Note Visit ni.com/info and enter the Info Code rdsoftwareversion to determine which software versions you need to use the NI-7932R and supported FlexRIO adapter modules.
- LabVIEW
- LabVIEW Real-Time
- LabVIEW FPGA
- FlexRIO Support1
- A DC power supply as described in the NI-7932R Specifications
- A FlexRIO adapter module or custom adapter module (optional)
- A number 2 Phillips screwdriver
- A number 1 Phillips screwdriver
- A small flat-blade screwdriver
- Straight through shielded Ethernet cable (if connecting to a network) or crossover shielded Ethernet cable (if connecting directly to a PC)
Unpacking the Kit
Caution: To prevent electrostatic discharge (ESD) from damaging the device, ground yourself using a grounding strap or by holding a grounded object, such as your computer chassis.
- Touch the antistatic package to a metal part of the computer chassis.
- Remove the device from the package and inspect the device for loose components or any other sign of damage.
- Caution: Never touch the exposed pins of connectors.
- Note: Do not install a device if it appears damaged in any way.
- Unpack any other items and documentation from the kit.
- Store the device in the antistatic package when the device is not in use.
Preparing the Environment
Ensure that the environment you are using the NI-7932R in meets the following specifications.

Note: Refer to the NI-7932R Specifications at ni.com/manuals for complete specifications.
Caution: Clean the hardware with a soft, nonmetallic brush. Make sure that the hardware is completely dry and free from contaminants before returning it to service.
Wiring Power
Wiring Power to the NI-7932R
The NI-7932R requires a 9 V to 30 V external power supply that meets the specifications in the NI-7932R Specifications. The NI-7932R filters and regulates the supplied power and provides power for the I/O modules.
Note: You can latch the power plug to the NI-7932R using two screws tightened to 0.20 to 0.25 N · m (1.8 to 2.2 lb · in.) of torque.
The maximum wire gage accepted by the power connector plug is 16 AWG. You must use a stripped wire length of 10 mm (.394 in). When the POWER LED on the front panel is lit green, the device is powered. The NI-7932R has reverse-voltage protection. Complete the following steps to connect a power supply to the NI-7932R.
- Ensure the power source is turned off.
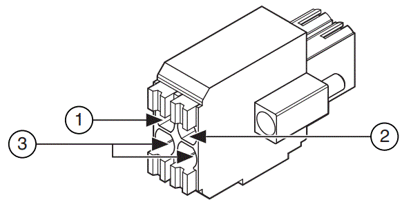
- Connect a positive wire to the positive terminal of the power connector plug, and connect a negative wire to the negative terminal of the power connector plug.

- Positive terminal
- Negative terminal
- No connect
- Install the power connector on the front panel of the NI-7932R.
- Turn on the external power source(s).
Powering on the NI-7932R
When you apply power for the first time to the NI-7932R, the controller boots into safe mode. The POWER LED illuminates, the STATUS LED illuminates briefly, and then the STATUS LED blinks twice every few seconds. After you install software on the controller, subsequent reboots will boot the controller into the NI Linux Real-Time operating system. You can optionally configure the NI-7932R to launch an embedded stand-alone LabVIEW Real-Time application each time you boot the controller.
STATUS LED
The STATUS LED is off during normal operation. The NI-7932R indicates specific error conditions by flashing the STATUS LED a certain number of times every few seconds, as shown in the following table.
| LED State | Indication |
| 2 flashes every few seconds | There is no software installed, which is the out-of-box state, or the controller has detected an error in its software. An error can occur when an attempt to upgrade the software is interrupted. Refer to the MAX Help for information about reinstalling software on the controller. |
| 3 flashes every few seconds | The controller is in safe mode. Refer to the MAX Help for information about safe mode. |
| 4 flashes every few seconds | The software has crashed twice without rebooting or cycling power between crashes. This usually occurs when the controller runs out of memory. Review your Real-Time VI and check the memory usage. Modify the VI as necessary to solve the memory usage issue. |
| Continuously flashing | The controller has not booted into NI Linux Real-Time. The controller either booted into an unsupported operating system, was interrupted during the boot process, or detected an unrecoverable software error. |
| Solid | The controller is booting up. |
| Continuously flashing | This indicates a hardware error. An internal power supply has failed. Check front-panel I/O and adapter module connections for shorts. Remove any shorts and power cycle the controller. If the problem persists, contact National Instruments. |
| Off | Normal operation. |
Connecting
Connecting the NI-7932R to the Host Computer
Complete the following steps to connect the NI-7932R to the host computer using the USB device port.
- Power on the host computer.
- Connect the NI-7932R to the host computer using the USB A-to-B cable.
Note: Alternatively, you can use the RJ-45 Ethernet port to connect the NI-7932R to the host computer.
The device driver software automatically detects the NI-7932R. If the device driver software does not detect the NI-7932R, verify that you installed the appropriate NI software in the correct order on the host computer.
Tip: You can also use the Ethernet port to connect directly to the host computer or network. Refer to the user manual on ni.com/manuals for more information about Ethernet connections.
Installing the FlexRIO
Installing the FlexRIO Adapter Module
Skip this section if you are not using a FlexRIO adapter module.
- Gently insert the guide pins and the high-density card edge of the FlexRIO adapter module into the corresponding connectors of the NI-7932R.

- The connection may be tight, but do not force the adapter module into place.
- Tighten the captive screws on the FlexRIO adapter module to secure it to the NI-7932R.
- The following figure shows the NI-7932R with the FlexRIO adapter module connected.
Refer to the getting started guide for your adapter module for more information about your adapter module, including programming information.
Configuring the System
Configuring the System in Measurement & Automation Explorer (MAX)
After connecting the NI-7932R to the host computer, complete the following steps to configure the system for the first time in MAX.
- Launch MAX on the host computer.
- Expand Remote Systems in the MAX configuration tree and select the system. MAX lists the system as the model name followed by the serial number, such as NI-7932R-030521C9.
Setting a System Password
Complete the following steps to set a system password.
Note: Setting a system password is optional.
Note: The default username for the NI-7932R is admin. There is no default password for the NI-7932R, so you must leave the password field blank when logging in until you set a system password.
- Right-click your system and select Web Configuration.
- The NI Web-Based Configuration and Monitoring utility opens in your default browser and is where you set the password. If you have not installed Microsoft Silverlight, NI Web-based Configuration & Monitoring prompts you to do so.
- Enter a unique name for your system in the Hostname field.
- Click the Security Configuration icon.
- Click Login.
- In the Login dialog box, enter the username admin and leave the password field blank.
- Click OK.
- Click Change Password.
- Enter and re-enter a new password.
- Click OK.
- Click Save.
- Click OK to confirm you are changing the password.
Caution: NI cannot recover lost system passwords. If you forget the password, you must contact NI and reformat the controller.
Installing Software
Installing Software on the NI-7932R
- Open Measurement & Automation Explorer (MAX).
- Expand the system under Remote Systems by clicking the arrow beside it.
- Select Software.
- Click Add/Remove Software at the top of the Software tab to launch the LabVIEW
- Real-Time Software Wizard.
- Note: A login window appears if you set a system password.
- Select a recommended software set to install.
- Click Next.
- The recommended software set is preselected from the list of software add-ons. Check any additional software add-ons you want. The System State Publisher, for example, makes monitoring system performance simple.
- Note: You can use the LabVIEW Real-Time Software Wizard to install more software add-ons later. The FlexRIO 15.0 Recommended Software Set is enough to get started.
- Click Next.
- Review the summary of software to install. Click Next to begin the update.
- Wait for the installation to finish, and then click Finish.
Adding the NI-7932R
Adding the NI-7932R to a LabVIEW Project
- Launch LabVIEW. The LabVIEW Getting Started window appears.
- Click Create Project or open an existing project.
- Right-click the project root in the Project Explorer window and select New»Targets and Devices from the shortcut menu to display the Add Targets and Devices dialog box.
- If the hardware is connected to the host, select Existing target or device. Select the NI-7932R under Real-Time FlexRIO and click OK.
- If the hardware is not connected to the host, select New target or device. Select the NI-7932R under Real-Time FlexRIO and click OK.
- Right-click the target and select New»FPGA Target.
- The FPGA target appears in the project under the Real-Time target.
Adding a FlexRIO Adapter Module to the Target
Skip this section if you are not using an adapter module.
- Expand the FPGA target by clicking the + button, then right-click IO Module and select Properties.
- Select the General category and check the Enable IO Module box.
- Select your I/O module from the IO Modules list, and select the CLIP you want to use from the Component Level IP box.
- Click OK.
Programming Options
Refer to the following table for information about how to program the NI-7932R.
| Component | Programming Option(s) |
| Real-Time controller | LabVIEW Real-Time or C/C++ Development Tools for NI Linux Real-Time, Eclipse Edition. |
| FPGA | LabVIEW FPGA |
Related Information
- For more information about programming with LabVIEW Real-Time, refer to the NI-7931R/ 7932R/7935R User Manual.
- For more information about programming with C/C++ development tools, refer to the Getting Started with C/C++ Development Tools for NI Linux Real-Time, Eclipse Edition tutorial.
Programming with LabVIEW
The Controller for FlexRIO examples provide a starting point for programming with LabVIEW. To access these examples, open LabVIEW and select Help»Find Examples» Hardware Input and Output»Controller for FlexRIO. For more detailed instructions about programming the NI-7932R with LabVIEW, refer to the NI-7931R/7932R/7935R User Manual.
Text-based Programming
- You can target the NI-7932R Linux Real-Time operating system from text-based development environments such as C and C++.
Removing the Adapter Module
Complete the following steps to remove an adapter module from the NI-7932R.
- Disconnect all cables to the adapter module.
- Power off the NI-7932R.2
- Unscrew the adapter module.
- Remove the adapter module.
Troubleshooting
Troubleshooting the NI-7932R
Why Can’t the NI-7932R Communicate with the Network?
- Connect cables from your device to the host computer.
- If you are using the USB port, use a USB cable to connect the NI-7932R USB device port to a host computer.
- The USB driver creates a virtual network interface and assigns an IP address to the NI-7932R in the format of 172.22.11.x.
- If you are using the ethernet port, use an ethernet to connect the ethernet port to the host computer.
- In MAX, expand your system under Remote Systems.
- Select the Network Settings tab to configure the IP and other network settings.
- (Optional) Use the RJ-45 Ethernet port 1 to reconnect the NI-7932R to the host computer.
- The NI-7932R attempts to initiate a DHCP network connection at powerup.
- If the NI-7932R cannot contain an IP address, it connects to the network with a link-local IP address with the form 169.254.x.x. The host computer communicates with the NI-7932R over a standard Ethernet connection.
Why Doesn’t the Device Appear in MAX?
If you cannot find the NI-7932R in MAX, complete the following steps.
- Ensure you have the correct version of FlexRIO Support installed on the host computer.
- Check the USB cable connections at the NI-7932R and host computer. Check the Ethernet cable connections at the host computer and router.
- If you have network firewalls or other security software enabled, try temporarily turning them off. You may also need to add an exception for MAX. In Windows 7, select Start» Control Panel»System and Security»Windows Firewall»Allow a program through Windows Firewall. Click Allow another program, select Measurement & Automation, click Add, then click OK.
- Ensure that UDP port 44525 is open to communication on the host computer. If you are using an intelligent switch on the network, ensure that it is not disabling UDP port 44525.
- Hold down the RESET button for 5 seconds to reboot the target into safe mode. This prevents a real-time app from running. Sometimes a malfunctioning real-time app prevents network communication.
- Check the Device Manager to ensure the National Instruments USBLAN adapter is recognized. In Windows 7, select Start»Control Panel»Device Manager»Network adapters»National Instruments»USBLAN adapter. If the USBLAN adapter is not recognized, you must reinstall FlexRIO Support.
- Ensure that the Ethernet cable is connected correctly.
Appendix
Front Panel
NI-7932R Front Panel
The following figure shows the NI-7932R front panel connectors, buttons, and LEDs.

- TRIG
- REF CLK
- Storage (μSD card)
- USB device port
- USB host
- 1 Gigabit Ethernet
- LED indicators
- Reset
- DC power source
- FlexRIO adapter module connector
- Port 0/Port 1 (SFP+ connectors)
LED Indicators
- The following figure shows the NI-7932R LEDs in more detail.
NI-7932R Module Signals

- The following figure shows the available signals on the NI-7932R.


Worldwide Support and Services
- The National Instruments website is your complete resource for technical support. At ni.com/support, you have access to everything from troubleshooting and application development self-help resources to email and phone assistance from NI Application Engineers.
- Visit ni.com/services for NI Factory Installation Services, repairs, extended warranty, and other services.
- Visit ni.com/register to register your National Instruments product. Product registration facilitates technical support and ensures that you receive important information updates from NI.
- A Declaration of Conformity (DoC) is our claim of compliance with the Council of the European Communities using the manufacturer’s declaration of conformity. This system affords the user protection for electromagnetic compatibility (EMC) and product safety. You can obtain the DoC for your product by visiting ni.com/certification. If your product supports calibration, you can obtain the calibration certificate for your product at ni.com/calibration.
- National Instruments corporate headquarters is located at 11500 North Mopac Expressway, Austin, Texas, 78759-3504. National Instruments also has offices located around the world.
- For telephone support in the United States, create your service request at ni.com/support or dial 1 866 ASK MYNI (275 6964). For telephone support outside the United States, visit the Worldwide Offices section of ni.com/niglobal to access the branch office websites, which provide up-to-date contact information, support phone numbers, email addresses, and current events.
Where to Go Next
Refer to the following figure for information about other product tasks and associated resources for those tasks.

DISCOVER
- Support
- FlexRIO
- Services
- Updates
Located online at ni.com/manuals
Located using the NI Example Finder
Refer to the NI Trademarks and Logo Guidelines at ni.com/trademarks for information on NI trademarks. Other product and company names mentioned herein are trademarks or trade names of their respective companies. For patents covering NI products/technology, refer to the appropriate location: Help» Patents in your software, the patents.txt file on your media, or the National Instruments Patent Notice at ni.com/patents. You can find information about end-user license agreements (EULAs) and third-party legal notices in the readme file for your NI product. Refer to the Export Compliance Information at ni.com/legal/export-compliance for the NI global trade compliance policy and how to obtain relevant HTS codes, ECCNs, and other import/export data. NI MAKES NO EXPRESS OR IMPLIED WARRANTIES AS TO THE ACCURACY OF THE INFORMATION CONTAINED HEREIN AND SHALL NOT BE LIABLE FOR ANY ERRORS. U.S. Government Customers: The data contained in this manual was developed at private expense and is subject to the applicable limited rights and restricted data rights as set forth in FAR 52.227-14, DFAR 252.227-7014, and DFAR 252.227-7015.
© 2015 National Instruments. All rights reserved.
© National Instruments
References
Engineer Ambitiously - NI
Engineer Ambitiously - NI
Calibration Services - NI
Product Certifications - NI
What Is FlexRIO? - NI
Using Info Codes - NI
Support - NI
Product Documentation - NI
Contact Us - NI
National Instruments Patents - NI
Log In - National Instruments
NI Services - NI
Support - NI
NI Trademarks and Logo Guidelines - NI
Software and Driver Downloads - NI
Calibration Services - NI
Product Certifications - NI
What Is FlexRIO? - NI
Using Info Codes - NI
Support - NI
Product Documentation - NI
Product Documentation - NI
Contact Us - NI
Log In - National Instruments
NI Services - NI
Support - NI
Archived: Getting Started with C/C++ Development Tools for NI Linux Real-Time, Eclipse Edition - NI
Software and Driver Downloads - NI
NI-7932 National Instruments Controller for FlexRIO | Apex Waves

















