MX19181-4-P
OPERATION MANUAL

MADE IN CHINA
Assembly & Installation Instructions
Dear Customer:
Thank you for your business!
If you have any questions or problems, please send us an email to [email protected] or call us at 469-312-6428. We will do everything possible to make you completely satisfied with your purchase.
For video instruction, please search
” MX19181-4-P” on Youtube.com
Product reviews help future customers to make their purchase decision. You are encouraged to share your experience by leaving a short product review on the platform where you bought this product.
Thank you!
Zgear Team
Warning: If any special control devices are used with this fixture, follow the instructions carefully to assure full compliance with N.E.C. requirements. If there are any questions, contact a qualified electric contractor.
Warning: California Residents Proposition 65 This product contains lead, a chemical known to the state of California to cause cancer and birth defects or other reproductive harm. Do not place the product in your mouth. Wash your hands after handling this product.
Caution: It is highly recommended to get an electrician to install this light. Please make sure to turn the electricity off at the main circuit breaker before beginning installation. All glass is fragile. Use care when handling glass component(s)and/or lamp(s).

Step 15: 10A. Lock the crossbar to the junction box of the ceiling by using 2 pcs of 5/32 screws in the accessories bag.
10B.Connect the wires. The hot/positive wire (+) has an “L” label on it. The other one is the negative wire (-). And the bare cooper is the ground wire.
10C.Fix the cross bar to the wall with Crossbar Screws
Step 14: Lock together
Step 16: Install 4 E26 bulbs (Not included).
Light Bulb
(Not included)
![]()
E26
(Rated 110-130V/60Hz, bulb 60W maximum.)
WIRE CONNECTION DIAGRAM
Wires meeting safety standards are required to connect the electrical circuit.
CAUTION: Risk of fire
Please read all instructions carefully. Before you proceed to install, make sure that the power supply is turned off and remains off until installation is completed.
PARTS INCLUDED
Code | Part Description | QTY |
| A | Mounting Bracket | 1 PCS |
B | Mounting Screw | 2 PCS |
| C | Canopy | 1 PCS |
D | Slings Chain | 1 PCS |
| E | Sling Rod | 1 PCS |
F | Connector | 1 PCS |
| G | Small iron frame1 | 2 PCS |
H | Long Iron Column | 4 PCS |
| I | Large Iron Frame | 2 PCS |
J | Short Iron Column | 4 PCS |
| K | Central Pipe | 1 PCS |
L | Lamp Holder Group | 4 PCS |
| M | Lamp Plate | 1 PCS |
N | Round Ball | 1 PCS |
| O | Flat Head Screws | 36 PCS |
Assembly and Installation Steps

Step 1: The top iron frame is connected with 4 side iron posts with screws
1. Long Iron pillar
2. Top Square frame

Step 2: Use the connected iron column and the bottom iron frame with screws to connect
1. Iron pillar
2. Bottom Square frame

Step 3: After the installation is complete, as shown above
1. Central iron frame

Step 4: Installation of 4 iron posts connected to the square frame
1. Iron pillar
2. Top Square frame

Step 5: Attach the completed top square frame to the bottom square frame with screws and the installation is complete.
1. Iron pillar
2. Bottom Square frame

Step 6: Open the lid

Step 7: Install 4 light arms

Step 8: Close the lid and twist on the connector

Step 9: Installation of the central tube

Step 10: The center iron frame and the outer frame iron frame are fixed with screws, and the light body frame is all installed.
1. Outer frame iron framer

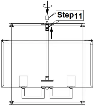
Step 11: Chandelier body and frame connection

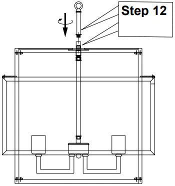
Step 12: Installation of boom and light body connection

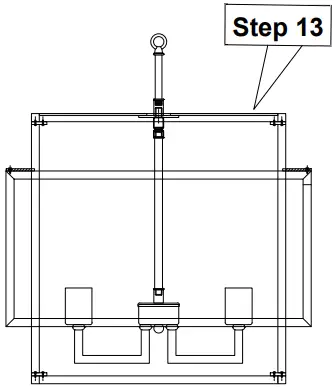
Step 13: The installation is all done, as shown in the picture









