velleman LEDA03RC Remote Controller
Introduction
To all residents of the European Union Important environmental information about this product This symbol on the device or the package indicates that disposal of the device after its lifecycle could harm the environment. Do not dispose of the unit (or batteries) as unsorted municipal waste; it should be taken to a specialized company for recycling. This device should be returned to your distributor or to a local recycling service. Respect the local environmental rules.
If in doubt, contact your local waste disposal authorities.
Thank you for buying an HQPOWER product! Please read the manual thoroughly before bringing this device into service. If the device was damaged in transit, don’t install or use it and contact your dealer.
Safety Instructions
Keep this device away from children and unauthorized users.
General Guidelines
Refer to the Velleman Service and Quality Warranty on the last pages of this manual.
| LEDA03RC | Rev. 01 | |
![]() | Indoor use only. Keep this device away form rain, moisture, splashing and dripping liquids. | |
![]() | Keep this device away from dust and extreme heat. | |
![]() | Protect this device from shocks and abuse. Avoid brute force when operating the device. | |
- Damage caused by user modifications to the device is not covered by the warranty.
- Only use the device for its intended purpose. Using the device in an unauthorised way will void the warranty.
- Damage caused by disregard of certain guidelines in this manual is not covered by the warranty and the dealer will not accept responsibility for any ensuing defects or problems.
Overview and use
Refer to the illustration on page 2 of this manual.
| 1 | hold colour Press any button to get the corresponding colour output. |
| 2 | dimmer control Increase intensity. Decrease intensity. |
| 3 | ON/OFF Enter/exit the IR control mode. |
| 4 | FLASH 5-speed colour step. Click again for desired speed. |
| 5 | STROBE 5-speed colour strobe. Click again for desired speed. |
| 6 | FADE 5-speed colour fade. Click again for desired speed. |
| 7 | SMOOTH 5-speed cross fade. Click again for desired speed. |
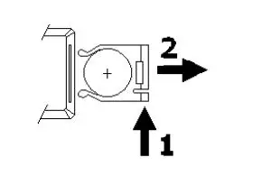
Battery
- The remote control uses 1 battery type 3V lithium CR2025 battery (incl.).
- To (re)place the battery, press on the side of the battery cover [1] and pull t2] to slide it open.
- Insert the battery with the right polarity and close the battery Compartment by pushing it back into the housing of the remote control until it snaps into place.
WARNING:
Dispose of batteries in accordance with local regulations. Keep batteries away from children.
Technical specifications
| power supply | 230VAC / 50Hz |
| dimensions | 206 x 149 x 44mm |
| weight | 1.08kg |
Use this device with original accessories only. Velleman nv cannot be held responsible in the event of damage or injury resulted from (incorrect) use of this device. For more info concerning this product, please visit our website www.hqpower.eu. The information in this manual is subject to change without prior notice.
COPYRIGHT NOTICE
This manual is copyrighted. The copyright to this manual is owned by Velleman nv. All worldwide rights reserved. No part of this manual may be copied, reproduced, translated or reduced to any electronic medium or otherwise without the prior written consent of the copyright holder.
Velleman® Service and Quality Warranty
Velleman® has over 35 years of experience in the electronics world and distributes its products in more than 85 countries. All our products fulfil strict quality requirements and legal stipulations in the EU. In order to ensure the quality, our products regularly go through an extra quality check, both by an internal quality department and by specialized external organisations. If, all precautionary measures notwithstanding, problems should occur, please make appeal to our warranty (see guarantee conditions).
General Warranty Conditions Concerning Consumer Products (for EU):
- All consumer products are subject to a 24- month warranty on production flaws and defective material as from the original date of purchase.
- Velleman® can decide to replace an article with an equivalent article, or to refund the retail value totally or partially when the complaint is valid and a free repair or replacement of the article is impossible, or if the expenses are out of proportion. You will be delivered a replacing article or a refund at the value of 100% of the purchase price in case of a flaw occurred in the first year after the date of purchase and delivery, or a replacing article at 50% of the purchase price or a refund at the value of 50% of the retail value in case of a flaw occurred in the second year after the date of purchase and delivery.
Not covered by warranty:
- all direct or indirect damage caused after delivery to the article (e.g. by oxidation, shocks, falls, dust, dirt, humidity…), and by the article, as well as its contents (e.g. data loss), compensation for loss of profits;
frequently replaced consumable goods, parts or accessories such as batteries, lamps, rubber parts, drive belts… (unlimited list); - flaws resulting from fire, water damage, lightning, accident, natural disaster, etc. ..;
flaws caused deliberately, negligently or resulting from improper handling, negligent maintenance, abusive use or use contrary to the manufacturer’s instructions; - damage caused by a commercial, professional or collective use of the article (the warranty validity will be reduced to six (6) months when the article is used professionally);
- damage resulting from an inappropriate packing and shipping of the article;
- all damage caused by modification, repair or alteration performed by a third party without written permission by Velleman.
- .Articles to be repaired must be delivered to your Velleman® dealer, solidly packed (preferably in the original packaging), and be completed with the original receipt of purchase and a clear flaw description.
- Hint: In order to save on cost and time, please reread the manual and check if the flaw is caused by obvious causes prior to presenting the article for repair. Note that returning a non-defective article can also involve handling costs.
- Repairs occurring after warranty expiration are subject to shipping costs.
- The above conditions are without prejudice to all commercial warranties.
The above enumeration is subject to modification according to the article (see article’s manual).























