
Aluminium slats
Manual 
116-101 Aluminium Slats
Manual aluminium slats
The package contains 5 pcs. aluminum slats 100 x 10,4 cm. This will cover 50 cm in height. If you want 1 meter height you have to buy 2 packages or if you want 1,5 meter height, please buy 3 packages.
The package includes 20 pcs. spacers, if you want to design your own fence with space between the slats. Also 4 pcs stop//distance blocks and a top/completion list.
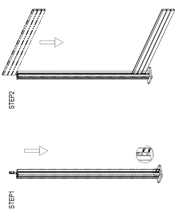
Posts you have to buy separate neither in 108 cm height (116-048) or in 158 cm height (116-049) Follow the manual step by step as shown at the pictures below.





www.hortus-living.dk
Imported by / Importeret af
NSH NORDIC A/S
Virkefeltet 4 8740 Braedstrup
Aluminium slats: Art. no. 116-101_116-104
Aluminium posts: Art. no. 116-048 _ 116-049 (not included)
Denmark Made in PRC


















