VIVA RAILINGS SLAT Aluminum Picket System

SLATTM ALUMINUM PICKET SYSTEM
The SLAT Railing System is an array type aluminum railing that features vertical slats installed at varying rotational angles, creating a visual play of light and shadow. This design consists of a series of aluminum slats arranged in a linear fashion, offering a sleek and modern look. Depending on the array you choose for your project application, you can create an element of privacy for onlookers while still having visibility from inside out. By fabricating the slats at different angles, it is possible to create a wide range of visual effects, from subtle and understated to bold and eye-catching. VIVA SLAT Systems unique design adds a modern and visually striking element to any building or outdoor space.
SLAT- TECHNICAL DATA
| Component | Material | Finish | Size/Spacing |
|---|---|---|---|
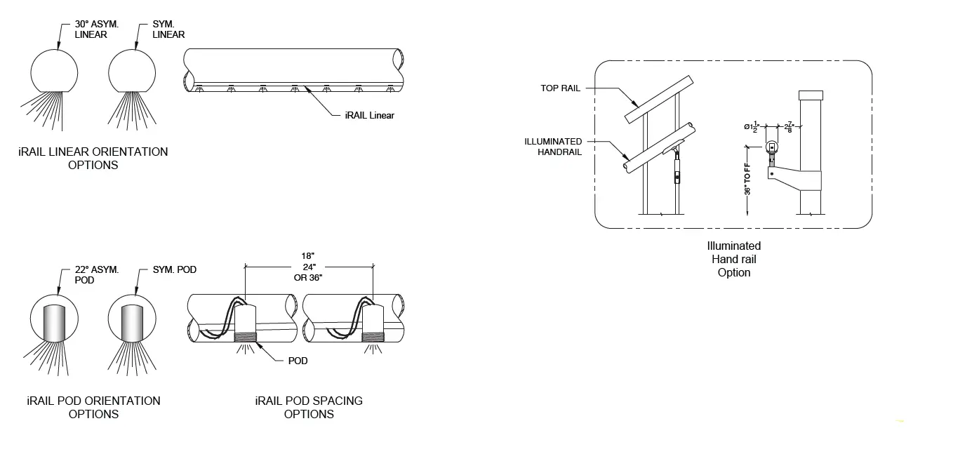
| Top Rail | Aluminum | #6 Satin, Powder Coat | TR1: Flat: 3×1-1/8 TR2: Curved: 3-1/4×1-1/8 |
| Infill Rail | Aluminum | #6 Satin | N/A |
| Base Rail | Aluminum | Unstained | Anchor mount: Rectangle 3×1-1/8 Weld mount: Rectangle 3×1-1/2 |
| Hand Rail | Aluminum | $$$ | N/A |
- $ to $$$: Indicates finish type comparative cost.
- All LED LINEAR products are ETL certified; ETL mark is proof of product compliance to North American safety standard.
- Other species available upon request.
SLATTM – TECHNICAL DRAWING

Product Usage Instructions
- Before installation, ensure that the building systems to which the SLAT Railing System will be attached are structurally sound or designed to properly support the product.
- Follow the technical drawing provided by VIVA RAILINGS for the installation of the product.
- For further product information and technical support, contact VIVA RAILINGS.
DIMENSIONS


VIVA RAILINGS IS NOT RESPONSIBLE FOR THE STRUCTURAL INTEGRITY OF ANY BUILDING SYSTEMS OR OTHER MATERIALS NOT FURNISHED BY VIVA RAILINGS. VIVA RAILINGS HAS NO WAY OF KNOWING AND SPECIFICALLY DISCLAIMS WHETHER OR NOT THE BUILDING SYSTEMS TO WHICH VIVA RAILINGS’ PRODUCTS ARE TO BE ATTACHED ARE STRUCTURALLY SOUND OR DESIGNED TO PROPERLY SUPPORT VIVA RAILINGS’S MATERIALS. ANY SUCH DESIGN RESPONSIBILITY BELONGS TO OTHERS FOR WHOM VIVA RAILINGS IS NOT RESPONSIBLE. THESE DRAWINGS ARE INTENDED FOR THE SOLE USE OF VIVA RAILINGS’ CUSTOMER AND THEIR AGENTS FOR THE INSTALLATION OF PRODUCTS FURNISHED BY VIVA RAILINGS. VIVA RAILINGS REMAINS THE SOLE OWNER OF ALL DESIGNS AND INTELLECTUAL PROPERTY CONTAINED WITHIN. REPRODUCTION AND USE OF THESE DESIGNS FOR ANY OTHER PURPOSE IS FORBIDDEN. SCALES ARE PROVIDED FOR REFERENCE ONLY. FOR PRODUCT INFORMATION AND TECHNICAL SUPPORT, PLEASE CONTACT VIVA RAILINGS.

For more info: vivarailings.com/lighted-rail-systems
vivarailings.com / metalspaces.com















