Certifier™ Pro Flow Analyzer
Model 4090
Quick Start Guide 
4090 Certifier Pro Flow Analyzer
TSI and TSI logo are registered trademarks of TSI Incorporated in the United States and may be protected under other country’s trademark registrations. Certifier is a trademark of TSI Incorporated.

Certifier™ Pro Instrument Components
Certifier™ Pro Test Kit (Model 4090)
| Material Description | Replacement Part |
| Power supply 100/240 VAC to +12 VDC 2.1 mm, includes plug set with NA, UK, EU, CN, SAA | 130400 |
| Inlet filter, high flow, 22 mm M/F, HEPA | 1602341 |
| Inlet filter, low flow, 3/8 inch barb, HEPA | 130380 |
| Adapter, high pressure port | 1611221 |
| Adapter, 22 mm to 6 mm (for interfacing the Low Flow Filter to the High Flow channel) | 1102091 |
| Adapter, 15 mm ID to 22 mm OD | 1102093 |
| Adapter, 22 mm F to 22 mm F, Straight | 130373 |
| Adapter, 15 mm M to 22 mm F, Pediatric Cuff | 130374 |
| Airway pressure fitting with screen | 1611330 |
| Pressure tubing, silicone, 1/8 inch ID x 1/4 inch OD x 48 inch | 3002053 |
| Oxygen Sensor (installed) | 130377 |
| Battery, Lithium-Ion 7.2 V 6.4 AHr (installed) | 130385 |
| Hanging Clip (to hang 4090 from a ventilator rail) | 130375 |
Download Operator’s Manual at TSI.com
Certifier™ Pro Accessories
| Description | Part Number | Image |
| Carrying Case, Fitted (19 x 14.75 x 6.5 inch 48 x 37.5 x 16.5 cm) | 130378 | ![]() |
| Test Lung, Adult, 1 L | 130393 | ![]() |
| Test Lung, Pediatric, 0.5 L | 130396 | ![]() |
| Computer Cable, USB- C to USB-A, with Screw Lock | 130382 | ![]() |
| Stylus, Capacitive Touch | 130370 | ![]() |
| Flow Resistor Kit, Calibrated Resistors (Rp5, Rp20, Rp50) | 130395 | ![]() |
Instrument Overviews
4090 Instrument, Front

- Low Flow Channel Inlet
- High Flow Channel Inlet
- High Pressure Port (Max: 150 psi / 10 bar)
- Low Differential Pressure, Positive Port (+)
- Low Differential Pressure, Negative Port (-)
- Touchscreen Display
4090 Instrument, Back

| 1. Low Flow Channel Outlet 2. High Flow Channel Outlet 3. Power Button (On/Off) 4. RS-232 Output 5. TTL Trigger Input 6. DC Power Input | 7. USB-C Communications Output 8. Screw hole for USB-C cable lock 9. USB-A Connectors (2) 10. Portable / Rack Switch 11. Cable Retainer 12. Model / Serial Number Sticker |
4090 Instrument, Bottom

| 1. Battery/Oxygen Sensor Cover 2. Cover Knob 3. Instrument Handle | 4. Rubber Feet 5. Fan 6. Cable Retainer |
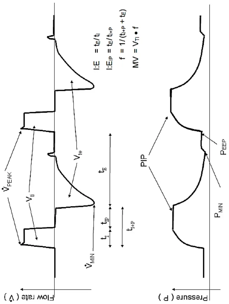
Available Measurement Parameters
| Symbol | Description | Symbol | Description |
| V | Flow rate | PPLAT | Plateau pressure |
| VPEAK | Peak flow rate | PHIGH | High pressure(4081 only) |
| VMIN | Minimum flow rate | PARS | Absolute pressure, equals barometricpressure if flow tube open to atmosphere. |
| VΔ | Flow rate delta | 2 | Oxygen concentration (4081 with 4073 only) |
| VΔ% | Flow rate delta percent | T | Temperature |
| VTI | Inhaled tidal volume | f | Breath frequency |
| VTE | Exhaled tidal volume | ti | Inspiratory time |
| V | Real-time volume | tIP | Inspiratory pause time |
| MV | Inhaled minute tidal volume | tI+P | Inspiratory time including pause time |
| P | Low pressure measurement (4081 only) | tR | Inspiratory rise time |
| PIP | Peak inspiratory pressure (4081 only) | tE | Expiratory time |
| PEEP | Peak end expiratory pressure (4081 only) | I:E | Inspiratory to Expiratory ratio |
| PMAP | Mean airway pressure (4081 only) | I : EIP | Inspiratory to Expiratory ratio including pause time |
| PMIN | Minimum low pressure (4081 only) | CSTAT | Static compliance |
| PΔ | Delta low pressure – Delta airway pressure (4081 only) | Time of day |
Measurement Parameter Definitions
Refer to the Certifier™ Pro User Manual for more detailed definitions of the measurement parameters.

Pre-Test Checks and Instrument Setup
Power and Warmup
The Certifier™ Pro Flow Analyzer can be operated through AC power or on battery power. With AC power applied, the battery will automatically recharge. Upon startup, allow 1 minute for the Certifier™ Flow Analyzer’s flow sensor and pressure transducers to warm up.
Instrument Calibration
Confirm that the calibration date for the Certifier™ Pro Flow Analyzer is valid. TSI® recommends an annual calibration to ensure the most accurate flow, pressure, and temperature measurements.
Zero Low / High Pressure
Disconnect any pressure tubing from the low and high pressure ports on the front side of the instrument to expose the sensors to ambient air. Press the zero icon on the Certifier Pro display to access the Zero Pressure Sensors screen and perform the zeroing.
Oxygen Sensor Calibration
Calibrate the oxygen sensor daily, following an altitude change, or after replacement. Navigate to the Settings menu and select Oxygen Sensor. Follow the directions on screen to calibrate with air or oxygen.
Connect Inlet Filter
Connect filter to the breathing circuit upstream of the Certifier Flow Analyzer. TSI® supplies inlet filters for the high and low flow channels and recommends that filtration be used at all times during operation.
Connect Low Pressure Measurement
Attach the airway pressure fitting (1) to the breathing circuit. Cut a length of silicon tubing (2), connect one end of the tubing to the barb on the airway pressure fitting, and connect the other end of the tubing to the (+) low pressure port located at the front of the instrument.
Test Circuit for Bi-directional Flow

Touchscreen Operation
The Certifier™ Pro instrument utilizes a 5-inch capacitive touchscreen display. The display interface is designed to be operated using your fingers, press lightly on the display for optimum touchscreen operation. A capacitive-touch stylus can be used as an alternative to operating with finger presses.
Operate the Certifier™ Pro Flow Analyzer by touching any on-screen element that you would like to change. Up to 18 measurement parameters can be displayed on screen at one time, and the display will automatically adjust the font size and positioning based on the number of selected measurements.
Parameter Screen

| 1. Menu 2. Module Cards 3. Module Indicators 4. Battery Indicator 5. Measurement and Units 6. Triggers / Averaging Settings 7. User Configurations | 8. Parameter/Graph Screen Toggle 9. Zero Pressure Sensors 10. Save Data and/or Snapshots 11. Pause/Play Display 12. Edit Measurements and/or Units 13. Warnings & Errors Notifications |
Graph Screen

| 1. Plotted Measurements 2. Y-Axis (primary and secondary) 3. X-Axis | 4. Breath Trigger Indicators 5. Real-Time Measurements 6. Edit Graph |
Breath Triggers
Triggers are used to detect the start of the inspiratory and expiratory breath cycles. Triggers can be based on the flow rate, pressure, or driven from a TTL voltage signal. The Certifier™ Pro Flow Analyzer can automatically detect the breath using the flow rate, or you can manually set your own start and end trigger values using the flow rate or low pressure. In most circumstances, it is recommended to use the Auto Trigger setting.

Breath Averaging
The number of breaths specifies the maximum number of breaths over which to average breath parameter measurements. The averaging time sets the rate at which real-time values are averaged and updated on the Certifier™ Pro display. Real-time values include measurements for flow rate, low pressure, high pressure, absolute pressure, oxygen concentration (if connected), and temperature.

Certifier™ Flow Analyzer Configurations
A Certifier™ Flow Analyzer configuration is a saved collection of settings for the measurements, units, gas type and conditions, triggering, and graphing that you have selected. Any Certifier™ setup can be saved as a configuration and later recalled. Configurations can be saved for testing various types of equipment or to optimize test setups to conform with organizational standards or personal preference.
Configurations are stored in the internal memory of the 4090 Certifier Pro instrument and can be exported to a USB mass storage drive via either USB-A port. Exported configurations can be sent as email attachments and they can be imported onto different Certifier Pro or Certifier Plus instruments.
Data Acquisition
The Certifier Pro Flow Analyzer is capable of logging measurement data and capturing screenshots. Data can be saved from either the Parameter or Graph screen, and files are saved to the internal memory of the Certifier Pro Flow Analyzer.
Snapshots save a screenshot image as well as the data currently displayed on screen. Continuous logging captures data for all measurements selected on screen at sample rate of 1 sec to 10 mins and test length from 15 secs to up to 5 days. Waveform logging records raw sensor data at a rate of 1000 Hz for a length of 15 to 60 seconds.
Data Export
Saved screenshots and data log files can be exported from either of the two USB-A ports located on the back of the 4090 Certifier Pro Flow Analyzer. Snapshots are exported as .png image files and data is exported as .csv files. The delimiter for data export can be set as comma, pipe, semicolon, or tab delimited. You can select the Export Delimiter in the General Settings page of the Settings menu option.
TSI Incorporated – Visit our website www.tsi.com for more information.
USA Tel: +1 800 680 1220
UK Tel: +44 149 4 459200
France Tel: +33 1 41 19 21 99
Germany Tel: +49 241 523030
India Tel: +91 80 67877200
China Tel: +86 10 8219 7688
Singapore Tel: +65 6595 638 8
©2023 TSI Incorporated
P/N 6016201 Rev. B
April 2023




















