makita HR008G Cordless Combination Hammer

SPECIFICATIONS
| Model: | HR008G | HR009G | |
| Capacities | Concrete | 30 mm | |
| Core bit | 80 mm | ||
| Diamond core bit (dry type) | 80 mm | ||
| Steel | 13 mm | ||
| Wood | 32 mm | ||
| No load speed | 0 – 840 min-1 | ||
| Blows per minute | 0 – 4,500 min-1 | ||
| Rated voltage | D.C. 36 V – 40 V max | ||
| Overall length (with BL4040) | 422 mm | 439 mm | |
| Net weight | 5.2 – 6.8 kg | 5.3 – 6.7 kg | |
Optional accessory
- Due to our continuing program of research and development, the specifications herein are subject to change without notice.
- Specifications may differ from country to country.
- The weight may differ depending on the attachment(s), including the battery cartridge. The lightest and heaviest combination, according to EPTA-Procedure 01/2014, are shown in the table.
Applicable battery cartridge and charger
| Battery cartridge | BL4020 / BL4025 / BL4040* / BL4050F* / BL4080F * : Recommended battery |
| Charger | DC40RA / DC40RB / DC40RC |
- Some of the battery cartridges and chargers listed above may not be available depending on your region of residence.
WARNING: Only use the battery cartridges and chargers listed above. Use of any other battery cartridges and chargers may cause injury and/or fire.
Recommended cord connected power source
- Portable power pack: PDC01 / PDC1200
- The cord connected power source(s) listed above may not be available depending on your region of residence.
- Before using the cord connected power source, read instruction and cautionary markings on them.
Symbols
The followings show the symbols which may be used for the equipment. Be sure that you understand their meaning before use.
Read instruction manual.
Only for EU countries
Due to the presence of hazardous components in the equipment, waste electrical and electronic equipment, accumulators and batteries may have a negative impact on the environment and human health. Do not dispose of electrical and electronic appliances or batteries with householdwaste! In accordance with the European Directive on waste electrical and electronic equipment and on accumulators and batteries and waste accumulators and batteries, as well as their adaptation to national law, waste electrical equipment, batteries and accumulators should be stored separately and delivered to a separate collection point for municipal waste, operating in accordance with the regulations on environmental protection. This is indicated by the symbol of the crossed-out wheeled bin placed on the equipment.
Intended use
The tool is intended for hammer drilling and drilling in brick, concrete and stone as well as for chiselling work. It is also suitable for drilling without impact in wood, metal, ceramic and plastic.
Noise
The typical A-weighted noise level determined according to EN62841-2-6:
Model HR008G
- Sound pressure level (LpA): 91 dB(A)
- Sound power level (LWA): 102 dB (A)
- Uncertainty (K): 3 dB(A)
Model HR009G
- Sound pressure level (LpA): 91 dB(A)
- Sound power level (LWA): 102 dB (A)
- Uncertainty (K): 3 dB(A)
Model HR008G with DX10
- Sound pressure level (LpA): 94 dB(A)
- Sound power level (LWA): 105 dB (A)
- Uncertainty (K): 3 dB(A)
Model HR009G with DX11
- Sound pressure level (LpA): 94 dB(A)
- Sound power level (LWA): 105 dB (A)
- Uncertainty (K): 3 dB(A)
NOTE
- The declared noise emission value(s) has been measured in accordance with a standard test method and may be used for comparing one tool with another.
- The declared noise emission value(s) may also be used in a preliminary assessment of exposure.
WARNING
- Wear ear protection.
- The noise emission during actual use of the power tool can differ from the declared value(s) depending on the ways in which the tool is used especially what kind of workpiece is processed.
- Be sure to identify safety measures to protect the operator that are based on an estimation of exposure in the actual conditions of use (taking account of all parts of the operating cycle such as the times when the tool is switched off and when it is running idle in addition to the trigger time).
Vibration
The following table shows the vibration total value (tri-axial vector sum) determined according to applicable standard.
Model HR008G
| Work mode | Vibration emission | Uncertainty (K) | Applicable standard |
| Hammer drilling into concrete (ah, HD) | 9.1 m/s2 | 1.5 m/s2 | EN62841-2-6 |
| Hammer drilling into concrete with DX10 (ah, HD) | 7.8 m/s2 | 1.5 m/s2 | EN62841-2-6 |
| Chiselling function with side grip (ah, Cheq) | 8.0 m/s2 | 1.5 m/s2 | EN62841-2-6 |
Model HR009G
| Work mode | Vibration emission | Uncertainty (K) | Applicable standard |
| Hammer drilling into concrete (ah, HD) | 9.1 m/s2 | 1.5 m/s2 | EN62841-2-6 |
| Hammer drilling into concrete with DX11 (ah, HD) | 7.3 m/s2 | 1.5 m/s2 | EN62841-2-6 |
| Chiselling function with side grip (ah, Cheq) | 7.1 m/s2 | 1.5 m/s2 | EN62841-2-6 |
NOTE
- The declared vibration total value(s) has been measured in accordance with a standard test method and may be used for comparing one tool with another.
- The declared vibration total value(s) may also be used in a preliminary assessment of exposure.
WARNING
- The vibration emission during actual use of the power tool can differ from the declared value(s) depending on the ways in which the tool is used especially what kind of workpiece is processed.
- Be sure to identify safety measures to protect the operator that are based on an estimation of exposure in the actual conditions of use (taking account of all parts of the operating cycle such as the times when the tool is switched off and when it is running idle in addition to the trigger time).
EC Declaration of Conformity
For European countries only
- The EC declaration of conformity is included as Annex A to this instruction manual.
SAFETY WARNINGS
General power tool safety warnings
WARNING: Read all safety warnings, instructions, illustrations and specifications provided with this power tool. Failure to follow all instructions listed below may result in electric shock, fire and/or serious injury.
Save all warnings and instructions
for future reference. The term “power tool” in the warnings refers to your mains-operated (corded) power tool or battery-operated (cordless) power tool.
Work area safety
- Keep work area clean and well lit. Cluttered or dark areas invite accidents.
- Do not operate power tools in explosive atmospheres, such as in the presence of flammable liquids, gases or dust. Power tools create sparks which may ignite the dust or fumes.
- Keep children and bystanders away while operating a power tool. Distractions can cause you to lose control.
Electrical safety
- Power tool plugs must match the outlet. Never modify the plug in any way. Do not use any adapter plugs with earthed (grounded) power tools. Unmodified plugs and matching outlets will reduce risk of electric shock.
- Avoid body contact with earthed or grounded surfaces, such as pipes, radiators, ranges and refrigerators. There is an increased risk of electric shock if your body is earthed or grounded.
- Do not expose power tools to rain or wet conditions. Water entering a power tool will increase the risk of electric shock.
- Do not abuse the cord. Never use the cord for carrying, pulling or unplugging the power tool. Keep cord away from heat, oil, sharp edges or moving parts. Damaged or entangled cords increase the risk of electric shock.
- When operating a power tool outdoors, use an extension cord suitable for outdoor use. Use of a cord suitable for outdoor use reduces the risk of electric shock.
- If operating a power tool in a damp location is unavoidable, use a residual current device (RCD) protected supply. Use of an RCD reduces the risk of electric shock.
- Power tools can produce electromagnetic fields (EMF) that are not harmful to the user. However, users of pacemakers and other similar medical devices should contact the maker of their device and/or doctor for advice before operating this power tool.
Personal safety
- Stay alert, watch what you are doing and use common sense when operating a power tool. Do not use a power tool while you are tired or under the influence of drugs, alcohol or medication. A moment of inattention while operating power tools may result in serious personal injury.
- Use personal protective equipment. Always wear eye protection. Protective equipment such as a dust mask, non-skid safety shoes, hard hat or hearing protection used for appropriate conditions will reduce personal injuries.
- Prevent unintentional starting. Ensure the switch is in the off-position before connecting to power source and/or battery pack, picking up or carrying the tool. Carrying power tools with your finger on the switch or energising power tools that have the switch on invites accidents.
- Remove any adjusting key or wrench before turning the power tool on. A wrench or a key left attached to a rotating part of the power tool may result in personal injury.
- Do not overreach. Keep proper footing and balance at all times. This enables better control of the power tool in unexpected situations.
- Dress properly. Do not wear loose clothing or jewellery. Keep your hair and clothing away from moving parts. Loose clothes, jewellery or long hair can be caught in moving parts.
- If devices are provided for the connection of dust extraction and collection facilities, ensure these are connected and properly used. Use of dust collection can reduce dust-related hazards.
- Do not let familiarity gained from frequent use of tools allow you to become complacent and ignore tool safety principles. A careless action can cause severe injury within a fraction of a second.
- Always wear protective goggles to protect your eyes from injury when using power tools. The goggles must comply with ANSI Z87.1 in the USA, EN 166 in Europe, or AS/NZS 1336 in Australia/New Zealand. In Australia/New Zealand, it is legally required to wear a face shield to protect your face, too.

- It is an employer’s responsibility to enforce the use of appropriate safety protective equipments by the tool operators and by other persons in the immediate working area.
Power tool use and care
- Do not force the power tool. Use the correct power tool for your application. The correct power tool will do the job better and safer at the rate for which it was designed.
- Do not use the power tool if the switch does not turn it on and off. Any power tool that cannot be controlled with the switch is dangerous and must be repaired.
- Disconnect the plug from the power source and/or remove the battery pack, if detachable, from the power tool before making any adjustments, changing accessories, or storing power tools. Such preventive safety measures reduce the risk of starting the power tool accidentally.
- Store idle power tools out of the reach of children and do not allow persons unfamiliar with the power tool or these instructions to operate the power tool. Power tools are dangerous in the hands of untrained users. 5. Maintain power tools and accessories. Check for misalignment or binding of moving parts, breakage of parts and any other condition that may affect the power tool’s operation. If damaged, have the power tool repaired before use. Many accidents are caused by poorly maintained power tools.
- Keep cutting tools sharp and clean. Properly maintained cutting tools with sharp cutting edges are less likely to bind and are easier to control.
- Use the power tool, accessories and tool bits etc. in accordance with these instructions, taking into account the working conditions and the work to be performed. Use of the power tool for operations different from those intended could result in a hazardous situation.
- Keep handles and grasping surfaces dry, clean and free from oil and grease. Slippery handles and grasping surfaces do not allow for safe handling and control of the tool in unexpected situations.
- When using the tool, do not wear cloth work gloves which may be entangled. The entanglement of cloth work gloves in the moving parts may result in personal injury.
Battery tool use and care
- Recharge only with the charger specified by the manufacturer. A charger that is suitable for one type of battery pack may create a risk of fire when used with another battery pack.
- Use power tools only with specifically designated battery packs. Use of any other battery packs may create a risk of injury and fire.
- When battery pack is not in use, keep it away from other metal objects, like paper clips, coins, keys, nails, screws or other small metal objects, that can make a connection from one terminal to another. Shorting the battery terminals together may cause burns or a fire.
- Under abusive conditions, liquid may be ejected from the battery; avoid contact. If contact accidentally occurs, flush with water. If liquid contacts eyes, additionally seek medical help. Liquid ejected from the battery may cause irritation or burns.
- Do not use a battery pack or tool that is damaged or modified. Damaged or modified batteries may exhibit unpredictable behaviour resulting in fire, explosion or risk of injury.
- Do not expose a battery pack or tool to fire orexcessive temperature. Exposure to fire or temperature above 130 °C may cause explosion.
- Follow all charging instructions and do not charge the battery pack or tool outside the temperature range specified in the instructions. Charging improperly or at temperatures outside the specified range may damage the battery and increase the risk of fire.
Service
- Have your power tool serviced by a qualified repair person using only identical replacement parts. This will ensure that the safety of the power tool is maintained.
- Never service damaged battery packs. Service of battery packs should only be performed by the manufacturer or authorized service providers.
- Follow instruction for lubricating and changing accessories.
CORDLESS ROTARY HAMMER SAFETY WARNINGS
Safety instructions for all operations
- Wear ear protectors. Exposure to noise can cause hearing loss.
- Use auxiliary handle(s), if supplied with the tool. Loss of control can cause personal injury.
- Hold the power tool by insulated gripping surfaces, when performing an operation where the cutting accessory may contact hidden wiring. Cutting accessory contacting a “live” wire may make exposed metal parts of the power tool “live” and could give the operator an electric shock.
Safety instructions when using long drill bits with rotary hammers
- Always start drilling at low speed and with the bit tip in contact with the workpiece. At higher speeds, the bit is likely to bend if allowed to rotate freely without contacting the workpiece, resulting in personal injury.
- Apply pressure only in direct line with the bit and do not apply excessive pressure. Bits can bend, causing breakage or loss of control, resulting in personal injury.
Additional safety warnings
- Wear a hard hat (safety helmet), safety glasses and/or face shield. Ordinary eye or sun glasses are NOT safety glasses. It is also highly recommended that you wear a dust mask and thickly padded gloves.
- Be sure the bit is secured in place before operation.
- Under normal operation, the tool is designed to produce vibration. The screws can come loose easily, causing a breakdown or accident. Check tightness of screws carefully before operation.
- In cold weather or when the tool has not been used for a long time, let the tool warm up for a while by operating it under no load. This will loosen up the lubrication. Without proper warm-up, hammering operation is difficult.
- Always be sure you have a firm footing. Be sure no one is below when using the tool in high locations.
- Hold the tool firmly with both hands.
- Keep hands away from moving parts.
- Do not leave the tool running. Operate the tool only when hand-held.
- Do not point the tool at any one in the area when operating. The bit could fly out and injure someone seriously.
- Do not touch the bit, parts close to the bit, or workpiece immediately after operation; they may be extremely hot and could burn your skin.
- Some material contains chemicals which may be toxic. Take caution to prevent dust inhalation and skin contact. Follow material supplier safety data.
- Always be sure that the tool is switched off and the battery cartridge and the bit are removed before handing the tool to other person.
- Before operation, make sure that there is no buried object such as electric pipe, water pipe or gas pipe in the working area. Otherwise, the drill bit/chisel may touch them, resulting an electric shock, electrical leakage or gas leak.
- Do not operate the tool at no-load unnecessarily.
SAVE THESE INSTRUCTIONS.
WARNING: DO NOT let comfort or familiarity with product (gained from repeated use) replace strict adherence to safety rules for the subject product. MISUSE or failure to follow the safety rules stated in this instruction manual may cause serious personal injury.
Important safety instructions for battery cartridge
- Before using battery cartridge, read all instructions and cautionary markings on (1) battery charger, (2) battery, and (3) product using battery.
- Do not disassemble or tamper with the battery cartridge. It may result in a fire, excessive heat, or explosion.
- If operating time has become excessively shorter, stop operating immediately. It may result in a risk of overheating, possible burns and even an explosion.
- If electrolyte gets into your eyes, rinse them out with clear water and seek medical attention right away. It may result in loss of your eyesight.
- Do not short the battery cartridge:
- Do not touch the terminals with any conductive material.
- Avoid storing battery cartridge in a container with other metal objects such as nails, coins, etc.
- Do not expose battery cartridge to water or rain. A battery short can cause a large current flow, overheating, possible burns and even a breakdown.
- Do not store and use the tool and battery cartridge in locations where the temperature may reach or exceed 50 °C (122 °F).
- Do not incinerate the battery cartridge even if it is severely damaged or is completely worn out. The battery cartridge can explode in a fire.
- Do not nail, cut, crush, throw, drop the battery cartridge, or hit against a hard object to the battery cartridge. Such conduct may result in a fire, excessive heat, or explosion.
- Do not use a damaged battery.
- The contained lithium-ion batteries are subject to the Dangerous Goods Legislation requirements. For commercial transports e.g. by third parties, forwarding agents, special requirement on packaging and labeling must be observed. For preparation of the item being shipped, consulting an expert for hazardous material is required. Please also observe possibly more detailed national regulations. Tape or mask off open contacts and pack up the battery in such a manner that it cannot move around in the packaging.
- When disposing the battery cartridge, remove it from the tool and dispose of it in a safe place. Follow your local regulations relating to disposal of battery.
- Use the batteries only with the products specified by Makita. Installing the batteries to non-compliant products may result in a fire, excessive heat, explosion, or leak of electrolyte.
- If the tool is not used for a long period of time, the battery must be removed from the tool.
- During and after use, the battery cartridge may take on heat which can cause burns or low temperature burns. Pay attention to the handling of hot battery cartridges.
- Do not touch the terminal of the tool immediately after use as it may get hot enough to cause burns.
- Do not allow chips, dust, or soil stuck into the terminals, holes, and grooves of the battery cartridge. It may cause heating, catching fire, burst and malfunction of the tool or battery cartridge, resulting in burns or personal injury.
- Unless the tool supports the use near high-voltage electrical power lines, do not use the battery cartridge near a high-voltage electrical power lines. It may result in a malfunction or breakdown of the tool or battery cartridge.
- Keep the battery away from children.
SAVE THESE INSTRUCTIONS.
CAUTION: Only use genuine Makita batteries. Use of non-genuine Makita batteries, or batteries that have been altered, may result in the battery bursting causing fires, personal injury and damage. It will also void the Makita warranty for the Makita tool and charger.
Tips for maintaining maximum battery life
- Charge the battery cartridge before completely discharged. Always stop tool operation and charge the battery cartridge when you notice less tool power.
- Never recharge a fully charged battery cartridge. Overcharging shortens the battery service life.
- Charge the battery cartridge with room temperature at 10 °C – 40 °C (50 °F – 104 °F). Let a hot battery cartridge cool down before charging it.
- When not using the battery cartridge, remove it from the tool or the charger.
- Charge the battery cartridge if you do not use it for a long period (more than six months)
Important safety instructions for wireless unit
- Do not disassemble or tamper with the wireless unit.
- Keep the wireless unit away from young children. If accidentally swallowed, seek medical attention immediately.
- Use the wireless unit only with Makita tools.
- Do not expose the wireless unit to rain or wet conditions.
- Do not use the wireless unit in places where the temperature exceeds 50 °C (122 °F).
- Do not operate the wireless unit in places where medical instruments, such as heart pace makers are nearby.
- Do not operate the wireless unit in places where automated devices are nearby. If operated, automated devices may develop malfunction or error.
- Do not operate the wireless unit in placesunder high temperature or places where static electricity or electrical noise could be generated.
- The wireless unit can produce electromagnetic fields (EMF) but they are not harmful to the user.
- The wireless unit is an accurate instrument. Be careful not to drop or strike the wireless unit.
- Avoid touching the terminal of the wireless unit with bare hands or metallic materials.
- Always remove the battery on the product when installing the wireless unit into it.
- When opening the lid of the slot, avoid the place where dust and water may come into the slot. Always keep the inlet of the slot clean.
- Always insert the wireless unit in the correct direction.
- Do not press the wireless activation button on the wireless unit too hard and/or press the button with an object with a sharp edge.
- Always close the lid of the slot when operating.
- Do not remove the wireless unit from the slot while the power is being supplied to the tool. Doing so may cause a malfunction of the wireless unit.
- Do not remove the sticker on the wireless unit.
- Do not put any sticker on the wireless unit.
- Do not leave the wireless unit in a place where static electricity or electrical noise could be generated.
- Do not leave the wireless unit in a place subject to high heat, such as a car sitting in the sun.
- Do not leave the wireless unit in a dusty or powdery place or in a place corrosive gas could be generated.
- Sudden change of the temperature may bedew the wireless unit. Do not use the wireless unit until the dew is completely dried.
- When cleaning the wireless unit, gently wipe with a dry soft cloth. Do not use benzine, thinner, conductive grease or the like.
- When storing the wireless unit, keep it in the supplied case or a static-free container.
- Do not insert any devices other than Makita wireless unit into the slot on the tool.
- Do not use the tool with the lid of the slot damaged. Water, dust, and dirt come into the slot may cause malfunction.
- Do not pull and/or twist the lid of the slot more than necessary. Restore the lid if it comes off from the tool.
- Replace the lid of the slot if it is lost or damaged.
SAVE THESE INSTRUCTIONS.
FUNCTIONAL DESCRIPTION
CAUTION: Always be sure that the tool is switched off and the battery cartridge is removed before adjusting or checking function on the tool.
Installing or removing battery cartridge
CAUTION
- Always switch off the tool before installing or removing of the battery cartridge.
- Hold the tool and the battery cartridge firmly when installing or removing battery cartridge. Failure to hold the tool and the battery cartridge firmly may cause them to slip off your hands and result in damage to the tool and battery cartridge and a personal injury.

- Red indicator
- Button
- Battery cartridge
To remove the battery cartridge, slide it from the tool while sliding the button on the front of the cartridge. To install the battery cartridge, align the tongue on the battery cartridge with the groove in the housing and slip it into place. Insert it all the way until it locks in place with a little click. If you can see the red indicator as shown in the figure, it is not locked completely.
CAUTION
- Always install the battery cartridge fully until the red indicator cannot be seen. If not, it may accidentally fall out of the tool, causing injury to you or someone around you.
- Do not install the battery cartridge forcibly. If the cartridge does not slide in easily, it is not being inserted correctly.
Indicating the remaining battery capacity
Press the check button on the battery cartridge to indicate the remaining battery capacity. The indicator lamps light up for a few seconds.

- Indicator lamps
- Check button

NOTE
- Depending on the conditions of use and the ambient temperature, the indication may differ slightly from the actual capacity.
- The first (far left) indicator lamp will blink when the battery protection system works.
Tool / battery protection system
The tool is equipped with a tool/battery protection system. This system automatically cuts off power to the motor to extend tool and battery life. The tool will automatically stop during operation if the tool or battery is placed under one of the following conditions:
Overload protection
When the battery is operated in a manner that causes it to draw an abnormally high current, the tool automatically stops without any indication. In this situation, turn the tool off and stop the application that caused the tool to become overloaded. Then turn the tool on to restart.
Overheat protection
When the tool or battery is overheated, the tool stops automatically. In this case, let the tool and battery cool before turning the tool on again.
NOTE: When the tool is overheated, the lamp blinks.
Overdischarge protection
When the battery capacity is not enough, the tool stops automatically. In this case, remove the battery from the tool and charge the battery.
Protections against other causes
Protection system is also designed for other causes that could damage the tool and allows the tool to stop automatically. Take all the following steps to clear the causes, when the tool has been brought to a temporary halt or stop in operation.
- Turn the tool off, and then turn it on again to restart.
- Charge the battery(ies) or replace it/them with recharged battery(ies).
- Let the tool and battery(ies) cool down. If no improvement can be found by restoring protection system, then contact your local Makita Service Center.
Switch action
WARNING: Before installing the battery cartridge into the tool, always check to see that the switch trigger actuates properly and returns to the “OFF” position when released.

- Switch trigger
To start the tool, simply pull the switch trigger. Tool speed is increased by increasing pressure on the switch trigger. Release the switch trigger to stop.
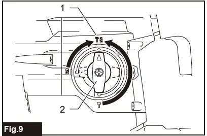
Speed change
The revolutions and blows per minute can be changed by turning the adjusting dial to a given number setting from 1 to 5. Higher speed is obtained when the dial is turned in the direction of number 5. Lower speed is obtained when the dial is turned in the direction of number 1. A target speed can be obtained when the switch trigger is fully squeezed.
- Adjusting dial
Refer to the table for the relationship between the number settings on the adjusting dial and the approximate revolutions and blows per minute.
| Number | Revolutions per minute | Blows per minute |
| 5 | 840 | 4,500 |
| 4 | 760 | 4,070 |
| 3 | 550 | 2,950 |
| 2 | 350 | 1,880 |
| 1 | 300 | 1,610 |
CAUTION: Do not turn the adjusting dial when the tool is running. Failure to do so may result in the loss of control of the tool and cause an injury.
NOTICE
- If the tool is operated continuously at low speed for a long time, the motor will get overloaded, resulting in tool malfunction.
- The adjusting dial turns between number setting 1 and 5. Avoid turning the dial back and forwards further as it may cause damage to the tool.
Lighting up the front lamp

- Lamp
CAUTION: Do not look in the light or see the source of light directly.
Pull the switch trigger to light up the lamp. The lamp keeps on lighting while the switch trigger is being pulled. The lamp goes out approximately 10 seconds after releasing the switch trigger.
CAUTION: If the lamp goes off after blinking for a few seconds, the active feedback sensing technology is not working properly. Ask your local Makita Service Center for repair.
NOTE
- Use a dry cloth to wipe the dirt off the lens of the lamp. Be careful not to scratch the lens of lamp, or it may lower the illumination.
- When the tool is overheated, the lamp flashes. In this case, release the switch trigger and then cool down the tool/battery before operating again.
- The front lamp cannot be used while the dust collection system (optional accessory) is installed in the tool.
Reversing switch action

- Reversing switch lever
CAUTION
- Always check the direction of rotation before operation.
- Use the reversing switch only after the tool comes to a complete stop. Changing the direction of rotation before the tool stops may damage the tool.
- When not operating the tool, always set the reversing switch lever to the neutral position.
This tool has a reversing switch to change the direction of rotation. Depress the reversing switch lever from the A side for clockwise rotation or from the B side for counterclockwise rotation. When the reversing switch lever is in the neutral position, the switch trigger cannot be pulled.
Changing the quick change chuck for SDS-plus
For model HR009G
The quick change chuck for SDS-plus can be easily exchanged for the quick change drill chuck.
Removing the quick change chuck for SDS-plus
CAUTION: Before removing the quick change chuck for SDS-plus, be sure to remove the bit.
Grasp the change cover of the quick change chuck for SDS-plus and turn it in the direction of the arrow until the change cover line moves from the
symbol to the symbol
. Pull the quick change chuck for SDSplus, forcefully if necessary, in the direction of the arrow.

- Quick change chuck for SDS-plus
- Change cover
- Change cover line
Installing the quick change drill chuck
Check the line of the quick change drill chuck shows the
symbol. Grasp the change cover of the quick change drill chuck and set the line to the
symbol. Place the quick change drill chuck on the spindle of the tool. Grasp the change cover of the quick change drill chuck and turn the change cover line to the
symbol until a click can clearly be heard.

- Quick change drill chuck
- Spindle
- Change cover line
- Change cover
Selecting the action mode
NOTICE
- Do not rotate the action mode changing knob when the tool is running. The tool will be damaged.
- To avoid rapid wear on the mode change mechanism, be sure that the action mode changing knob is always positively located in one of the three action mode positions.
Rotation with hammering
For drilling in concrete, masonry, etc., rotate the action mode changing knob
to the symbol. Use a tungsten carbide tipped bit (optional accessory).

- Rotation with hammering
- Action mode changing knob
Rotation only
For drilling in wood, metal or plastic materials, rotate the action mode changing knob to the symbol. Use a twist drill bit or wood drill bit.

- Rotation only
Hammering only
For chipping, scaling or demolition operations, rotate the action mode changing knob to the symbol. Use a bull point, cold chisel, scaling chisel, etc.

- Hammering only
Air duct
CAUTION: Do not put your finger into the air duct or do not insert any other object into the air duct. Otherwise you may get injured or the tool may get damaged.
The air duct is designed to improve the suction performance of the dust collection system. For details on how to install the dust collection system, refer to the instructions on installing the dust collection system.

- Air duct
Hook
Optional accessory
CAUTION
- Always remove the battery when hanging the tool with the hook.
- Never hook the tool at high location or on potentially unstable surface.
The hook is convenient for temporarily hanging the tool. Before installing the hook, remove the rubber cap from the screw holes in the mounting bracket. Insert the plate washers under the bracket, and then tighten the hook with screws in place.

- Rubber cap
- Mounting bracket
- Plate washers
- Hook
- Screws
For use, lift up the arm of the hook until it snaps into the open position. When not in use, be sure that the hook is folded back in the closed position.

- Hook
- Open position
- Closed position

Connecting lanyard (tether strap) to the hook
CAUTION
- Do not use damaged hook and screws. Before use, always check for damages, cracks or deformations, and make sure that the screws are tightened.
- Make sure that the hook is securely installed with the screws.
- Do not install or remove any accessory while hanging the tool. The tool may fall if the screws are not tightened.
- Always use a locking carabiner (multi-action and screw gate type) and be sure to attach the lanyard (tether strap) to the double looped portion of the hook. Improper attachment may cause tool drop from the hook and result in personal injury.
The hook is also used for connecting the lanyard (tether strap). Be sure to connect the lanyard (tether strap) to the double looped portion of the hook.

- Double looped portion of the hook
- Lanyard (tether strap)
- Locking carabiner (multi-action and screw gate type)
Safety warnings about connecting lanyard (tether strap) to the hook
Safety warnings specific for use at height
Read all safety warnings and instructions. Failure to follow the warnings and instructions may result in serious injury.
- Always keep the tool tethered when working “at height”. Maximum lanyard length is 2 m. The maximum permissible fall height for lanyard (tether strap) must not exceed 2 m.
- Use only with lanyards appropriate for this tool type and rated for at least 10 kg.
- Do not anchor the tool lanyard to anything on
your body or on movable components. Anchor the tool lanyard to a rigid structure that can withstand the forces of a dropped tool. - Make sure the lanyard is properly secured at each end prior to use.
- Inspect the tool and lanyard before each use for damage and proper function (including fabric and stitching). Do not use if damaged or not functioning properly.
- Do not wrap lanyards around or allow them to come in contact with sharp or rough edges.
- Fasten the other end of the lanyard outside the working area so that a falling tool is held securely.
- Attach the lanyard so that the tool will move away from the operator if it falls. Dropped tools will swing on the lanyard, which could cause injury or loss of balance.
- Do not use near moving parts or running machinery. Failure to do so may result in a crush or entanglement hazard.
- Do not carry the tool by the attachment device or the lanyard.
- Only transfer the tool between your hands while you are properly balanced.
- Do not attach lanyards to the tool in a way that keeps switches or trigger-lock (if supplied) from operating properly.
- Avoid getting tangled in the lanyard.
- Keep lanyard away from the drilling area of the tool.
- Use a locking carabiner (multi-action and screw gate type). Do not use single action spring clip carabiners.
- In the event the tool is dropped, it must be tagged and removed from service, and should be inspected by a Makita Factory or Authorized Service Center.
Accidental restart preventive function
If you install the battery cartridge while pulling the switch trigger, the tool does not start. To start the tool, release the switch trigger, and then pull the switch trigger.
Torque limiter
NOTICE
- As soon as the torque limiter actuates, switch off the tool immediately. This will help prevent premature wear of the tool.
- Drill bits such as hole saw, which tend to pinch or catch easily in the hole, are not appropriate for this tool. This is because they will cause the torque limiter to actuate too frequently.
The torque limiter will actuate when a certain torque level is reached. The motor will disengage from the output shaft. When this happens, the drill bit will stop turning.
Electronic function
The tool is equipped with the electronic functions for easy operation.
- Electric brake
- This tool is equipped with an electric brake. If the tool consistently fails to quickly cease to function after the switch trigger is released, have the tool serviced at a Makita service center.
- Constant speed control
- The speed control function provides the constant rotation speed regardless of load conditions.
- Active Feedback sensing Technology
- If the tool is swung at the predetermined acceleration during operation, the motor is forcibly stopped to reduce the burden on the wrist.
NOTE
- This function does not work if the acceleration does not reach the predetermined one when the tool is swung.
- If the bit is swung at the predetermined acceleration during chipping, scaling, or demolishing, the motor is forcibly stopped. In this case, release the switch trigger, and then pull the switch trigger to restart the tool.
ASSEMBLY
CAUTION: Always be sure that the tool is switched off and the battery cartridge is removed before carrying out any work on the tool.
Side grip (auxiliary handle)
CAUTION
- Always use the side grip to ensure safe operation.
- After installing or adjusting the side grip, make sure that the side grip is firmly secured with its retaining projections fully engaged by the positioning recesses on the gear housing.
To install the side grip, follow the steps below.
- Loosen the thumb screw on the side grip. Then install the side grip over the barrel neck of the gear housing.

- Side grip
- Thumb screw
- Barrel neck of the gear housing
- Retaining projection
- Positioning recess
- The attachment ring can be enlarged by pressing the thumb screw down so that the ring is easily and securely engaged over the barrel neck of the gear housing.

- Thumb screw
- Attachment ring
- Tighten the thumb screw to secure the grip at your desired angle.
Installing and removing drill bit
Grease
Clean the shank end of the drill bit and apply grease before installing the drill bit. Coat the shank end of the drill bit beforehand with a small amount of grease (about 0.5 – 1 g). This chuck lubrication assures smooth action and longer service life.

- Shank end
- Grease
Place the shank end of the drill bit into the chuck, and insert it further into the chuck while hand-turning the drill bit so the shank end well fits into the chuck slot and becomes fully engaged. Having installed the drill bit, try pulling it back to ensure it is securely held in place.

- Drill bit
- Chuck
To remove the drill bit, push the chuck cover down all the way and pull the drill bit out.

- Drill bit
- Chuck cover
Chisel angle (when chipping, scaling or demolishing)
The chisel can be secured at the desired angle. To change the chisel angle, rotate the action mode changing knob to the O symbol. Turn the chisel to the desired angle.

- Action mode changing knob
Rotate the action mode changing knob to the symbol. Then make sure that the chisel is securely held in place by turning it slightly.
Depth gauge
The depth gauge is convenient for drilling holes of uniform depth. Press and hold the lock button, and then insert the depth gauge into the hex hole. Make sure that the toothed side of the depth gauge faces the marking.

- Depth gauge
- Lock button
- Marking
- Toothed side
Adjust the depth gauge by moving it back and forth while pressing the lock button. After the adjustment, release the lock button to lock the depth gauge.
NOTE: Make sure that the depth gauge does not touch the main body of the tool when attaching it.
Dust cup
Optional accessory
Use the dust cup to prevent dust from falling over the tool and on yourself when performing overhead drilling operations. Attach the dust cup to the bit as shown in the figure. The size of bits which the dust cup can be attached to is as follows.
| Model | Bit diameter |
| Dust cup 5 | 6 mm – 14.5 mm |
| Dust cup 9 | 12 mm – 16 mm |

- Dust cup
Dust cup set
Optional accessory
CAUTION: Before installing and uninstalling the dust cup set, remove a bit from the tool.
Installation
For model HR008G
- Attach the spacer to the attachment unit of the dust cup set aligning the
symbol on the attachment unit with one of the grooves in the spacer.
Spacer- Dust cup set
- Attachment unit
- symbol
- Groove
- Place the dust cup set with the spacer onto the barrel neck of the gear housing aligning the
symbol on the dust cup set with one of the grooves in the barrel. Then hold the attachment unit of the dust cup set and push it down onto the barrel to secure it in place.
- Dust cup set
- Attachment unit
- Spacer
symbol- Groove
For model HR009G
Place the dust cup set onto the barrel neck of the gear housing aligning the
symbol on the dust cup set with one of the grooves in the barrel. Then hold the attachment unit of the dust cup set and push it down onto the barrel to secure it in place.

- Dust cup set
- Attachment unit
symbol- Groove
NOTE: If you connect a vacuum cleaner to the dust cup set, remove the dust cap before connecting it.

- Dust cap
Uninstallation
- Push the chuck cover down all the way and pull a bit off.

- Hold the attachment unit of the dust cup set and pull it apart from the tool.

NOTE: If the cap comes off from the dust cup set, place it back to the original position.
- Detach the bellows from the attachment unit of the dust cup set.

- Set the cap back in place with its printed side facing upwards.

- Be sure that the grooves around the cap well fit in the lips of the upper opening of the attachment unit.

DUST COLLECTION SYSTEM
Optional accessory
The dust collection system is designed to collect dusts effectively when the concrete drilling operation.

- Dust collection system
CAUTION
- The dust collection system is intended for drilling in concrete only. Do not use the dust collection system for drilling in metal or wood.
- When using the tool with the dustcollection system, be sure to attach the filter to the dust collection system to prevent dust inhalation.
- Before using the dust collection system, check that the filter is not damaged. Failure to do so may cause dust inhalation.
- The dust collection system collects the generated dust at a considerable rate, but not all dust can be collected.
NOTICE
- Do not use the dust collection system for core drilling or chiseling.
- Do not use the dust collection system for metal or wood. The dust collection system is intended for concrete only.
- Do not use the dust collection system for drilling in wet concrete or use this system in wet environment. Failure to do so may cause malfunction.
Installation
NOTICE: Before installing the dust collection system, clean the joint parts of the tool and the dust collection system. Foreign matters on the joint parts may cause it difficult to install the dust collection system. If any dust remains on the air duct, the dust comes into the tool and causes jam in the airflow or breakage of the tool.
Hang the hooks of the dust collection system on the pockets at the bottom front of the tool. Lift the nozzle up to secure the dust collection system in place with a click, so the air duct of the tool becomes covered with the suction air outlet of the dust collection system.

- Hooks
- Dust collection system
- Pockets
- Nozzle
- Air duct
- Suction air outlet
Uninstallation
Press and hold the lock off button on the dust collection system, and lower the nozzle to release the upper part of the dust collection system. Unhook the lower part of the dust collection system from the tool.

- Dust collection system
- Nozzle
- Lock off button
Adjusting nozzle position
CAUTION: Do not point the nozzle at yourself or others when releasing the nozzle by pushing the guide adjustment button. Slide in and out the nozzle guide while pressing the guide adjustment button, and then release the button at an exact position where the tip of the drill bit sits just behind the front surface of the nozzle.

- Nozzle guide
- Guide adjustment button
- Tip of drill bit
- Front surface of nozzle
Adjusting drilling depths
Drilling depths can be adjusted by changing the lengths between the depth adjustment button and the support arm for nozzle guide. Press and hold the depth adjustment button and slide it to your desired position.

- Depth adjustment button
- Nozzle guide
- Support arm for nozzle guide
- Drilling depths
Beating dust on the filter
CAUTION
- Do not turn the dial on the dust case while the dust case is removed from the dust collection system. Doing so may cause dust inhalation.
- Always switch off the tool when turning the dial on the dust case. Turning the dial while the tool is running may result in the loss of control of the tool.
- By beating the dust on the filter inside the dust case, you can keep the vacuum efficiency and also reduce the number of times to dispose of the dust. Turn the dial on the dust case three times after collecting every 50,000 mm3 of dust or when you feel the vacuum performance declined.
NOTE: 50,000 mm3 of dust equivalents to drilling 10 holes of ø10 mm and 65 mm depth.

- Dust case
- Dial
Disposing of dust
CAUTION
- Always be sure that the tool is switched off and the battery cartridge is removed before carrying out any work on the tool.
- Be sure to wear dust mask when disposing of dust.
- Empty the dust case regularly before the dust case becomes full. Failure to do so may decrease the dust collection performance and cause dust inhalation.
- The performance of dust collection decreases if the filter in the dust case become clogged. Replace the filter with new one after approximately 200 times of dust fulfillment as a guide. Failure to do so may cause dust inhalation.
- Remove the dust case while pressing down the latch lever of the dust case.

- Lift the lock tab slightly outwards and open the dust case cover.

- Dispose of the dust, and then clean the filter.

NOTICE: When cleaning the filter, tap the case of the filter gently by hand to remove dust. Do not tap the filter directly; touch the filter with brush or similar; or blow compressed air on the filter. Doing so may damage the filter.
Replacing filter of dust case
- Remove the dust case while pressing down the latch lever of the dust case.

- Lift the lock tab slightly outwards and open the filter cover of the dust case.

- Remove the filter from the filter case.

- Attach a new filter to the filter case, and then attach the filter cover.
- Close the cover of the dust case, and then attach the dust case to the dust collection system.
Replacing sealing cap
A damaged or worn-out sealing cap may affect the dust-collecting performance. Replace the sealing cap with new one as appropriate, aligning its guide projection with guide notch on the nozzle head.

- Sealing cap
- Guide projection
- Nozzle head
- Guide notch
Storage
NOTICE: When not in use for a certain period of time, the nozzle guide needs to be extended to approximately 100 mm from its fully shortened position. Failing to do so may damage the duct hose pre-installed in the nozzle guide.

- Guide adjustment button
- Approx. 100 mm
OPERATION
CAUTION
- Always use the side grip (auxiliary handle) and firmly hold the tool by both side grip and switch handle during operations.
- Always make sure that the workpiece is secured before operation.
- Do not pull the tool out forcibly even the bit gets stuck. Loss of control may cause injury.
NOTICE: Before using the dust collection system with the tool, read the section about the dust collection system.
NOTE: If the battery cartridge is in low temperature, the tool’s capability may not be fully obtained. In this case, warm up the battery cartridge by using the tool with no load for a while to fully obtain the tool’s capability.

Hammer drilling operation
CAUTION: There is tremendous and sudden twisting force exerted on the tool/drill bit at the time of hole break-through, when the hole becomes clogged with chips and particles, or when striking reinforcing rods embedded in the concrete. Always use the side grip (auxiliary handle) and firmly hold the tool by both side grip and switch handle during operations. Failure to do so may result in the loss of control of the tool and potentially severe injury.
Set the action mode changing knob to the symbol. Position the drill bit at the desired location for the hole, then pull the switch trigger. Do not force the tool. Light pressure gives best results. Keep the tool in position and prevent it from slipping away from the hole. Do not apply more pressure when the hole becomes clogged with chips or particles. Instead, run the tool at an idle, then remove the drill bit partially from the hole. By repeating this several times, the hole will be cleaned out and normal drilling may be resumed.
NOTE: Eccentricity in the drill bit rotation may occur while operating the tool with no load. The tool automatically centers itself during operation. This does not affect the drilling precision.
Chipping/Scaling/Demolition

Set the action mode changing knob to the symbol. Hold the tool firmly with both hands. Turn the tool on and apply slight pressure on the tool so that the tool will not bounce around, uncontrolled. Pressing very hard on the tool will not increase its efficiency.
Drilling in wood or metal
CAUTION
- Hold the tool firmly and exert care when the drill bit begins to break through the workpiece. There is a tremendous force exerted on the tool/drill bit at the time of hole break through.
- A stuck drill bit can be removed simply by setting the reversing switch to reverse rotation in order to back out. However, the tool may back out abruptly if you do not hold it firmly.
- Always secure workpieces in a vise or similar hold-down device.
NOTICE
- Never use “rotation with hammering” when the drill chuck is installed on the tool. The drill chuck may be damaged. Also, the drill chuck will come off when reversing the tool.
- Pressing excessively on the tool will not speed up the drilling. In fact, this excessive pressure will only serve to damage the tip of your drill bit, decrease the tool performance and shorten the service life of the tool.
Set the action mode changing knob to the symbol.
For model HR008G
Optional accessory
Attach the chuck adapter to a keyless drill chuck to which 1/2″-20 size screw can be installed, and then install them to the tool. For details on how to install the adapter into the chuck, refer to the instructions on installing drill bit.

- Keyless drill chuck
- Chuck adapter
For model HR009G
Use the quick change drill chuck as standard equipment. For details on how to install the quick change drill chuck, refer to the instructions on changing the quick change chuck for SDS-plus. Hold the ring and turn the sleeve counterclockwise to open the chuck jaws. Place a drill bit in the chuck as far as it will go. Hold the ring firmly and turn the sleeve clockwise to tighten the chuck.

- Sleeve
- Ring
To remove the drill bit, hold the ring and turn the sleeve counterclockwise.
Diamond core drilling
NOTICE
- If performing diamond core drilling operations using “rotation with hammering” action, the diamond core bit may be damaged.
- When performing diamond core drilling operations, always set the action mode changing knob to the position to use “rotation only” action.
Blow-out bulb
Optional accessory

- After drilling the hole, use the blow-out bulb to clean the dust out of the hole.
Using dust cup set
Optional accessory

- Fit the dust cup set against the ceiling when operating the tool.
NOTICE
- Do not use the dust cup set when drilling in metal or similar. It may damage the dust cup set due to the heat produced by small metal dust or similar.
- Do not install or remove the dust cup set with the drill bit installed in the tool. It may damage the dust cup set and cause dust leak.
WIRELESS ACTIVATION FUNCTION
What you can do with the wireless activation function

The wireless activation function enables clean and comfortable operation. By connecting a supported vacuum cleaner to the tool, you can run the vacuum cleaner automatically along with the switch operation of the tool.
To use the wireless activation function, prepare following items:
- A wireless unit (optional accessory)
- A vacuum cleaner which supports the wireless activation function
The overview of the wireless activation function setting is as follows. Refer to each section for detail procedures.
- Installing the wireless unit
- Tool registration for the vacuum cleaner
- Starting the wireless activation function
Installing the wireless unit
Optional accessory
CAUTION: Place the tool on a flat and stable surface when installing the wireless unit.
NOTICE
- Clean the dust and dirt on the tool before installing the wireless unit. Dust or dirt may cause malfunction if it comes into the slot of the wireless unit.
- To prevent the malfunction caused by static, touch a static discharging material, such as a metal part of the tool, before picking up the wireless unit.
- When installing the wireless unit, always be sure that the wireless unit is inserted in the correct direction and the lid is completely closed.
- Open the lid on the tool as shown in the figure.

- Insert the wireless unit to the slot and then close the lid. When inserting the wireless unit, align the projections with the recessed portions on the slot.

When removing the wireless unit, open the lid slowly. The hooks on the back of the lid will lift the wireless unit as you pull up the lid.

- Wireless unit
- Hook
- Lid
After removing the wireless unit, keep it in the supplied case or a static-free container.
NOTICE: Always use the hooks on the back of the lid when removing the wireless unit. If the hooks do not catch the wireless unit, close the lid completely and open it slowly again.
Tool registration for the vacuum cleaner
NOTE
- A Makita vacuum cleaner supporting the wireless activation function is required for the tool registration.
- Finish installing the wireless unit to the tool before starting the tool registration.
- During the tool registration, do not pull the switch trigger or turn on the power switch on the vacuum cleaner.
- Refer to the instruction manual of the vacuum cleaner, too.
If you wish to activate the vacuum cleaner along with the switch operation of the tool, finish the tool registration beforehand.
- Install the batteries to the vacuum cleaner and the tool.

- Set the stand-by switch on the vacuum cleaner to “AUTO”.

- Press the wireless activation button on the vacuum cleaner for 3 seconds until the wireless activation lamp blinks in green. And then press the wireless activation button on the tool in the same way.
If the vacuum cleaner and the tool are linked successfully, the wireless activation lamps will light up in green for 2 seconds and start blinking in blue.
NOTE: The wireless activation lamps finish blinking in green after 20 seconds elapsed. Press the wireless activation button on the tool while the wireless activation lamp on the cleaner is blinking. If the wireless activation lamp does not blink in green, push the wireless activation button briefly and hold it down again.
NOTE: When performing two or more tool registrations for one vacuum cleaner, finish the tool registration one by one.
Starting the wireless activation function
NOTE
- Finish the tool registration for the vacuum cleaner prior to the wireless activation.
- Refer to the instruction manual of the vacuum cleaner, too.
After registering a tool to the vacuum cleaner, the vacuum cleaner will automatically runs along with the switch operation of the tool.
- Install the wireless unit to the tool.

- Connect the hose of the vacuum cleaner with the tool.

- Set the stand-by switch on the vacuum cleaner to “AUTO”.

- Push the wireless activation button on the tool briefly. The wireless activation lamp will blink in blue.
- Turn on the tool. Check if the vacuum cleaner runs while the tool is operating. To stop the wireless activation of the vacuum cleaner, push the wireless activation button on the tool.
NOTE
- The wireless activation lamp on the tool will stop blinking in blue when there is no operation for 2 hours. In this case, set the stand-by switch on the vacuum cleaner to “AUTO” and push the wireless activation button on the tool again.
- The vacuum cleaner starts/stops with a delay. There is a time lag when the vacuum cleaner detects a switch operation of the tool.
- The transmission distance of the wireless unit may vary depending on the location and surrounding circumstances.
- When two or more tools are registered to one vacuum cleaner, the vacuum cleaner may start running even if you do not turn on your tool because another user is using the wireless activation function.
Description of the wireless activation lamp status

- Wireless activation lamp
The wireless activation lamp shows the status of the wireless activation function. Refer to the table below for the meaning of the lamp status.

Canceling tool registration for the vacuum cleaner
Perform the following procedure when canceling the tool registration for the vacuum cleaner.
- Install the batteries to the vacuum cleaner and the tool.

- Set the stand-by switch on the vacuum cleaner to “AUTO”.

- Press the wireless activation button on the vacuum cleaner for 6 seconds. The wireless activation lamp blinks in green and then become red. After that, press the wireless activation button on the tool in the same way.
If the cancellation is performed successfully, the wireless activation lamps will light up in red for 2 seconds and start blinking in blue.
NOTE: The wireless activation lamps finish blinking in red after 20 seconds elapsed. Press the wireless activation button on the tool while the wireless activation lamp on the cleaner is blinking. If the wireless activation lamp does not blink in red, push the wireless activation button briefly and hold it down again.
Troubleshooting for wireless activation function
Before asking for repairs, conduct your own inspection first. If you find a problem that is not explained in the manual, do not attempt to dismantle the tool. Instead, ask Makita Authorized Service Centers, always using Makita replacement parts for repairs.
| State of abnormality | Probable cause (malfunction) | Remedy |
| The wireless activation lamp does not light/blink. | The wireless unit is not installed into the tool. The wireless unit is improperly installed into the tool. | Install the wireless unit correctly. |
| The terminal of the wireless unit and/or the slot is dirty. | Gently wipe off dust and dirt on the terminal of the wireless unit and clean the slot. | |
| The wireless activation button on the tool has not been pushed. | Push the wireless activation button on the tool briefly. | |
| The stand-by switch on the vacuum cleaner is not set to “AUTO”. | Set the stand-by switch on the vacuum cleaner to “AUTO”. | |
| No power supply | Supply the power to the tool and the vacuum cleaner. | |
| Cannot finish tool registration / can- celling tool registration successfully. | The wireless unit is not installed into the tool. The wireless unit is improperly installed into the tool. | Install the wireless unit correctly. |
| The terminal of the wireless unit and/or the slot is dirty. | Gently wipe off dust and dirt on the terminal of the wireless unit and clean the slot. | |
| The stand-by switch on the vacuum cleaner is not set to “AUTO”. | Set the stand-by switch on the vacuum cleaner to “AUTO”. | |
| No power supply | Supply the power to the tool and the vacuum cleaner. | |
| Incorrect operation | Push the wireless activation button briefly and perform the tool registration/cancellation procedures again. | |
| The tool and vacuum cleaner are away from each other (out of the transmission range). | Get the tool and vacuum cleaner closer to each other. The maximum transmission distance is approximately 10 m however it may vary according to the circumstances. | |
| Before finishing the tool registration/ cancellation; – the switch of the tool is turned on or; – the power button on the vacuum cleaner is turned on. | Push the wireless activation button briefly and perform the tool registration/cancellation procedures again. | |
| The tool registration procedures for the tool or vacuum cleaner have not finished. | Perform the tool registration procedures for both the tool and the vacuum cleaner at the same timing. | |
| Radio disturbance by other appliances which generate high-intensity radio waves. | Keep the tool and vacuum cleaner away from the appliances such as Wi-Fi devices and microwave ovens. |
| State of abnormality | Probable cause (malfunction) | Remedy |
| The vacuum cleaner does not run along with the switch operation of the tool. | The wireless unit is not installed into the tool. The wireless unit is improperly installed into the tool. | Install the wireless unit correctly. |
| The terminal of the wireless unit and/or the slot is dirty. | Gently wipe off dust and dirt on the terminal of the wireless unit and clean the slot. | |
| The wireless activation button on the tool has not been pushed. | Push the wireless activation button briefly and make sure that the wireless activation lamp is blinking in blue. | |
| The stand-by switch on the vacuum cleaner is not set to “AUTO”. | Set the stand-by switch on the vacuum cleaner to “AUTO”. | |
| More than 10 tools are registered to the vacuum cleaner. | Perform the tool registration again. If more than 10 tools are registered to the vacuum cleaner, the tool registered earliest will be cancelled automatically. | |
| The vacuum cleaner erased all tool registrations. | Perform the tool registration again. | |
| No power supply | Supply the power to the tool and the vacuum cleaner. | |
| The tool and vacuum cleaner are away from each other (out of the transmission range). | Get the tool and vacuum cleaner closer each other. The maximum transmission distance is approxi- mately 10 m however it may vary according to the circumstances. | |
| Radio disturbance by other appliances which generate high-intensity radio waves. | Keep the tool and vacuum cleaner away from the appliances such as Wi-Fi devices and microwave ovens. | |
| The vacuum cleaner runs while the tool is not operating. | Other users are using the wireless activation of the vacuum cleaner with their tools. | Turn off the wireless activation button of the other tools or cancel the tool registration of the other tools. |
MAINTENANCE
CAUTION: Always be sure that the tool is switched off and the battery cartridge is removed before attempting to perform inspection or maintenance.
NOTICE: Never use gasoline, benzine, thinner, alcohol or the like. Discoloration, deformation or cracks may result.
To maintain product SAFETY and RELIABILITY, repairs, any other maintenance or adjustment should be performed by Makita Authorized or Factory Service Centers, always using Makita replacement parts.
OPTIONAL ACCESSORIES
CAUTION: These accessories or attachments are recommended for use with your Makita tool specified in this manual. The use of any other accessories or attachments might present a risk of injury to persons. Only use accessory or attachment for its stated purpose.
If you need any assistance for more details regarding these accessories, ask your local Makita Service Center.
- Carbide-tipped drill bits (SDS-Plus carbide-tipped bits)
- Core bit
- Bull point
- Diamond core bit
- Cold chisel
- Scaling chisel
- Grooving chisel
- Drill chuck set (chuck adapter / drill chuck)
- Bit grease
- Depth gauge
- Blow-out bulb
- Dust cup
- Dust cup set
- Spacer (for HR008G)
- Hook set
- Dust case set
- Filter set
- Joint
- Dust collection system
- Wireless unit
- Safety goggles
- Makita genuine battery and charger
NOTE: Some items in the list may be included in the tool package as standard accessories. They may differ from country to country.
ADDRESS
Makita Europe N.V.
- Jan-Baptist Vinkstraat 2, 3070 Kortenberg, Belgium
Makita Corporation
- 3-11-8, Sumiyoshi-cho, Anjo, Aichi 446-8502 Japan
885964-223
EN
20211207




Spacer


































