REALMIC MC6S Wireless Mobile Recording Microphone Instructions
Preamble
Thank you for choosing our Wireless Mobile Recording Microphone. A perfect choice for mobile recording needs: easy and flexible wireless synchronization between transmitter and receiver, compact and lightweight, easy to carry and install. It can be widely used in field interviews, film recordings, program hosting, special interviews, teaching and training, and other wireless applications. It operates in the UHF frequency band, and the signal stability is not subject to interference. Its precise design ensures the safe and reliable operation of the process.
This product line includes the following models:
MC6: Equipped with 1pc transmitter and 1pc dual-channel receiver
MC6S: Equipped with 2pcs transmitters and 1 pc dual channel receiver. Two transmitters can be used simultaneously
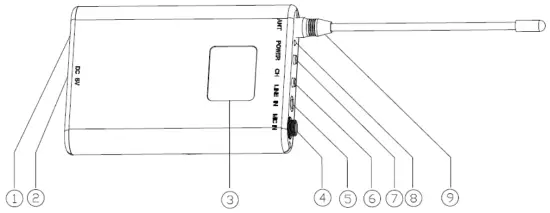
The operating controls
Receiver

- Charging indicator: lights on while charging, lights off after fully charged
- DC 5V charging input socket: DC-5V, 0.3A-2A
- Information display
- MIC IN socket
- LINE IN socket
- Channel button: press to adjust channel when standby; short press the power switch to enter the volume interface, then press the channel button can adjust volume accordingly
- Power switch: press and hold for 1 second to turn on or off; short press to enter the volume interface and adjust the volume by the channel button
- On/off indicator
- 1/4 wavelength antenna
Transmitter

- Fixing holder
- Locking knob
- Headphone output
- Power switch
- On/off indicator
- Info indicator: lights in blue while receiver is connected to channel A of the transmitter, lights in red while receiver is connected to channel B of the transmitter, lights in purple while both channels are connected. Flashes when battery is low.
- Volume control
- LINE OUT socket
- Fixing holder
- Charging indicator: lights on while charging, lights off after fully charged
- DC 5V charging input socket: DC-5V, 0.3A-2A
- I /4 expanding hole
Features
- UHF wireless digital encryption technology for stable performance
- Wireless synchronization between transmitter and receiver makes it easy to configure and use
- Max. preset 20 channels (5 frequency banks, each with 4 preset channels)
- Equipped with headphone output socket for real-time monitoring
- Transmitter with volume control for wide range of application
- WNCR noise control technology provides low ground noise
- Integrated high-performance ADC/DAC convertor delivers the highest audio quality
- With digital ID management function for using several sets simultaneously without mutual interference
- Automatic detection of CT1A/OMTF,’ compatible with all brands of mobile phones
- Built-in U batteries for recyclable use
Troubleshooting
| No signal connection between receiver and transmitter, or connection failed | The distance is beyond the operating range, please shorten the operating range: Outdoor effective operating range is 50 meters, in case of shelter or indoor use, the distance will be reduced accordingly |
| If it gets interference, please change the transmitter to a different channel | |
| Re-matching ID: First make sure the transmitter Is off; press the power button and channel setting button of the transmitter till its display panel starts to flash (under ID matching mode); then turn on the receiver. Restart the transmitter and receiver after 3 seconds. | |
| Audio signal is distorted when speak loudly | As the lavalier microphone is with high•sensitIvity capsule, please adjust the distance between the microphone and the sound source. |
| The mic input level of the video camera Is too high, please set the MIC volume of the camera (video camera) at level 1/3–1/2, or make sure the camera display shows that the microphone Is not distorted. | |
| No sound / small sound | Check if the transmitter microphone plug and receiver output plug are fully inserted into the socket and locked |
| Check the camera (video camera) volume setting, or the phone app microphone volume and permission settings | |
| Short operating distance | The distance can be affected by the buildings that blocks the transmitter and receiver |
| The antenna of transmitter and receiver should not be covered by objects, in order to facilitate signal transmission | |
| In a crowded environment, the human body will attenuate the radio waves, please make sure the transmitter and receiver are not blocked | |
| If it gets interference, please change the transmit to a different channel | |
| Short battery life | Exceeding the specified operating temperature will affect the Li battery performance |
| The battery performance will decrease after more than 500 charging cycles. Please replace with fresh batteries. | |
| Check whether the microphone windscreen is put on | |
| Do not use the microphone in the windward position or in front of the fan | |
| Cell phone interference noise | While recording by cell phone, please set the phone at flight mode to avoid interference noise |
| Other noise | When the transmitter or receiver is with low battery, the product performance will be reduced and cause slight noise. Please charge the battery In time. |
| When the transmitter or receiver is under charging, it may be affected by interne signal and generate noise. | |
| Noise generated by interference from other radio equipment, please change the transmit to a different channel | |
| Interfered by high-powered electrical equipment, such as induction cooktops, microwave ovens, distribution boxes, etc., please keep away from these equipment |
Precautions
- This product is a precise electronic device, which should avoid watering or heavy fall; if it gets wet, please dry it in time, and hand it up to professional technician for further checking.
- When not using for a long time, the battery should be fully charged every three months to maintain the high performance of the battery.
Specifications
Frequency range: Band A: 499.1 MHz- 509.1 MHz,Band B: 487 MHz- 497 MHz
Modulation: DQPSK
Frequency Response: 30 Hz – 18KHz
Microphone type: Condenser, Omni
Channels: each set with 4 preset channels(Max. preset 20 channels)
Transmit Power: 5.10mW
S/N Ratio: 96dB
Power supply: DC3.7V (built-in Li-battery) or DC-5V/0.3-2A external power input
Recharging input: DC-5V/0.3-2A
Recharging period: 3-5hrs
Operating Time: 6-8hrs
Operating range: 50 meters at outdoor open area
Operating temperature: 0 °C to 55°C
Storage temperature: -20°C to +55°C
Dimensions: 87x57x14mm
Net weight: 90 g
Delivery includes
MC6:
Transmitter xl ,receiver x1, camera audio cable x1, cell phone audio cable x1 lavalier microphone x1, shoe-mounted connector x1, recharging cable x1, user manual x1
MC65:
Transmitter x2,receiver x1, camera audio cable x1, cell phone audio cable x1 lavalier microphone x2, shoe-mounted connector x1, recharging cable x2, user manual x1
Start using
- Connect the microphone to the MIC socket of the transmitter, make sure it is fully plugged in and securely locked.
- How to mount the receiver onto the recording device: Turn the locking knob counterclockwise for one round, pull out the fixing holder, put the cell phone in and adjust the holder to grasp the cell phone correctly, then turn the locking knob clockwise until the phone is effectively fixed. As shown below:

- Use the cell phone audio cable, plug the 3-pole end into the LINE OUT socket of the receiver, and connect the 4-pole end to the headphone socket of the cell phone.
- How to mount the receiver onto the camera (video camera), as shown below:
Pic 1: fix the shoe mount connector on
Pic 2: mount the receiver onto the camera, and connect them by the camera audio cable
- Turn on the transmitter and receiver, the receiver will connect with the transmitter immediately. If the connection failed, press the power button and channel setting button of the transmitter (when it is power off) at the same time for 3 seconds, the display panel of the transmitter starts to flash (under ID matching mode); then turn on the receiver, it will automatically connect with the transmitter and reconfigure its ID code in 3 seconds. And then restart both transmitter and receiver.
- Transmitter is with volume control function. Turn on the transmitter, short press the power switch to enter the volume interface, then press the channel button can adjust volume accordingly. The volume can be adjusted from U00—U10 with 11 levels in total, U10 is the maximum volume.
- If there is other wireless signal interference during use, resulting in a significantly shorter usage distance, simply change the channel of the transmitter, the receiver will automatically track and connect.
- Please follow below setup steps in order to use more devices simultaneously:
- Step 1: Turn off the 1st set of the device (both transmitter and receiver)
- Step 2: Press the power button and channel setting button of the transmitter (from the 2nd set) at the same time for 3 seconds, the display panel of the transmitter starts to flash (under ID matching mode); then turn on the receiver (from the 2nd set), it will automatically connect with the transmitter and reconfigure its ID code in 3 seconds. And then turn off the 2nd set (both transmitter and receiver)
- Step 3: Press the power button and channel setting button of the transmitter(from the 3rd set)at the same time for 3 seconds, the display panel of the transmitter starts to flash (under ID matching mode); then turn on the receiver (from the 3rd set), it will automatically connect with the transmitter and reconfigure its ID code in 3 seconds. And then turn off the 3rd set (both transmitter and receiver)
If you need more sets, just repeat the above steps to set up. Make sure not to use the same frequencies, if it gets interference, please change the transmitter to a different channel.
4 channels can be operated simultaneously. (namely 4 sets MC6 can be operated simultaneously, or 2 sets MC6S can be operated simultaneously)
FCC Warning
This device complies with part 15 of the FCC Rules. Operation is subject to the following two conditions: (1) This device may not cause harmful interference, and (2) this device must accept any interference received, including interference that may cause undesired operation.
Any Changes or modifications not expressly approved by the party responsible for compliance could void the user’s authority to operate the equipment.
Note: This equipment has been tested and found to comply with the limits for a Class B digital device, pursuant to part 15 of the FCC Rules. These limits are designed to provide reasonable protection against harmful interference in a residential installation. This equipment generates uses and can radiate radio frequency energy and, if not installed and used in accordance with the instructions, may cause harmful interference to radio communications.
However, there is no guarantee that interference will not occur in a particular installation. If this equipment does cause harmful interference to radio or television reception, which can be determined by turning the equipment off and on, the user is encouraged to try to correct the interference by one or more of the following measures:
- Reorient or relocate the receiving antenna.
- Increase the separation between the equipment and receiver.
- Connect the equipment into an outlet on a circuit different from that to which the receiver is connected.
- Consult the dealer or an experienced radio/TV technician for help.
The device has been evaluated to meet general RF exposure requirement. The device can be used in portable exposure condition without restriction.





















