HiKOKI P14DSL 18V Cordless Planers

OVERVIEW
| 1 | Planing |
| 2 | Beveling |
| 3 | Rabberting |
| 4 | Tapering |
| 5 | Rechargeable battery |
| 6 | Latch |
| 7 | Battery cover |
| 8 | Terminals |
| 9 | Ventilation holes |
| 10 | Push |
| 11 | Pull out |
| 12 | Handle |
| 13 | Charger |
| 14 | Pilot lamp |
| 15 | Switch lock |
| 16 | Switch trigger |
| 17 | Remaining battery indicator switch |
| 18 | Remaining battery indicator lamp |
| 19 | Knob |
| 20 | Scale |
| 21 | Mark |
| 22 | Beginning of cutting operation |
| 23 | End of cutting operation |
| 24 | Stand |
| 25 | Set screw |
| 26 | Guide |
| 27 | Box wrench |
| 28 | Blade holder |
| 29 | Carbide blade (Double edged blade type) |
| 30 | Set plate (B) |
| 31 | Bolt |
| 32 | Machine screw |
| 33 | Turned surface |
| 34 | Set plate (A) |
| 35 | Set gauge |
| 36 | Wall surface b |
| 37 | Flat portion of the cutter block |
| 38 | Groove |
| 39 | Blade (Resharpenable blade type) |
| 40 | Cutter block |
| 41 | Wall surface a |
| 42 | Chip cover |
| 43 | Screw D4 × 16 |
| 44 | Dust adapter |
| 45 | Elbow |
| 46 | Dust bag |
| 47 | Wear limit |
| 48 | Nail of carbon brush |
| 49 | Protrusion of carbon brush |
| 50 | Brush cap |
| 51 | Contact portion outside brush tube |
Symbols
- WARNING
The following show symbols used for the machine. Be sure that you understand their meaning before use. - Read all safety warnings and all instructions. Failure to follow the warnings and instructions may result in electric shock, fi re and/or serious injury.
- Only for EU countries
Do not dispose of electric tools together with household waste material! In observance of European Directive 2002/96/EC on waste electrical and electronic equipment and its implementation in accordance with national law, electric tools that have reached the end of their life must be collected separately and returned to an environmentally compatible recycling facility. - no-load speed
- Revolutions or reciprocations per minute
- Direct current
- Caution
- Volts
- Kilograms
GENERAL POWER TOOL SAFETY WARNINGS
WARNING
Read all safety warnings and all instructions.
Failure to follow the warnings and instructions may result in electric shock, fi re and/or serious injury.
Save all warnings and instructions for future reference
The term “power tool” in the warnings refers to your mains-operated (corded) power tool or battery-operated (cordless) power tool.
Work area safety
- Keep work area clean and well lit.
Cluttered or dark areas invite accidents. - Do not operate power tools in explosive atmospheres, such as in the presence of fl ammable liquids, gases or dust.
Power tools create sparks which may ignite the dust or fumes. - Keep children and bystanders away while operating a power tool.
Distractions can cause you to lose control.
Electrical safety
- Power tool plugs must match the outlet. Never modify the plug in any way. Do not use any adapter plugs with earthed (grounded) power tools. Unmodifi ed plugs and matching outlets will reduce risk of electric shock.
- Avoid body contact with earthed or grounded surfaces, such as pipes, radiators, ranges and refrigerators.
There is an increased risk of electric shock if your body is earthed or grounded. - Do not expose power tools to rain or wet conditions.
Water entering a power tool will increase the risk of electric shock. - Do not abuse the cord. Never use the cord for carrying, pulling or unplugging the power tool. Keep cord away from heat, oil, sharp edges or moving parts.
Damaged or entangled cords increase the risk of electric shock. - When operating a power tool outdoors, use an extension cord suitable for outdoor use.
Use of a cord suitable for outdoor use reduces the risk of electric shock. - If operating a power tool in a damp location is unavoidable, use a residual current device (RCD) protected supply.
Use of an RCD reduces the risk of electric shock.
Personal safety
- Stay alert, watch what you are doing and use common sense when operating a power tool. Do not use a power tool while you are tired or under the infl uence of drugs, alcohol or medication. A moment of inattention while operating power tools may result in serious personal injury.
- Use personal protective equipment. Always wear eye protection. Protective equipment such as dust mask, non-skid safety shoes, hard hat, or hearing protection used for appropriate conditions will reduce personal injuries.
- Prevent unintentional starting. Ensure the switch is in the off -position before connecting to a power source and/or battery pack, picking up or carrying the tool. Carrying power tools with your fi nger on the switch or energizing power tools that have the switch on invites accidents.
- Remove any adjusting key or wrench before turning the power tool on.
A wrench or a key left attached to a rotating part of the power tool may result in personal injury. - Do not overreach. Keep proper footing and balance at all times.
This enables better control of the power tool in unexpected situations. - Dress properly. Do not wear loose clothing or jewelry. Keep your hair, clothing, and gloves away from moving parts.
Loose clothes, jewelry or long hair can be caught in moving parts. - If devices are provided for the connection of dust extraction and collection facilities, ensure these are connected and properly used. The use of dust collection can reduce dust-related hazards.
Power tool use and care
- Do not force the power tool. Use the correct power tool for your application.
The correct power tool will do the job better and safer at the rate for which it was designed. - Do not use the power tool if the switch does not turn it on and off.
Any power tool that cannot be controlled with the switch is dangerous and must be repaired. - Disconnect the plug from the power source and/or the battery pack from the power tool before making any adjustments, changing accessories, or storing power tools.
Such preventive safety measures reduce the risk of starting the power tool accidentally. - Store idle power tools out of the reach of children and do not allow persons unfamiliar with the power tool or these instructions to operate the power tool.
Power tools are dangerous in the hands of untrained users. - Maintain power tools. Check for misalignment or binding of moving parts, breakage of parts and any other condition that may aff ect the power tools’ operation.
If damaged, have the power tool repaired before use.
Many accidents are caused by poorly maintained power tools. - Keep cutting tools sharp and clean.
Properly maintained cutting tools with sharp cutting edges are less likely to bind and are easier to control. - Use the power tool, accessories and tool bits etc. in accordance with these instructions, taking into account the working conditions and the work to be performed.
Use of the power tool for operations different from those intended could result in a hazardous situation.
Battery tool use and care
- Recharge only with the charger specifi ed by the manufacturer.
A charger that is suitable for one type of battery pack may create a risk of fi re when used with another battery pack. - Use power tools only with specifi cally designated battery packs. Use of any other battery packs may create a risk of injury and fire.
- When battery pack is not in use, keep it away from other metal objects like paper clips, coins, keys, nails, screws, or other small metal objects that can make a connection from one terminal to another. Shorting the battery terminals together may cause burns or a fire.
- Under abusive conditions, liquid may be ejected from the battery; avoid contact. If contact accidentally occurs, fl ush with water. If liquid contacts eyes, additionally seek medical help. Liquid ejected from the battery may cause irritation or burns.
Service
Have your power tool serviced by a qualifi ed repair person using only identical replacement parts. This will ensure that the safety of the power tool is maintained.
PRECAUTION
Keep children and infi rm persons away. When not in use, tools should be stored out of reach of children and infi rm persons.
CORDLESS PLANER SAFETY WARNINGS
- Wait for the cutter to stop before settling the tool down. An exposed rotating cutter may engage the surface leading to possible loss of control and serious injury.
- Use clamps or another practical way to secure and support the workpiece to a stable platform. Holding the work by your hand or against the body leaves it unstable and may lead to loss of control.
- Do not use the Planer with the blades facing upward (as a stationary-type planer).
- Always charge the battery at a temperature of 0 – 40°C. A temperature of less than 0°C will result in overcharging which is dangerous. The battery cannot be charged at a temperature greater than 40°C. The most suitable temperature for charging is of 20 – 25°C.
- Do not use the charger continuously. When one charging is completed, leave the charger for about 15 minutes before the next charging of the battery.
- Do not allow foreign matter to enter the hole for connecting the rechargeable battery.
- Never disassemble the rechargeable battery and charger.
- Never short-circuit the rechargeable battery. Short-circuiting the battery will cause a great electric current and overheat. It results in burn or damage to the battery.
- Do not dispose of the battery in fire. If the battery burns, it may explode.
- Do not insert objects into the air ventilation slots of the charger. Inserting metal objects or inflammables into the charger air ventilation slots will result in an electrical shock hazard or damaged charger.
- Bring the battery to the shop from which it was purchased as soon as the post-charging battery life becomes too short for practical use. Do not dispose of the exhausted battery.
- Using an exhausted battery will damage the charger.
CAUTION ON LITHIUM-ION BATTERY
To extend its lifetime, the lithium-ion battery equips with a protection function to stop the output. In the cases of 1 to 3 described below, when using this product, even if you are pulling the switch, the motor may stop. This is not the trouble but the result of the protection function.
- When the battery power remaining runs out, the motor stops. In such case, charge it up immediately.
- If the tool is overloaded, the motor may stop. In this case, release the switch of tool and eliminate causes of overloading. After that, you can use it again.
- If the battery is overheated under overload work, the battery power may stop. In this case, stop using the battery and let the battery cool. After that, you can use it again.
Furthermore, please heed the following warning and caution.
WARNING
In order to prevent any battery leakage, heat generation, smoke emission, explosion and ignition beforehand, please be sure to heed the following precautions.
- Make sure that swarf and dust do not collect on the battery.
- During work make sure that swarf and dust do not fall on the battery.
- Make sure that any swarf and dust falling on the power tool during work do not collect on the battery.
- Do not store an unused battery in a location exposed to swarf and dust.
- Before storing a battery, remove any swarf and dust that may adhere to it and do not store it together with metal parts (screws, nails, etc.).
- Do not pierce the battery with a sharp object such as a nail, strike with a hammer, step on, throw or subject the battery to severe physical shock.
- Do not use an apparently damaged or deformed battery.
- Do not use the battery in reverse polarity.
- Do not connect directly to electrical outlets or car cigarette lighter sockets.
- Do not use the battery for a purpose other than those specified.
- If the battery charging fails to complete even when a specifi ed recharging time has elapsed, immediately stop further recharging.
- Do not put or subject the battery to high temperatures or high pressure such as into a microwave oven, dryer, or high-pressure container.
- Keep away from fi re immediately when leakage or foul odor are detected.
- Do not use in a location where strong static electricity generates.
- If there is battery leakage, foul odor, heat generated, discolored or deformed, or in any way appears abnormal during use, recharging or storage, immediately remove it from the equipment or battery charger, and stop use.
CAUTION
- If liquid leaking from the battery gets into your eyes, do not rub your eyes and wash them well with fresh clean water such as tap water and contact a doctor immediately.
If left untreated, the liquid may cause eye problems. - If liquid leaks onto your skin or clothes, wash well with clean water such as tap water immediately. There is a possibility that this can cause skin irritation.
- If you find rust, foul odor, overheating, discolor, deformation, and/or other irregularities when using the battery for the first time, do not use and return it to your supplier or vendor.
WARNING
If an electrically conductive foreign object enters the terminals of the lithium-ion battery, a short-circuit may occur resulting in the risk of fi re. Please observe the following matters when storing the battery.
- Do not place electrically conductive cuttings, nails, steel wire, copper wire or other wire in the storage case.
- Either install the battery in the power tool or store by securely pressing into the battery cover until the ventilation holes are concealed to prevent short-circuits (See Fig. 5).
SPECIFICATIONS
| Model | P14DSL | P18DSL | |
| Cutting Width | 82 mm | ||
| Max. Cutting Depth | 2.0 mm | ||
| No-load speed | 16000 min-1 | ||
| Rechargeable battery | 2LSRK | BSL1430: Li-ion 14.4 V (3.0 Ah 8 cells) | BSL1830: Li-ion 18 V (3.0 Ah 10 cells) |
| 2LJRK | BSL1450: Li-ion 14.4 V (5.0 Ah 8 cells) | BSL1850: Li-ion 18 V (5.0 Ah 10 cells) | |
| Weight* | 3.2 kg (With BSL1430) | 3.3 kg (With BSL1830) | |
Weight: According to EPTA-Procedure 01/2003
CHARGER
| Model | UC18YFSL |
| Charging voltage | 14.4 V – 18 V |
| Weight | 0.5 kg |
STANDARD ACCESSORIES
In addition to the main unit (1), the package contains the accessories listed in the table below.
| 1 Box Wrench…………………………………………………… 1 (for securing cutter blade) | |
| 2 Set Gauge……………………………………………………… 1 (for adjusting cutter height) | |
| P14DSL (2LSRK) (2LJRK) | 3 Guide……………………………………………………………… 1 (with set screw) |
| 4 Carbide Blade………………………………………………… 2 (Double edged Blade type) | |
| P18DSL (2LSRK) (2LJRK) | 5 Charger………………………………………………………….. 1 |
| 6 Battery…………………………………………………………… 2 [P14DSL] BSL1430 or BSL1450 [P18DSL] BSL1830 or BSL1850 | |
| 7 Plastic case……………………………………………………. 1 | |
| 8 Battery cover………………………………………………….. 2 | |
| 9 Spare carbide Blade set………………………………. 1 (Not supplied in all areas) | |
|
P14DSL (NN) P18DSL (NN) | 1 Box Wrench…………………………………………………… 1 (for securing cutter blade) |
| 2 Set Gauge……………………………………………………… 1 (for adjusting cutter height) | |
| 3 Guide……………………………………………………………… 1 (with set screw) | |
| 4 Carbide Blade………………………………………………… 2 (Double edged Blade type) | |
| Without chager, battery, plastic case and battery cover. |
Standard accessories are subject to change without notice.
OPTIONAL ACCESSORIES (sold separately)
APPLICATIONS
Planing various wooden planks and panels. (See Fig. 1-4)
BATTERY REMOVAL/INSTALLATION
- Battery removal
Hold the handle tightly and push the battery latch to remove the battery (see Figs. 5 and 6).
CAUTION
Never short-circuit the battery. - Battery installation
Insert the battery while observing its polarities (see Fig. 6).
CHARGING
Before using the power tool, charge the battery as follows.
- Connect the charger’s power cord to the receptacle.
When the power cord is connected, the charger’s pilot lamp will blink in red. (At 1-second intervals)
CAUTION
Do not use the electrical cord if damaged. Has it been repaired immediately? - Insert the battery into the charger.
Firmly insert the battery into the charger, as shown in Fig. 7.
- Charging
When inserting a battery in the charger, charging will commence and the pilot lamp will light continuously in red.
When the battery becomes fully recharged, the pilot lamp will blink in red. (At 1-second intervals) (See Table 1) Pilot lamp indication The indications of the pilot lamp will be as shown in Table 1, according to the condition of the charger or the rechargeable battery.
Regarding the temperatures of the rechargeable battery The temperatures for rechargeable batteries are as shown in Table 2, and batteries that have become hot should be cooled for a while before being recharged.
Table 2 Recharging ranges of batteries
| Rechargeable batteries | Temperatures at which the battery can be recharged |
| BSL1430, BSL1440, BSL1450, BSL1820, BSL1830, BSL1840, BSL1850 | 0°C – 40°C |
Regarding recharging time Depending on the combination of the charger and batteries, the charging time will become as shown in Table 3.
Table 3 Charging time (At 20°C)
| Charger Battery | UC18YFSL |
| BSL1820 | Approx. 30 min. |
| BSL1430, BSL1830 | Approx. 45 min. |
| BSL1440, BSL1840 | Approx. 60 min. |
| BSL1450, BSL1850 | Approx. 75 min. |
NOTE
The charging time may vary according to temperature and power source voltage.
CAUTION
When the battery charger has been continuously used, the battery charger will be heated, thus constituting the cause of the failures. Once the charging has been completed, give 15 minutes rest until the next charging.
Disconnect the charger’s power cord from the receptacle. Hold the charger fi rmly and pull out the battery.
NOTE
Be sure to pull out the battery from the charger after use, and then keep it.
How to make the batteries perform longer
- Recharge the batteries before they become completely exhausted. When you feel that the power of the tool becomes weaker, stop using the tool and recharge its battery. If you continue to use the tool and exhaust the electric current, the battery may be damaged and its life will become shorter.
- Avoid recharging at high temperatures. A rechargeable battery will be hot immediately after use. If such a battery is recharged immediately after use, its internal chemical substance will deteriorate, and the battery life will be shortened. Leave the battery and recharge it after it has cooled for a while.
CAUTION
- If the battery is charged while it is heated because it has been left for a long time in a location subject to direct sunlight or because the battery has just been used, the pilot lamp of the charger lights for 1 second, does not light for 0.5 seconds (off for 0.5 seconds). In such a case, first let the battery cool, then start charging.
- When the pilot lamp flickers in red (at 0.2-seconds intervals), check for and take out any foreign objects in the charger’s battery connector. If there are no foreign objects, it is probable that the battery or charger is malfunctioning. Take it to your authorized Service Center.
- Since the built-in microcomputer takes about 3 seconds to confirm that the battery being charged with UC18YFSL is taken out, wait for a minimum of 3 seconds before reinserting it to continue charging. If the battery is reinserted within 3 seconds, the battery may not be properly charged.
- If the pilot lamp does not blink in red (every second) even though the charger cord is connected to the power, it indicates that the protection circuit of the charger may be activated. Remove the cord from the power and then connect it again after 30 seconds or so. If this does not cause the pilot lamp to blink in red (every second), please take the charger to the HiKOKI Authorized Service Center.
PRIOR TO OPERATION
- Setting up and checking the work environment Check if the work environment is suitable by following the precautions.
- Power switch
Ensure that the power switch is in the OFF position. If the battery is attached to the body while the power switch is in the ON position, the power tool will start operating immediately, which could cause a serious accident. - Prepare a stable wooden workbench suitable for planning operations. As a poorly balanced workbench creates a hazard, ensure it is securely positioned on fi rm, level ground.
PLANNING PROCEDURES
- Operation of the switch (Fig. 8)
- For the safe operation of the machine, a “switch lock” is provided on the side of a handle.
If the “switch trigger” is pulled in a state where the “switch lock” is pressed in the direction of the arrow mark, the main switch can be turned ON. - After the switch is turned ON, even when you release your hand from the switch lock, the body continues running and the light continues being turned ON as long as you keep on pulling the switch trigger.
- If you release the switch trigger, you can turn OFF the switch and the “switch lock” returns to the original position automatically.
CAUTION
Do not fi x and secure the switch lock. Besides, keep your finger off the switch trigger when the planer is being carried around. Otherwise, the main body switch can be inadvertently turned ON, resulting in unexpected accidents.
- For the safe operation of the machine, a “switch lock” is provided on the side of a handle.
- About the remaining battery indicator
When pressing the remaining battery indicator switch, the remaining battery indicator lamp lights and the battery’s remaining power can be checked. (Fig. 9)
- When releasing your finger from the remaining battery indicator switch, the remaining battery indicator lamp goes off. Table 4 shows the state of the remaining battery indicator lamp and the battery’s remaining power.
As the remaining battery indicator shows somewhat differently depending on ambient temperature and battery characteristics, read it as a reference.
NOTE- Do not give a strong shock to the switch panel or break it. It may lead to trouble.
- To save the battery power consumption, the remaining battery indicator lamp lights while pressing the remaining battery indicator switch.
- Adjusting the cutter depth
- Turn the knob in the direction indicated by the arrow in Fig. 10 (clockwise), until the triangular mark is aligned with the desired cutting depth on the scale. The scale unit is graduated in millimeters.
- The cutting depth can be adjusted within a range of 0-2.0 mm.
- Surface cutting
Rough cutting should be accomplished at large cutting depths and at a suitable speed so that shavings are smoothly ejected from the machine. To ensure a smoothly fi nished surface, fi nish cutting should be accomplished at small cutting depths and at low feeding speed. - Beginning and ending the cutting operation
As shown in Fig. 11, place the front base of the planer on the material and support the planer horizontally. Turn ON the power switch, and slowly operate the planer toward the leading edge of the material. Firmly depress the front half of the planer at the fi rst stage of cutting, as shown in Fig. 12, depress the rear half of the planer at the end of the cutting operation. The planer must always be kept fl at throughout the entire cutting operation. - Precaution after fi nishing the planing operation When the planer is suspended with one hand after fi nishing the planing operation, ensure that the cutting blades (base) of the planer do not contact or come too near your body. Failure to do so could result in serious injury.
- Stand
Lift the back of the planer to extend the foot from the base. Having the stand extended when you put the planer down prevents contact between the blade and the material. (Fig. 13) - Regulating the guide (Fig. 14)
The planning position can be regulated by moving the guide to the left or right after loosening its set screw. The guide may be mounted on either the right or left side of the tool.

Work Precautions
- About Continuous Operation
This tool is provided with a protective function to extend battery life. The battery may become overheated during continuous operation or deep cutting operations, which may cause it to automatically stop. Especially with any of the batteries listed below, the tool may stop operation before the battery starts to get hot to prevent rapid failure from overheating. If this happens, stop operation, remove the battery from the tool and leave it in a well-ventilated location not exposed to sunlight until it is suffi ciently cool. The battery can be used again once it is cool. (Applicable batteries: BSL1425, BSL1420, BSL1415, BSL1825, BSL1820, BSL1815 and old batteries) - Proper Battery Usage
When the tool is used with any of the batteries listed below, it should be used for light work to extend battery life. Work example: Shallow depth fi nishing and chamfering work (Applicable batteries: BSL1425, BSL1420, BSL1415, BSL1825, BSL1820, BSL1815 and old batteries).
CARBIDE BLADE ASSEMBLY AND DISASSEMBLY AND ADJUSTMENT OF CUTTER BLADE HEIGHT (FOR DOUBLE-EDGED BLADE TYPE)
- Carbide blade disassembly
CAUTION- To prevent accidents, ensure that the power tool is switched off and pull out the battery.
- Be careful not to injure your hands.
- As shown in Fig. 15, loosen the blade holder with the attached box wrench.
- As shown in Fig. 16, remove the carbide blade by sliding it with the attached box wrench.
- Carbide blade assembly
CAUTION - To prevent accidents, ensure that the power tool is switched off and pull out the battery.
- Prior to assembly, thoroughly wipe off all swarf accumulated on the carbide blade.
- As shown in Fig. 17, lift set plate (B) and insert the new carbide blade between cutter block and set plate (B).
- As shown in Fig. 18, mount the new carbide blade by sliding it on the set plate (B) so that the blade tip projects by 1mm from the end of the cutter block.
- As shown in Fig. 19, fi x the bolts at the blade holder after blade replacement has been completed.
- Turn the cutter block over, and set the other side in the same manner.
- Adjustment of carbide blade height
CAUTION- To prevent accidents, ensure that the power tool is switched off and pull out the battery.
- If the carbide blade’s heights are inaccurate after above procedures have been completed, carry out the procedures described below.
- As shown in Fig. 20, use the box wrench to loosen the three bolts used to retain the carbide blade, and remove the blade holder.
- As shown in Fig. 21, after removing the carbide blade, slide set plate (B) in the direction indicated by the arrow to disassemble set plate (B).
- Loosen the 2 screws holding on the carbide blade and set plate (A), set plate (B).




- As shown in Fig. 22, 23, press the turned surface of set plate (A) to the wall surface b while adjusting the carbide blade edge to the wall surface a of the set gauge. Then, tighten them with the 2 screws.
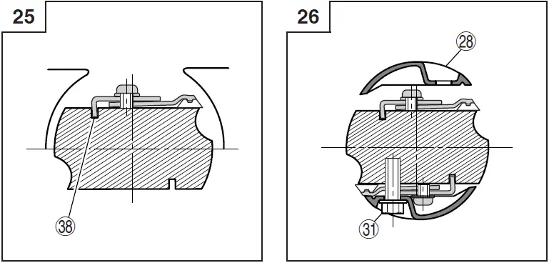
- As shown in Fig. 24, 25, insert a turned portion of set plate (A) attached to set plate (B) into a groove on the flat portion of the cutter block.
- As shown in Fig. 26, place the blade holder on the completed assembly and fasten it with the three bolts. Ensure that the bolts are securely tightened. Follow the same procedures for the opposite side carbide blade.


BLADE ASSEMBLY AND DISASSEMBLY AND ADJUSTMENT OF BLADE HEIGHT (FOR RESHARPENABLE BLADE TYPE)
- Blade disassembly
CAUTION- To prevent accidents, ensure that the power tool is switched off and pull out the battery.
- Be careful not to injure your hands.
- As shown in Fig. 20, use the accessory box wrench to loosen the three bolts used to retain the blade, and remove the blade holder.
- As shown in Fig. 21, slide the blade in the direction indicated by the arrow to disassemble the blade.
- Blade assembly
CAUTION- To prevent accidents, ensure that the power tool is switched off and pull out the battery.
- Prior to assembly, thoroughly wipe off all swarf accumulated on the blade.
- Insert a turned portion of set plate (A) attached to the blade into a groove on the fl at portion of the cutter block. (Fig. 24, 27) Set the blade so that both sides of the blade protrude from the width of the cutter block by about 1 mm (Fig. 28)
- Place the blade holder on the completed assembly, as shown in Fig. 29, and fasten it with the three bolts. Ensure that the bolts are securely tightened.
- Turn the cutter block over, and set the opposite side in the same manner.
- Adjustment of blade height
- Loosen the 2 screws holding on the blade and set plate (A). (Fig. 30)
- Press the turned surface of set plate (A) to the wall surface b while adjusting the blade edge to the wall surface a of the set gauge. Then, tighten them with the 2 screws. (Fig. 22, 31)


SHARPENING THE RESHARPENABLE BLADES
Use of the accessory Blade Sharpening Ass’y is recommended for convenience.
- Use of Blade Sharpening Ass’y
As shown in Fig. 32, two blades can be mounted on the blade sharpening ass’y to ensure that the blade tips are ground at uniform angles. During grinding, adjust the position of the blades so that their edges simultaneously contact the dressing stone as shown in Fig. 33. - Blade sharpening intervals
Blade sharpening intervals depend on the type of wood being cut and the cutting depth. However, sharpening should generally be eff ected after each 500 meters of cutting operation. - Grinding allowance of the cutter blades
As illustrated in Fig. 34, a grinding allowance of 3.5mm is provided for on the cutter blade. That is, the cutter blade can be repeatedly sharpened until its total height is reduced to 24.5 mm.
Grinding Stone
When a water grinding stone is available, use it after dipping it sufficiently in water since such a grinding stone may be worn during grinding procedures, fl atten the upper surface of the grinding stone as frequently as possible.
ATTACHING AND DETACHING THE DUST ADAPTER (OPTIONAL ACCESSORY)
CAUTION
- To prevent accidents, ensure that the power tool is switched off and pull out the battery.
- Follow the procedure below to mount the dust adapter securely. Failure to do so may result in the adapter coming off, causing injury.
- Attaching the dust adapter
- Remove the screw D4 × 16 in the chip cover and remove the chip cover as shown in Fig. 35.
- Mount the dust adapter and secure with the screw D4 × 16. (Fig. 36)

NOTE
Take care not to break the catch when attaching or detaching the dust adapter and chip cover.
- Removing the dust adapter
To remove the dust adapter, follow the procedure above in reverse order.
MAINTENANCE AND INSPECTION
- Inspecting the blades
Continued use of dull or damaged blades will result in reduced cutting efficiency and may cause overloading of the motor. Sharpen or replace the blades as often as necessary. - Handling
CAUTION
The front base, rear base, and cutting depth control knob are precisely machined to obtain specifi cally high precision. If these parts are roughly handled or subjected to heavy mechanical impact, it may cause deteriorated precision and reduced cutting performance. These parts must be handled with particular care. - Inspecting the mounting screws
Regularly inspect all mounting screws and ensure that they are properly tightened. Should any of the screws be loose, retighten them immediately. Failure to do so could result in serious hazards. - Inspecting the carbon brushes (Fig. 37)
The motor employs carbon brushes which are consumable parts. Since an excessively worn carbon brush can result in motor trouble, replace the carbon brush with new one when it becomes worn to or near the “wear limit”. In addition, always keep carbon brushes clean and ensure that they slide freely within the brush holders.
NOTE
When replacing the carbon brush with a new one, be sure to use the HiKOKI Carbon Brush Code No. 999017. - Replacing carbon brushes
After removing the chip cover, take out the carbon brush by first removing the brush cap and then hooking the protrusion of the carbon brush with a slotted head screw driver, etc., as shown in Fig. 38. When installing the carbon brush, choose the direction so that the nail of the carbon brush agrees with the contact portion outside the brush tube. Then push it in with a finger as illustrated in Fig. 39. Lastly, install the brush cap.
CAUTION
Be absolutely sure to insert the nail of the carbon brush into the contact portion outside the brush tube. (You can insert whichever one of the two nails is provided.) Caution must be exercised since any error in this operation can result in the deformed nail of the carbon brush and may cause motor trouble at an early stage. - Maintenance of the motor
The motor unit winding is the very “heart” of the power tool. Exercise due care to ensure the winding does not become damaged and/or wet with oil or water. - Cleaning on the outside
When the planer is stained, wipe with a soft dry cloth or a cloth moistened with soapy water. Do not use chloric solvents, gasoline or paint thinner, for they melt plastics. - Storage
Store the planer in a place in which the temperature is less than 40°C and out of reach of children.
NOTE
Make sure that the battery is fully charged when stored for a long period (3 months or more). The battery with a smaller capacity may not be able to be charged when used if stored for a long period.
NOTE
Storing lithium-ion batteries Make sure the lithium-ion batteries have been fully charged before storing them. Prolonged storage of batteries with a low charge may result in performance deterioration, significantly reducing battery usage time or rendering the batteries incapable of holding a charge.
However, significantly reduced battery usage time may be recovered by repeatedly charging and using the batteries two to five times. If the battery usage time is extremely short despite repeated charging and use, consider the batteries dead and purchase new batteries. - Service parts list
CAUTION
Repair, modifi cation and inspection of HiKOKI Power Tools must be carried out by a HiKOKI Authorized Service Center. This Parts List will be helpful if presented with the tool to the HiKOKI Authorized Service Center when requesting repair or other maintenance. In the operation and maintenance of power tools, the safety regulations and standards prescribed in each country must be observed.
MODIFICATIONS
HiKOKI Power Tools are constantly being improved and modifi ed to incorporate the latest technological advancements. Accordingly, some parts may be changed without prior notice.
Important notice on the batteries for the HiKOKI cordless power tools
Please always use one of our designated genuine batteries. We cannot guarantee the safety and performance of our cordless power tool when used with batteries other than those designated by us, or when the battery is disassembled and modifi ed (such as disassembly and replacement of cells or other internal parts).
GUARANTEE
We guarantee HiKOKI Power Tools in accordance with statutory/country specifi c regulations. This guarantee does not cover defects or damage due to misuse, abuse, or normal wear and tear. In case of a complaint, please send the Power Tool, undismantled, with the GUARANTEE CERTIFICATE found at the end of this Handling instruction, to a HiKOKI Authorized Service Center.
NOTE
Due to HiKOKI’s continuing program of research and development, the specifi cations herein are subject to change without prior notice.
Information concerning airborne noise and vibration
The measured values were determined according to EN60745 and declared in accordance with ISO 4871.
Measured A-weighted sound power level:
- 94 dB (A) (P14DSL)
- 95 dB (A) (P18DSL)
Measured A-weighted sound pressure level:
- 83 dB (A) (P14DSL)
- 84 dB (A) (P18DSL)
Uncertainty KpA: 3 dB (A).
Wear hearing protection. Vibration total values (triax vector sum) determined according to EN60745.
Planing softwood:
Vibration emission value ah =
- 2.6 m/s2 (P14DSL)
- 3.0 m/s2 (P18DSL)
- Uncertainty K = 1.5 m/s2
The declared vibration total value has been measured in accordance with a standard test method and may be used for comparing one tool with another.
It may also be used in a preliminary assessment of exposure.
WARNING
- The vibration emission during the actual use of the power tool can differ from the declared total value depending on the ways in which the tool is used.
- Identify safety measures to protect the operator that is based on an estimation of exposure in the actual conditions of use (taking account of all parts of the operating cycle such as the times when the tool is switched off and when it is running idle in addition to the trigger time).
PARTS LIST

| Item No. | Part Name | Q’TY |
| 1 | CUTTER BLOCK ASS’Y (W/B.B) | 1 |
| 2 | PLANER BLADES | 2 |
| 3 | SET PLATE (B) | 2 |
| 4 | SET PLATE (A) | 2 |
| 5 | WASHER M4 | 4 |
| 6 | MACHINE SCREW M4×5 | 4 |
| 7 | BLADE HOLDER | 2 |
| 8 | BOLT M6 | 6 |
| 9 | PLANER BLADES 82MM | 2 |
| 17 | BALL BEARING 608VVC2PS2L | 2 |
| 19 | BALL BEARING 6200VVCMPS2L | 2 |
| 20 | SCREW PLATE | 1 |
| 21 | TAPPING SCREW D4×16 | 1 |
| 22 | SPRING | 1 |
| 23 | RUBBER PACKING | 1 |
| 24 | FRONT BASE | 1 |
| 25 | SPRING (F) | 1 |
| 26 | KNOB | 1 |
| 27 | KNOB (A) | 1 |
| 28 | LOCK NUT M10 | 1 |
| 29 | KNOB (B) | 1 |
| 30 | WASHER (B) | 1 |
| 31 | NAME PLATE | 1 |
| 32 | TIP COVER | 1 |
| 33 | MACHINE SCREW M4×16 | 3 |
| 34 | BRUSH CAP | 2 |
| 35 | CARBON BRUSH | 2 |
| 36 | BEARING COVER | 1 |
| 37 | TAPPING SCREW (W/FLANGE) D4×12 | 2 |
| 38 | TAPPING SCREW (W/FLANGE) D4×20 | 11 |
| 39 | TAIL COVER | 1 |
| 40 | BRUSH HOLDER | 1 |
| 41 | BRUSH HOLDER (W/FERRITE CORE) | 1 |
| 42 | BELT COVER | 1 |
| 43 | BELT | 1 |
| 44 | PULLY (B) | 1 |
| 45 | END BRACKET | 1 |
| 46 | ARMATURE DC 14.4V | 1 |
| 47 | FAN GUIDE | 1 |
| 48 | MAGNET | 1 |
| 49 | PULLY (A) | 1 |
| 50 | HANDLE COVER | 1 |
| 51 | SWITCH (1P SCREW TYPE) W/O LOCK | 1 |
| 52 | HEX. HD. TAPPING SCREW D4×60 | 2 |
| 53 | WASHER | 2 |
| 54 | HOUSING | 1 |
| Item No. | Part Name | Q’TY |
| 55 | CONTROLLER TERMINAL SET (W/FERRITE CORE) | 1 |
| 56 | REAR BASE | 1 |
| 57 | TAPPING SCREW (W/FLANGE) D4×16 | 4 |
| 58 | STAND | 1 |
| 59 | SPRING | 1 |
| 60-1 | BATTERY( BSL1430 / BSL1450) | 2 |
| 60-2 | BATTERY (BSL1830 / BSL1850) | 2 |
| 502 | BOX WRENCH 10MM | 1 |
| 503 | GUIDE | 1 |
| 504 | STOPPER SCREW M5×14 | 1 |
| 505 | BLADE SHARPENING | 1 |
| 506 | CASE | 1 |
| 507 | SET GAUGE | 1 |
| 508 | BATTERY COVER | 2 |
| 509 | CHARGER (MODEL UC18YFSL) | 1 |
GUARANTEE CERTIFICATE
- Model No.
- Serial No.
- Date of Purchase
- Customer Name and Address
- Dealer Name and Address
(Please stamp dealer name and address)
Hikoki Power Tools Österreich GmbH
IndustrieZentrum NÖ –Süd, Straße 7, Obj. 58/A6 2355 Wiener Neudorf, Austria
Tel: +43 2236 64673/5
Fax: +43 2236 63373
URL: http://www.hikoki-powertools.at
Hikoki Power Tools Hungary Kft.
1106 Bogáncsvirág u.5-7, Budapest, Hungary
Tel: +36 1 2643433
Fax: +36 1 2643429
URL: http://www.hikoki-powertools.hu
Hikoki Power Tools Polska Sp. z o. o.
ul. Gierdziejewskiego 1
02-495 Warszawa, Poland
Tel: +48 22 863 33 78
Fax: +48 22 863 33 82
URL: http://www.hikoki-narzedzia.pl
Hikoki Power Tools Czech s.r.o.
Modřická 205, 664 48 Moravany, Czech Republic
Tel: +420 547 422 660
Fax: +420 547 213 588
URL: http://www.hikoki-powertools.cz
Hikoki Power Tools RUS L.L.C.
Kashirskoe Shosse 41, bldg. 2, 115409, Moscow, Russia Tel: +7 495 727 4460
Fax: +7 495 727 4461
URL: http://www.hikoki-powertools.ru
Hikoki Power Tools Romania S.R.L.
Ring Road, No. 66, Mustang Traco Warehouses, Warehouse No.1, Pantelimon City, 077145, Ilfov County, Romania
Tel: +40 371 135 109
Fax: +40 372 899 765
URL: http://www.hikoki-powertools.ro.
EC DECLARATION OF CONFORMITY
We declare under our sole responsibility that Cordless Planer, identifi ed by type and specifi c identifi cation code *1), is in conformity with all relevant requirements of the directives *2) and standards *3). Technical fi le at *4) – See below. The European Standard Manager at the representative office in Europe is authorized to compile the technical fi le. The declaration is applicable to the product affixed CE marking.
- P18DSL C347218R C348871S
P14DSL C347214R C348870S - 2006/42/EC, 2014/30/EU, 2014/35/EU, 2011/65/EU
- EN60745-1:2009+A11:2010
- EN60745-2-14:2009+A2:2010
- EN60335-1:2012+A11:2014
- EN60335-2-29:2004+A2:2010
- EN55014-1:2006+A1:2009+A2:2011
- EN55014-2:1997+A1:2001+A2:2008
- Representative office in Europe
Hikoki Power Tools Deutschland GmbH
Siemensring 34, 47877 Willich, Germany Head office in Japan
Koki Holdings Co., Ltd.
Shinagawa Intercity Tower A, 15-1, Konan 2-chome, Minato-ku, Tokyo, Japan.



As the remaining battery indicator shows somewhat differently depending on ambient temperature and battery characteristics, read it as a reference.
































