HiKOKI P20SF Cordless Wood Planer
GENERAL POWER TOOL SAFETY WARNINGS
WARNING
Read all safety warnings, instructions, illustrations, and specifi cations provided with this power tool.
Failure to follow all instructions listed below may result in electric shock, fire, and/or serious injury.
Save all warnings and instructions for future reference.
The term “power tool” in the warnings refers to your mains-operated (corded) power tool or battery-operated (cordless) power tool.
Work area safety
- Keep work area clean and well lit.
Cluttered or dark areas invite accidents. - Do not operate power tools in explosive atmospheres, such as in the presence of fl ammable liquids, gases or dust.
Power tools create sparks which may ignite the dust or fumes. - Keep children and bystanders away while operating a power tool. Distractions can cause you to lose control.
Electrical safety
- Power tool plugs must match the outlet.
Never modify the plug in any way.
Do not use any adapter plugs with earthed (grounded) power tools. Unmodifi ed plugs and matching outlets will reduce risk of electric shock. - Avoid body contact with earthed or grounded surfaces, such as pipes, radiators, ranges and refrigerators.
There is an increased risk of electric shock if your body is earthed or grounded. - Do not expose power tools to rain or wet conditions.
Water entering a power tool will increase the risk of electric shock. - Do not abuse the cord. Never use the cord for carrying, pulling or unplugging the power tool.
Keep cord away from heat, oil, sharp edges or moving parts.
Damaged or entangled cords increase the risk of electric shock. - When operating a power tool outdoors, use an extension cord suitable for outdoor use.
Use of a cord suitable for outdoor use reduces the risk of electric shock. - If operating a power tool in a damp location is unavoidable, use a residual current device (RCD) protected supply.
Use of an RCD reduces the risk of electric shock.
Personal safety
- Stay alert, watch what you are doing and use common sense when operating a power tool.
Do not use a power tool while you are tired or under the infl uence of drugs, alcohol or medication.
A moment of inattention while operating power tools may result in serious personal injury. - Use personal protective equipment. Always wear eye protection.
Protective equipment such as a dust mask, non-skid safety shoes, hard hat or hearing protection used for appropriate conditions will reduce personal injuries. - Prevent unintentional starting. Ensure the switch is in the off position before connecting to power source and/or battery pack, picking up or carrying the tool. Carrying power tools with your fi nger on the switch or energising power tools that have the switch on invites accidents.
- Remove any adjusting key or wrench before turning the power tool on.
A wrench or a key left attached to a rotating part of the power tool may result in personal injury. - Do not overreach. Keep proper footing and balance at all times.
This enables better control of the power tool in unexpected situations. - Dress properly. Do not wear loose clothing or jewelry. Keep your hair and clothing away from moving parts.
Loose clothes, jewelry or long hair can be caught in moving parts. - If devices are provided for the connection of dust extraction and collection facilities, ensure these are connected and properly used.
Use of dust collection can reduce dust-related hazards. - Do not let familiarity gained from frequent use of tools allow you to become complacent and ignore tool safety principles.
A careless action can cause severe injury within a fraction of a second.
Power tool use and care
- Do not force the power tool. Use the correct power tool for your application. The correct power tool will do the job better and safer at the rate for which it was designed.
- Do not use the power tool if the switch does not turn it on and off .
Any power tool that cannot be controlled with the switch is dangerous and must be repaired. - Disconnect the plug from the power source and/or remove the battery pack, if detachable, from the power tool before making any adjustments, changing accessories, or storing power tools.
Such preventive safety measures reduce the risk of starting the power tool accidentally. - Store idle power tools out of the reach of children and do not allow persons unfamiliar with the power tool or these instructions to operate the power tool. Power tools are dangerous in the hands of untrained users.
- Maintain power tools and accessories. Check for misalignment or binding of moving parts, breakage of parts and any other condition that may aff ect the power toolʼs operation.
If damaged, have the power tool repaired before use.
Many accidents are caused by poorly maintained power tools. - Keep cutting tools sharp and clean.
Properly maintained cutting tools with sharp cutting edges are less likely to bind and are easier to control. - Use the power tool, accessories and tool bits etc. in accordance with these instructions, taking into account the working conditions and the work to be performed.
Use of the power tool for operations diff erent from those intended could result in a hazardous situation. - Keep handles and grasping surfaces dry, clean and free from oil and grease. Slippery handles and grasping surfaces do not allow for safe handling and control of the tool in unexpected situations.
Service
- Have your power tool serviced by a qualifi ed repair person using only identical replacement parts.
This will ensure that the safety of the power tool is maintained.
CAUTION
Keep children and infi rm persons away. When not in use, tools should be stored out of reach of children and infi rm persons.
PLANER SAFETY WARNINGS
- Wait for the cutter to stop before settling the tool down.
An exposed rotating cutter may engage the surface leading to possible loss of control and serious injury. - Hold the power tool by insulated gripping surfaces, because the cutter may contact its own cord. Cutting a “live” wire may make exposed metal parts of the power tool “live” and could give the operator an electric shock.
- Use clamps or another practical way to secure and support the workpiece to a stable platform. Holding the workpiece by your hand or against the body leaves it unstable and may lead to loss of control.
ADDITIONAL SAFETY WARNINGS
- Do not use the Planer with the blades facing upward (as stationary type planer).
SYMBOL
The following show symbols used for the machine. Be sure that you understand their meaning before use.
To reduce the risk of injury, user must read instruction manual.
SPECIFICATIONS
| Voltage | 220 V |
| Power Input | 620 W |
| Cutting Width | 82 mm |
| Max. Cutting Depth | 2.6 mm |
| Weight (without cord and guide) | 2.5 kg |
| No-Load Speed | 17000 /min |
STANDARD ACCESSORIES
In addition to the main unit (1 unit), the package contains the accessories listed in the below.

OPTIONAL ACCESSORIES (sold separately)
- Elbow
- Dust bag
APPLICATIONS
Planing various wooden planks and panels. (See Fig. 1 ― 4)
PRIOR TO OPERATION
- Power source
Ensure that the power source to be utilized conforms to the power requirements specifi ed on the product nameplate. - Power switch
Ensure that the power switch is in the OFF position. If the plug is connected to a receptacle while the power switch is in the ON position, the power tool will start operating immediately, which could case a serious accident. - Extension cord
When the work area is removed from the power source. Use an extension cord of suffi cient thickness and rated capacity. The extension cord should be kept as short as practicable. - Prepare a stable wooden workbench suitable for planing operation. As a poorly balanced workbench creates a hazard, ensure it is securely positioned on firm, level ground.
PLANING PROCEDURES

- Operation of the switch
- The trigger switch lock-off button is designed to prevent inadvertent operation of the power tool. To operate the power tool, it is necessary to first fully insert the lock-off button into the hole on the handle.
- The trigger switch will not operate unless the lock-off button has been pushed in.
- When the trigger switch is released, the power goes off and the lock-off button automatically returns to its initial position, locking the trigger Mark Knob switch.
- Adjusting the cutter depth Scale
- Turn the knob in the direction indicated by the arrow in Fig. 5 (clockwise), until the triangular mark is aligned with the desired cutting depth on the scale. The scale unit is graduated in millimeters.
- The cutting depth can be adjusted within a range of 0 – 2.6 mm.
- Surface cutting
- Rough cutting should be accomplished at large cutting depths and at a suitable speed so that shavings are smoothly ejected from the machine. To ensure a smoothly finished surface, finish cutting should be accomplished at small cutting depths and at low feeding speed.
- Beginning and ending the cutting operation
- As shown in Fig. 6, place the front base of the planer on the material and support the planer horizontally. Turn ON the power switch, and slowly operate the planer toward the leading edge of the material. Firmly depress the front half of the planer at the fi rst stage of cutting, as shown in Fig. 7, and depress the rear half of the planer at the end of the cutting operation. The planer must always be kept fl at throughout the entire cutting operation.
- Precaution after finishing the planing operation
- When the planer is suspended with one hand after finishing the planing operation, ensure that the cutting blades (base) of the planer do not contact or come too near your body. Failure to do so could result in serious injury.
- Cord holder (Fig. 8)
- A cord holder is provided on the back of the handle below where the cord is attached. Clip the cord in the holder from right or left depending on which side you want the cord to be.
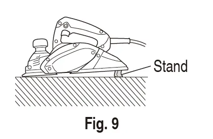
- Stand (Fig. 9)
- Lift the back of the planer to extend the foot from the base. Having the stand extended when you put the planer down prevents contact between the blade and the material.

- Lift the back of the planer to extend the foot from the base. Having the stand extended when you put the planer down prevents contact between the blade and the material.
CARBIDE BLADE ASSEMBLY AND DISASSEMBLY AND ADJUSTMENT OF CUTTER BLADE HEIGHT (FOR DOUBLE EDGED BLADE TYPE)
- Carbide blade disassembly (1) As shown in Fig. 10, loosen the blade holder with the attached box wrench.
- As shown in Fig. 11, remove the carbide blade by sliding it with the attached box wrench.
CAUTION
Be careful not to injure your hands.
Carbide blade assembly
CAUTION Prior to assembly, thoroughly wipe off all swarf accumulated on the carbide blade.

- As shown in Fig. 12, lift set plate (B) and insert the new carbide blade between cutter block and set plate (B).
- As shown in Fig. 13, mount the new carbide blade by sliding it on the set plate (B) so that the blade tip projects by 1 mm from the end of the cutter block.
- As shown in Fig. 14, fi x the bolts at the blade holder after blade replacement has been completed.
- Turn the cutter block over, and set the other side in the same manner.
Adjustment of carbide blade height
If the carbide blade’s heights are inaccurate after the above procedures have been completed, carry out the procedures described below.

- As shown in Fig. 15, use the box wrench to loosen the three bolts used to retain the carbide blade, and remove the blade holder.
- As shown in Fig. 16, after removing the carbide blade, slide set plate (B) in the direction indicated by the arrow to disassemble set plate (B).
- Loosen the 2 screws holding on the carbide blade and set plate (A), set plate (B).
- As shown in Fig. 17, 18, press the turned surface of set plate (A) to the wall surface b while adjusting the carbide blade edge to the wall surface a of the set gauge. Then, tighten them with the 2 screws.
- As shown in Fig. 19, 20, insert a turned portion of set plate (A) attached to set plate (B) into a groove on the fl at portion of the cutter block.
- As shown in Fig. 21, place the blade holder on the completed assembly and fasten it with the three bolts. Ensure that the bolts are securely tightened. Follow the same procedures for the opposite side carbide blade.
BLADE ASSEMBLY AND DISASSEMBLY AND ADJUSTMENT OF BLADE HEIGHT (FOR RESHARPENABLE BLADE TYPE)

- Blade disassembly
- As shown in Fig. 15 on page 21, use the accessory box wrench to loosen the three bolts used to retain the blade, and remove the blade holder.
- As shown in Fig. 16 on page 21, slide the blade in the direction indicated by the arrow to disassemble the blade.
CAUTION Be careful not to injure your hands.
Blade assembly
CAUTION Prior to assembly, thoroughly wipe off all swarf accumulated on the blade.



- Insert a turned portion of the set plate (A) attached to the blade into a groove on the flat portion of the cutter block. (Fig. 19 on page 21 and Fig. 22)
Set the blade so that both sides of the blade protruding from the width of the cutter block by about 1 mm (Fig. 23) - Place the blade holder on the completed assembly, as shown in Fig. 24, and fasten it with the three bolts. Ensure that the bolts are securely tightened.
- Turn the cutter block over, and set the opposite side in the same manner.
- Adjustment of blade height
- Loosen the 2 screws holding on the blade and set plate (A).
- Press the turned surface of set plate (A) to the wall surface b while adjusting the blade edge to the wall surface a of the set gauge. Then, tighten them with the 2 screws. (Fig. 17 on page 21 and Fig. 25)
Use of the accessory Blade Sharpening Ass’y is recommended for convenience.
- Use of Blade Sharpening Ass’y
As shown in Fig. 26, two blades can be mounted on the blade sharpening ass’y to ensure that the blade tips are ground at uniform angles. During grinding, adjust the position of the blades so that their edges simultaneously contact the dressing stone as shown in Fig. 27. - Blade sharpening intervals
Blade sharpening intervals depend on the type of wood being cut and the cutting depth. However, sharpening should generally be eff ected after each 500 meters of cutting operation. - Dressing Stone
When a water dressing stone is available, use it after dipping it su ffi ciently in water since such a dressing stone may be worn during grinding works, fl atten the upper surface of the dressing stone as often as necessary.
ATTACHING AND DETACHING THE DUST ADAPTER CAUTION
- To prevent accidents, ensure that the power tool is switched off and the plug is disconnected from the power source.
- Follow the procedure below to mount the dust adapter securely. Failure to do so may result in the adapter coming off , causing injury.
Attaching the dust adapter
- Remove the screw D4 × 16 in the chip cover and remove the chip cover as shown in Fig. 28.

- Mount the dust adapter and secure with the screw D4 × 16. (Fig. 29)

NOTE
Take care not to break the catch when attaching or detaching the dust adapter and chip cover.
Removing the dust adapter
To remove the dust adapter, follow the procedure above in reverse order.
MAINTENANCE AND INSPECTION
- Inspecting the blades
Continued use of dull or damaged blades will result in reduced cutting e ffi ciency and may cause overloading of the motor. Sharpen or replace the blades as often as necessary. - Handling
CAUTION The front base, rear base, and cutting depth control knob are precisely machined to obtain specifi cally high precision. If these parts are roughly handled or subjected to heavy mechanical impact, it may cause deteriorated precision and reduced cutting performance. These parts must be handled with particular care. - Inspecting the mounting screws
- Regularly inspect all mounting screws and ensure that they are properly tightened. Should any of the screws be loose, retighten them immediately. Failure to do so could result in serious hazard.
- Inspecting the carbon brushes (Fig. 30)
- The motor employs carbon brushes which are consumable parts. Since an excessively worn carbon brush can result in motor trouble, replace the carbon brushes with new ones having the same carbon brush No. shown in the fi gure when it becomes worn to or near the “wear limit”. In addition, always keep carbon brushes clean and ensure that they slide freely within the brush holders.

- The motor employs carbon brushes which are consumable parts. Since an excessively worn carbon brush can result in motor trouble, replace the carbon brushes with new ones having the same carbon brush No. shown in the fi gure when it becomes worn to or near the “wear limit”. In addition, always keep carbon brushes clean and ensure that they slide freely within the brush holders.
- Replacing carbon brushes (Fig. 30)
After removing the chip cover, use a slotted screwdriver to disassemble the brush caps.
The carbon brushes can then be easily removed with the spring. - Motor unit maintenance
The motor winding is an important part of this tool. Avoid damaging and be careful to avoid contact with cleaning oiI or water. After 50 hours of use, clean the motor by blowing into the ventilation holes of the motor housing with dry air from an air gun or other tool (Fig. 31). Dust or particle accumulation in the motor can result in damage.
- Replacing supply cord
If the replacement of the supply cord is necessary, it has to be done by HiKOKI Authorized Service Center to avoid a safety hazard. - Replacing belt
If the replacement of the belt is necessary, it has to be done by HiKOKI Authorized Service Center to avoid a safety hazard.
CAUTION
In the operation and maintenance of power tools, the safety regulations and standards prescribed in each country must be observed.
ADDITIONAL INFORMATION
Data about months and year of production see at the nameplate of the machine and package. Months coded by digits and letters: 1-9 – Jan-Sept, O-Oct, N-Nov, D-Dec. Year of production coded by the last digit of the current year.



























