YAESU M-100 Dual Element Microphone User Guide
About this manual
This manual contains symbols and conventions to call attention to important information.
Symbols | Description |
| | This icon indicates cautions and alerts the user should be aware of. |
| This icon indicates helpful notes, tips and information. |
Using the M-100 with Yaesu Transceivers
The M-100 operates with the below Transceivers.
| FT-450/D | FT-900 | FTDX1200 |
| FT-817/ND | FT-920 | FT-2000/D |
| FT-847 | FT-950 | FTDX3000D |
| FT-857/D | FT-991/A | FTDX5000 |
| FT-897/D | FT-1000MP | FTDX9000 |
| FT-891 | FT-1000MP MARK-V | FTDX101D |
| FTDX10 | FTDX101MP | |
| FTDX10 | FTDX101MP | |
| FT-850* | FT-1000* | |
| FT-747* | ||
| * Requires Optional “Power Supply Kit for M-100”. | ||
General Description
Dual microphone configuration features
The M-100 features two built-in microphone elements, one dynamic and one condenser. The unique output signals may be individually crafted and then blended to produce a single rich voice signal. The condenser microphone responds to a broad frequency range including the distinctive crisp highs, while the dynamic microphone adds depth and warmth, providing the emotional subtext desirable for a genial “ragchew”. By combining the two different microphone elements in this manner, a favorable sound quality can be created for any operating style.
Treble boost cowling produces a unique tonal texture
The simple clip-on cowling enhances the high-frequency response of both microphone elements, and can minimize the aural interference from either side. The cowling serves to concentrate the voice input with a peak at around 1 – 1.5 kHz, producing a unique tonal texture.
Air cylinder magnetic contactless PTT key
The PTT key with contactless triple air cylinder magnetic construction delivers smooth fingertip-sensitive operation over an extended stroke distance.
The key has been designed with optimal balance between key weight and stroke to provide the perfect tactile response. Meanwhile, the contactless switch provides years of fault-free operation with minimal mechanical degradation.
The PTT key features a built-in one click lock function.
Convenient High-Cut filter and Low-Cut filter key buttons are at your fingertips.
Safety Precautions
Note beforehand that the company shall not be liable for any damages suffered by the customer or third parties in using this product, or for any failures and faults that occur during the use or misuse of this product, unless otherwise provided for under the law.
Type and meaning of the symbols
DANGER
This symbol indicates the possibility of death or serious injury being inflicted on the user and the surrounding people when these instructions are ignored and the product is mishandled.
WARNING
This symbol indicates the possibility of death or serious injury being inflicted on the user and the surrounding people when these instructions are ignored and the product is mishandled.
CAUTION
This symbol indicates the possibility of physical impediments occurring or impediments being inflicted on the user and the surrounding people when these instructions are ignored and the product is mishandled.
Type and meaning of symbols
Prohibited actions that must not be attempted, in order to use this radio safely.
For example,
signifies that disassembly is prohibited.
Precautions that must be adhered to in order to use this radio safely.
For example,
signifies that the power supply is to be disconnected.
DANGER
Do not use this product while driving or riding a motorbike. This may result in accidents.
Make sure to stop the car in a safe location first before use if the device is going to be used by the driver.
WARNING
Do not dismantle or modify the device.
This may result in injury, electric shock and equipment failure.
When smoke or strange odors are emitted from the radio, turn off the power and dis-connect the power cord from the socket.
This may result in fire, liquid leak, overheating, damage, ignition and equipment failure. Please contact our company amateur customer support or the retail store where you purchased the device.
Do not handle the power plug and connector etc. with wet hands. Also do not plug and unplug the power plug with wet hands.
This may result in injury, liquid leak, electric shock and equipment failure.
Keep the power plug pins and the surrounding areas clean at all times.
This may result in fire, liquid leak, overheating, breakage, ignition etc.
Do not install in places where the unit risks getting wet (such as near a humidifier).
Doing so may result in fire, electric shock or damage.
Do not place heavy objects on the power supply cable or connection cable, forcibly bend, twist or pull on the cables, or heat or modify them.
Doing so may scratch or damage the cables, resulting in fire, electric shock or damage to the equipment.
Do not pull on the cable section when disconnecting the power supply cable or connection cable.
Doing so could cause fire, electric shock or damage to the equipment. Hold the plug or the connector when disconnecting the cable.
Do not use the power supply cable or connection cable if it is damaged or if the connection of the power connector is loose.
Doing so could cause fire, electric shock or damage to the equipment. Contact your dealer or our customer support.
CAUTION
Do not place the unit on an unstable place or a place subject to much vibration.
The unit may fall or tip over, resulting in fire, injury or malfunction.
Do not place heavy objects on top of the unit.
The unit may fall or tip over, resulting in injury.
Do not place objects containing water, such as vases, cosmetics or cups, on top of the unit.
The water may spill and get inside the unit, resulting in fire or malfunction.
Do not place the unit in humid or dusty places.
Doing so could cause fire or malfunction.
Do not wipe the case with thinner or benzene.
Use a soft, dry cloth to wipe dirt off the case.
Do not drop the unit or subject it to strong shocks.
Doing so could cause injury or malfunction.
Disconnect the power supply cable and all cables connecting the unit to the radio before moving the microphone.
Do not place the unit in places exposed to direct sunlight or near heating appliances.
Doing so could cause deformation, discoloration, etc.
Store in a place out of the reach of small children.
Failure to do so could result in injury, etc.
Do not use products other than those specified by Yaesu.
Doing so may result in malfunction
Special Precautions in using the M-100
- To reduce extraneous noise, place the microphone as far away as possible from power supply equipment and power supply cables.
- To avoid adverse effects of transmitted RF radio waves, install the microphone as far away as possible from the transmitter antenna and antenna cable.
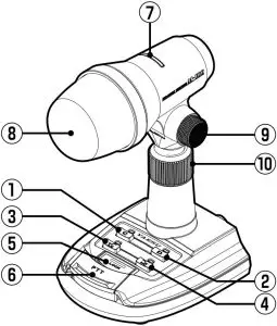
Controls & Connections

- C key (Condenser Mic Element key)
Switches to the condenser microphone ([C] LED lights up orange). When the [C] and [D] keys are pressed, the audio output signals of the condenser and dynamic microphone elements are combined. - D key (Dynamic Mic Element key)
Switches to the dynamic microphone ([D] LED lights up orange).
When the [C] and [D] keys are pressed, the audio output signals of the condenser and dynamic microphone elements are combined.
If neither the [C] key nor the [D] key is pressed, the microphone output is turned off. The [C] and [D] LED’s blink simultaneously. - LC (Low-Cut) key
When this key is pressed, a low-cut filter (cut-off frequency 340 Hz, -6 dB/octave) is activated ([LC] LED lights up blue). - HC (High-Cut) key
When this key is pressed, a high-cut filter (cut-off frequency 2 kHz, -6 dB/octave) is activated ([HC] LED lights up blue).
When the [LC] and [HC] keys are pressed, both filters operate simultaneously.
While listening to the transmitted audio using the transceiver monitor function, adjust the microphone gain and the monitor level of the radio. - LOCK key
This is a one touch PTT key with a lock function.
When the LOCK key is pressed, the transmit mode is set and held,- When the key is pressed again the transceiver returns to receive mode again.
- PTT key
Press and hold down this key to transmit, and release it to receive. - On Air Indicator
This illuminates in red when in TX mode.
The indicator is off when in RX mode. - MIC
The unit includes a built-in dynamic microphone and a condenser microphone that are developed for communications equipment. The condenser microphone provides crisp sound with transparent frequency characteristics up to high frequencies. The dynamic microphone produces a thick, deep, warm sound quality that is suited for informal chatting. It is also possible to combine the audio output signals from the two microphone elements.
The included treble boost cowling may be installed to block sounds from the sides of the microphone, resulting in unique frequency characteristics as if the sound were condensed with a peak response in the vicinity of 1 to 1.5 kHz. To install the cowling, press it straight on from the front to cover the microphone. To remove, slide it straight off.
- Angle adjustment knobs
The angle of the microphone may be adjusted by loosening (turn counterclockwise) the knobs on the left and right side of the pivot
top. Place the microphone in the desired position and then tighten the knobs (turn them clockwise) to secure the microphone.
- Height adjustment ring
The height of the microphone can be precisely adjusted. Turn the compression ring counterclockwise to loosen the top tube, and then raise or lower the top section to the desired position.
Turn the compression ring clockwise to tighten it and hold the microphone in place.
The stand can be extended a maximum of 6 cm

- MIC Jack (8-pin)
Use the supplied microphone cable to connect the microphone to a transceiver that has a “modular terminal”.
- MIC Jack (modular)
Use the supplied microphone cable to connect the microphone to a transceiver that has an “8- pin terminal”.
Frequency characteristics of the microphone



ø These frequency characteristics may vary depending on the measurement environment.
Specifications
- Supply Voltage: DC 5.0 V ±10 %
- Current Consumption: 35 mA (TYP)
- Microphone Type: Dynamic microphone / Condenser microphone
- Frequency Response: 30 – 17000 Hz
- Sensitivity: -60 dB (1 kHz 0 dB=1V/1Pa)
- Microphone Impedance: 600 Ohms
- Dimensions (WxHxD): 5.0” x 11.0” x 5.4” (126 x 280 x 137 mm)
- *H: Maximum with microphone flat
- Weight (approx): 2.00 lbs (910 g) w/o cable
This equipment has been tested and found to comply with the limits for a Class B digital device, pursuant to Part 15 of the FCC Rules. These limits are designed to provide reasonable protection against harmful interference in a residential installation. This equipment generates, uses and can radiate radio frequency energy and, if not installed and used in accordance with the instructions, may cause harmful interference to radio communications. However, there is no guarantee that interference will not occur in a particular installation.
If this equipment does cause harmful interference to radio or television reception, which can be determined by turning the equipment off and on, the user is encouraged to try to correct the interference by one or more of the following measures:
- Reorient or relocate the receiving antenna.
- Increase the separation between the equipment and receiver.
- Connect the equipment into an outlet on a circuit different from that to which the receiver is connected.
- Consult the dealer or an experienced radio/TV technician for help.
This device complies with part 15 of the FCC Rules. Operation is subject to the following two conditions:
- This device may not cause harmful interference, and
- this device must accept any interference received, including interference that may cause undesired operation.
Safety Precautions (Be Sure to Read)
Be sure to read the safety precautions printed in the Operating Manual of the compatible transceiver to use this product safely
Disposal of Electrical and Electronic Equipment
Products with the symbol (crossed-out wheeled bin) cannot be disposed of as household waste.
Electronic and Electrical Equipment should be recycled at a facility capable of handling these items and their waste by products.
Please contact a local equipment supplier representative or service center for information about the waste collection system in your country.
Copyright 2021
YAESU MUSEN CO., LTD.
All rights reserved.
No portion of this manual may be reproduced without the permission of YAESU MUSEN CO., LTD.
YAESU MUSEN CO., LTD.
Tennozu Parkside Building 2-5-8 Higashi-Shinagawa, Shinagawa-ku, Tokyo 140-0002 Japan
YAESU USA
6125 Phyllis Drive, Cypress, CA 90630, U.S.A.
YAESU UK
Unit 12, Sun Valley Business Park, Winnall Close Winchester, Hampshire, SO23 0LB, U.K.
2101B-FS
Printed in Japan


























