WEEE MP3 Microphone User Guide

This product bears the selective sorting symbol for waste electrical and electronic equipment (WEEE). This means that this product must be handled pursuant to European Directive 2012/19/EU in order to be recycled or dismantled to minimize its impact on the environment.
For further information, please contact your local or regional authorities.
Electronic products not included in the selective sorting process are potentially dangerous for the environment and human health due to the presence of hazardous substances.
This device complies with the essential requirements of the R&TTE Directive 1999/5/EC. The following test methods have been applied in order to prove presumption of conformity with the essential requirements of the R&TTE Directive 1999/5/EC
Important Message to Customers
Thank you for purchasing one of our many top-quality electronic products. Please take a moment to read through these instructions to help you understand the safe and proper way to use this toy to extend its usability
Playing with the Microphone
There are two ways to have musical fun with your Sing Along Mic. You can sing along to the built-in songs, or to any song on your MP3 player or other audio device by connecting it with an MP3 Cable (see instructions below). Flashing lights add to the excitement! Have a great show!
Song Mode
- Press the Song Button to hear sound effects and play the built-in song.
MP3 Mode
- Connect one end of an MP3 Audio Cable (not included) to the headphone or line out jack on your MP3 player or other audio device (not included). Plug the other end of the MP3 Audio Cable to the line out jack on the side of the microphone. The microphone will light up to confirm it is connected to your device.
- Turn on and put your MP3 player/audio device in play mode to play music through the speaker!
- Press the Song Button again to switch between the MP3 player device and the built-in music.
Note: There is a 5 minute timer that will automatically turn off MP3 playback. Press the Song Button to resume MP3 playback.
Connected to MP3 device via audio cable

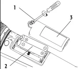
Installing the Batteries
ATTENTION:
Batteries should only be installed by an adult.
The unit comes with batteries already installed. These batteries are meant for in-store demonstration use only, and should be replaced with fresh batteries. To replace the batteries at home:
- Use a Philips screwdriver to open the battery compartment door.
- Install 2 “AAA” size batteries into the compartment, making sure that the + and – polarities match the diagram printed inside.
- Close the battery compartment door and tighten the battery door screw. Don’t over tighten.
Battery Installation

For the Best Possible Performance
- Only use the recommended/supplied batteries or equivalent.
- Use alkaline batteries for longer life.
- Do not mix old and new batteries, and do not mix alkaline, carbon-zinc or rechargeable nickel-cadmium batteries.
- Insert batteries with proper polarity (+/–) as indicated.
- Remove exhausted batteries from product.
- Recharge rechargeable batteries under adult supervision.
- Do not attempt to recharge non-rechargeable batteries.
- Do not open batteries or heat them beyond normal ambient temperatures.
- To prevent battery leakage or damage remove batteries from a product if it will not be used for a month or longer.
- Use extreme caution handling leaking batteries (avoid direct contact with eyes and skin). If battery leakage comes in contact with eyes,
IMMEDIATELY flush the eye with lukewarm and gently flowing water for at least 30 minutes. If skin contact occurs, wash skin with clear water for at least 15 minutes. Seek medical attention if any symptoms occur. - Store in cool, dry, ventilated area away from hazardous or combustible material.
- Do not dispose of batteries in the household trash or fire.
- Follow applicable laws and local regulations for the disposal and transportation of batteries.
- Batteries must be disposed of separately at your local waste recycling center. Do not dispose of them in your household waste bin.
Remove Demo Tab
• The unit is equipped with a Try Me feature. Before using the unit, pull out the plastic Demo Tab located on back panel.
Maintenance
It is important to keep the unit as dry and clean as possible. Clean the unit with a soft cloth moistened only with mild soap and water. Stronger cleaning agents, such as thinner or similar materials are not recommended, as they may damage the surface of the case. Do not allow dirt, sand, small particles, water or other liquids to enter the toy’s casing. If the unit is to be left unused for an extended time period, such as a month or longer, have an adult remove the battery to extend its life and to prevent leaking or corrosion.
















