OWNER’S MANUAL
DUNBAR TANK COVER
OUTDOOR LIVING PERFECTED 
DUNBAR Tank Cover
Model number 742
® Registered trademark of FMI Brands Inc.
ACC-742 Dunbar Tank Cover
Owner & Safety Manual
DUNBAR Tank Cover
Model number 742
WARNING:
Improper installation, adjustment, alteration, service or maintenance can ause injury or property damage.
Read the installation, operating and maintenance instructions thoroughly before installing or servicing this equipment.
CAUTION: Watch for sharp edges.
Wear protective gloves if necessary.
NOTE TO INSTALLER: Leave this guide with the consumer.
NOTE TO CONSUMER: IMPORTANT. Retain this manual for future reference. Read carefully.
SUPPLIED PARTS & HARDWARE LIST:
| PART # | DESCRIPTION | PICTURE |
| 1 | FRONT PANEL (x1) | ![]() |
| 2 | REAR PANEL WITH CUTOUT (x1) | ![]() |
| 3 | SIDE PANEL WITH HANDLE (X2) | ![]() |
| 4 | H-FRAME LP CLYLINDERSUPPORT (x1) | ![]() |
| 5 | LID TRAY (x1) | ![]() |
| 6 | U-CLIPS (X12) | |
| 7 | M4x10 SCREWS (x16) + 1 Extra | |
| 8 | RUBBER FEET (x8) | ![]() |
REQUIRED TOOLS (Not Supplied): Philips (cross) screw driver (PH2)
SECTION 1: ASSEMBLY
STEP 1
Unpack the contents. Check the Parts List.
a) Prepare a flat, non-marking surface for assembly.
b) Unpack all parts.
c) Collect the U-Clips and Screws.
STEP 2
Install the Side Panels to the Front Panel.
a) Place the Front Panel (part 1) face down on a flat, non-marking surface.
b) Align the holes on the Side Panel (part 3) with the holes on the Front Panel.
c) Slide the U-Clip (part 6) over the holes.
d) Check the panel alignment is flush on the sides and the ends.
e) Fasten firmly with the M4 screws.
f) Repeat with both side panels.
ASSEMBLY TIP
For the best look, ensure the panel edges are square and aligned on the sides and the ends. If they seem misaligned, loosen the screws a bit, adjust the panel alignment and retighten the screws.=
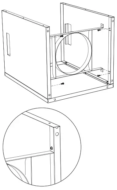
STEP 3
Install the H-Frame Propane Cylinder Support.
a) Slide the H-Frame ends down through the slots in the Side Panels.
b) Align the holes.
c) Fasten with the M4 Screws.
NOTE: The H-Frame ends sit behind the side panel flanges. The threaded holes on theH-Frame should be behind the holes in the Side Panel flanges.
STEP 4
Attach Rear Panel to the Side Panels.
a) Place the Rear Panel (part 2) face down on a flat, non-marking surface.
b) Align the holes on the side panels with the holes on the rear panel.
c) Slide the U-Clip (part 6) over the holes.
d) Confirm the bottom feet holes are on the same side as the others.
e) Check the panel alignment is flush on the sides and the ends.
f) Fasten firmly with the M4 screws.
STEP 5
Install the Rubber Feet.
a) Turn the assembly upside down.
b) Push-fit the (8x) Rubber Feet into the holes.
STEP 6
Turn the assembly upright, with rubber feet on the ground.
STEP 7
Place full propane (LP) cylinder in the base ring of the H-Frame. *
* Propane cylinder, pressure regulator and gas hose assembly not included.
STEP 8
The gas hose should go through the rear hole.
STEP 9
Place the Lid Tray (part 5) on the top of the assembly.
IMPORTANT: Ensure all screws are fastened tightly. If the screws are loose, the frame will be loose.
SECTION 2: PRODUCT DIMENSIONS
APPROXIMATE DIMENSIONS
Frame Dimensions (Approx.):
HEIGHT: 504 mm / 20 in
WIDTH: 400 mm / 15.7 in
DEPTH: 400 mm / 15.7 in
The tank cover is designed to accommodatea standard size 20lb propane (LP) cylinder with dimensions approximately
12” Diameter x <=18” H
SECTION 3: MAINTENANCE
MOVING THE TANK COVER
The tank cover has two handles, one on each side to enable transport.
ACCESSING THE PROPANE CYLINDER
Lift the lid to access the compartment to turn on or off the propane (LP) cylinder valve.
CLEANING
Should any part of this appliance become soiled or dirty, wipe down with a damp wet cloth.
IMPORTANT
Do not use petroleum based, flammable or corrosive cleaning products on or near this unit.
SECTION 4: WARNINGS
ATTENTION: Always leak test the propane cylinder connection.
ATTENTION: Children should be supervised at all times when using this unit, without exception. Do not leave this appliance in the rain.
This appliance is NOT a toy.
Do not climb on the appliance, or serious injury may occur.
STOP:
Do not return this product to the store.
If you need help or parts, call the OUTLAND Hotline: 1-888-514-1663 Get help for:
• Missing/damaged parts • Assembly • Troubleshooting
• Warranty Assistance • Product Information
1 YEAR LIMITED WARRANTY
Customers in Canada and USA
All components are warranted by the manufacturer for a period of 1 year after date of purchase by the original owner against defects in materials and workmanship under normal use. This warranty does NOT cover normal wear and weathering, assembly and/ or maintenance OR use in a commercial application. At FMI Brands’ sole discretion, products under warranty will be repaired and/or replaced at no charge to the customer. Any returns sent back to FMI Brands must be sent via prepaid freight and in the original
retail packaging. Please register your OUTLAND Living product for proof of purchase and warranty at https://outlandliving.com/register-products/
For more warranty information and details please contact FMI Brands Inc. at [email protected]
FOR REPLACEMENT PARTS AND ACCESSORIES PLEASE VISIT WWW.OUTLANDLIVING.COM
The owner’s manual is available as a free download from www.outlandliving.com
Should you have any questions or comments regarding this product, please do not hesitate to contact FMI Brands Inc. at (888) 514-1663 or E-Mail to i[email protected].
D.742.000.V0 OUTLAND LIVING ®
– DUNBAR TANK COVER – OWNER & SAFETY MANUAL

D.742.000.V0
FMI BRANDS INC. 101 – 3570 194 Street, Surrey, BC, Canada V3Z 1A5
USA, Canada Toll Free: 1-888-514-1663 | Tel: (+1) 778-294-0988
Email: [email protected] | Hours of Operation 8:30 AM – 4:00 PM (Pacific Time)
























