


TFB
Simple Solutions Removable Hardware
Owner’s Manual – Maintenance Guide
True Forming Back – Simple Solutions FlipLock 2 Hardware
Customer Satisfaction
Stealth Products is committed to 100% customer satisfaction. Your complete satisfaction is important to us. Please contact us with feedback or suggestions to help us improve the quality and usability of our products.
You may reach us at:
Stealth Products, LLC
104 John Kelly Drive,
Burnet, TX 78611
Phone: (512) 715-9995
Toll Free: (800) 965-9229
Fax: (512) 715-9954
Toll Free: (800) 806-1225
[email protected]
www.stealthproducts.com
Schiffgraben 41 30175 Hannover Germany | SODIMED SAChemin Praz Devant 12 1032 Romanel sur-Lausanne Switzerland | UK Authorized Representative MDSS-UK RP 6 Wilmslow Road, Rusholme Manchester M14 5TP United Kingdom |
General
Read and understand all instructions prior to the use of this product. Failure to adhere to instructions and warnings in this document may result in property damage, injury, or death. Product misuse or failure to follow instructions will void the warranty.
Immediately discontinue use if any function is compromised, if parts are missing or loose, or if any component shows signs of excessive wear. Consult with your supplier for repair, adjustment, or replacement.
All persons responsible for fitting, adjustment, and daily use of the devices discussed in these instructions must be familiar with and understand all instructions and warnings, and maintain our products according to our instructions on care and maintenance. The installation instructions will guide you through this products’ options and possibilities.
Instructions are written with the expressed intent of use with standard configurations. They also contain important safety and maintenance information, as well as describe possible problems that can arise during use. For further assistance, or more advanced applications, please contact your supplier or iStealth Products at (512) 715-9995 or toll free at (800) 965-9229.
Always keep the operating instructions in a safe place so they may be referenced as necessary.
All information, pictures, illustrations, and specifications are based on the product information that was available at the time of printing. Pictures and illustrations shown in these instructions are representative examples and are not intended to be exact descriptions of the various parts of the product.
Important Information
CAUTION
These products are designed to be fitted, applied, and installed exclusively by a healthcare professional trained for these purposes. The fitting, application, and installation by a non-qualified individual could result in serious injury.
Warranty
Our products are designed, manufactured, and produced to the highest of standards. If any defect in material and workmanship is found, Stealth Products will repair or replace the product at our discretion. Any implied warranty, including the implied warranties of merchantability and fitness for a particular purpose, shall not extend beyond the duration of this warranty. Stealth Products does not warrant damage due to, but not limited to: misuse, abuse, or misapplication of product, and/or modification of product without written approval from Stealth Products, LLC. Any alteration or lack of serial number, where applicable, will automatically void all warranty.
Stealth Products, LLC is liable for replacement parts only. Stealth Products, LLC is not liable for any incurred labor costs.
Stealth Products warrants against failure due to defective materials or workmanship:
Covers: 2 years
Hardware: 5 years
Electronics: 3 years
In the event of a product failure covered by our warranty, please follow the procedures outlined below:
Call Stealth Products at (512) 715-9995 or toll free at (800) 965-9229.
Request a Return Authorization (RA) form from the Returns Department and follow the documentation instructions.
You can download additional copies of this manual by accessing the Stealth website (https://stlpro.site/stealth-docs) and searching “P136D689” in the search bar at the top of the page.
Supplier Reference
Supplier:………………………………
Telephone:……………………………
Address:………………………………
Purchase Date:……………………..
Model:………………………………….
Warning Labels
Warnings are included for the safety of the user, client, operator, and property. Please read and understand what the signal words DANGER, WARNING, CAUTION, NOTICE, and SAFETY mean, and how they could affect the user, those around the user, and property.
DANGER
Identifies an imminent situation which, if not avoided, may result in severe injury, death, and property damage.
WARNING
Identifies a potential situation which, if not avoided, may result in severe injury, death, and property damage.
CAUTION
Identifies a potential situation which, if not avoided, may result in minor to moderate injury and property damage.
NOTICE
Identifies important information not related to injury, but possible property damage. Indicates steps or instructions for safe practices,
SAFETY
reminders of safe procedures, or important safety equipment that may be necessary.
Limited Liability
Stealth Products, LLC accepts no liability for personal injury or damage to property that may arise from the failure of the user or other persons to follow the recommendations, warnings, and instructions in this manual.
Stealth Products does not hold responsibility for final integration of final assembly of product to end user. Stealth Products is not liable for user death or injury.
Testing
Initial setup and driving should be done in an open area free of obstacles until the user is fully capable of driving safely.
Design and Function
Intended Use
The Simple Solutions Removable hardware is intended to provide a versatile mounting solution for end users who require a removable mounting hardware for the True Forming Back (TFB) family. The hardware features isolated depth and angle adjustments that provide trouble-free adjustability.
Parts Breakdown
| Item | ID | Part Number | Description | City. |
| A. Mounting Bracket 45′ bracket shown. ![]() | Al BK728 (90°) | BKT24 (45°) | Bracket, Depth Adjustable Back | 1 |
| A2 | BKT22 | Bracket Boss Plate | 1 | |
| A3 | BK123 | Bracket, Nut Plate | 1 | |
| A4 | M6 SSW | 0.5 00 x .266ID x .250 Thick Washer, Black Oxide | 3 | |
| AS | M6x1x16MM BHS | M6x1x16mm Button Head Screw | 2 | |
| A6 | M6x1.0x16 FHS | M6x1x16mm Flat Head Screw | 1 | |
| A7 | TFB200-88 | Single Hole T-Nut Metric | 2 | |
| AS | M6x1.Ox2OMM BHS | M6xlx2Omm Button Head Screw | 1 | |
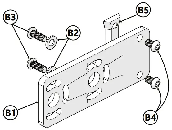
B. Angle Adjustment Plate![]() | Bi | BKT27 | Bracket, Back Angle Mount Fliplock | 1 |
| B2 | M6 SSW | 0.50D x .266 ID x .250 Thick washer. Black Oxide | 2 | |
| B3 | M6x1x16MM BHS | M6x1x16mm Button Head Screw | 2 | |
| I | M6x1.Ox1OMM BHS | M6 x 1 x 10mm Button Head Screw | 2 | |
| BS | ADP10 | Adapter, Mount Back, Fliplock II | 1 | |
C. Back-Post Clamp![]() | C1 | RCV07 | Receiver, Fliplock II | 1 |
| C2 | LVR10 | Lever, Latch, Back, Mount Fliplock 2 | 1 | |
| C3 | LVR1 1 | Lever, Release, Back, Mount, Fliplock 2 | 1 | |
| C4 | ARM03 | Arm, Lever, Release, Back, Mount, Fliplock 2 | 1 | |
| CS | CLP27 | Clamp, Fliplock 2 | 1 | |
| C6 | Lee Spring a al ID 02 11 | Spring, Compression 0.12 OD, 0.313 Free Length | 1 | |
| C7 | 1/8 x 1 DP | 1/8″ x 1″ Steel Dowel Pin | 1 | |
| CB | 96640A057 | FHPhMS, 4-40 x 7/16, 82° | 1 | |
| C9 | 91294A240 | M6 x 1 x 20mm FSHCS | 2 | |
A. J & L Hardware![]() | D1 | SSS200-36 | 1″ Hold Down Drop Stop Weldment | 1 |
| D2 | SSS200-152 | 1 IN 7 Hole J-Hook | 1 | |
| D3 | SSS200-153 | Double Slot Adjustable L-Bracket | 1 | |
| D4 | 67582247 | /16 4 10 Internal Tooth H-Lock Washer | 1 | |
| D5 | TFB200-88 | Single Hole T-Nut Metric | 2 | |
| D6 | M6x1x14.3MM RBW | M6x1mm Thread, 14.3mm Barrel Height Round Base – Base Weld Nut. | 1 | |
| D7 | M6x1x35MM BHS | M6 x 1 x 35MM Button Head Screw | 1 | |
| D8 | M6x1x16MM BHS | M6 x 1 x 16MM Button Head Screw | 4 | |
| D9 | M6 SSW | 0.5 OD x .266 ID x .250 Thick Washer, Black Oxide | 2 | |
| D10 | M6x1.0 NLN | M6 – 1.0 Nylon Lock Nuts, Low Profile, 18-8 S/S, BI | 2 | |
| D11 | BR2020 | 2IN x 1IN OD x .875IN ID Reducer | 2 |
NOTICE
Altering the hardware in any way and/or improper installation will void the warranty.
Preparations
Only a qualified service technician may install the Simple Solutions Removable hardware.
WARNING
An incorrect installation of the Simple Solutions Removable hardware and its accessories can cause damage to the hardware and/or injury to the user.
Installation Plan
Set up an installation plan before beginning the installation. This plan should take into account:
- Where the Simple Solutions Removable hardware will be placed and how it will be adjusted.
- Sufficient clearance for other hardware, such as wings or laterals that may be required.
Required Tools
Use the proper tools to install and adjust the Simple Solutions Removable hardware to the desired position for the user.
The tools needed to install the Simple Solutions Removable hardware are as follows:
| Hardware | Description |
| 4mm Hex Key | Flat and Button Head Screws |
| 10mm Combo Wrench | 4-point installation, Nylon Lock Nuts |
CAUTION
The use of improper tools may cause damage to the device. Any connection must always be secured with all delivered screws. Use only the screws included in the package.
Installation Instructions
Mounting the Hardware to the Back Shell
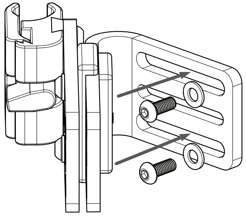
Step One: Place M6x1x16mm Button Head Screws (A5) and M6 Washers (A4) in the top and bottom slot of the Mounting Bracket* (A).
* 45° bracket shown. 90° bracket may be used, and will follow the same instructions.
Step Two: Insert the screws and the mounting bracket into one of the mounting slots on the back shell.
Step Three: Thread a Single Hole T-Nut (A7) onto each screw. Make sure the grooves in the T-nut line up with the edges of the slot. Lightly snug the screw to hold the mounting bracket in place.
Step Four: The J & L mounting brackets follow the same procedure to install on the lower portion of the back shell in 4-point installations. Align the mounting brackets with the slots in the back shell and lightly snug the M6x1x16mm Button Head Screws to hold the mounting brackets in position.
Periodically check all mounting hardware, ensuring each fastener is properly tightened.
Mounting the Hardware to the Back Posts
Note: The clamp has notches to accommodate three different back post diameters:
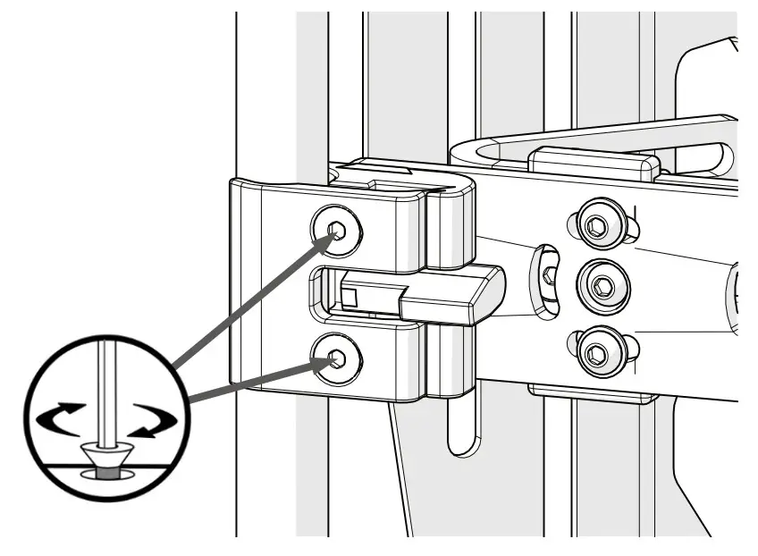
Step One: Loosen the M6x1x20mm Flat Head Screws (C9) on the Back Post Clamp.
Step Two: Select the proper pivot point (see above) and install one of the back post clamps to the back post. Snug the flat head screws to secure the clamp to the post, but do not fully tighten at this time.
Step Three: Move to the other back post clamp. If it does not line up with the back post, loosen the button head screws securing the mounting bracket to the back shell. This will allow the bracket to slide and the back post clamp to reach the back post.
Step Four: Install the clamp to the back post and snug the flat head screws to secure the clamp to the post. Center the back shell and tighten all fasteners.
WARNING
Maximum Weight Capacity: 250 lbs. (113.40 kg)
Mounting the J & L Hardware
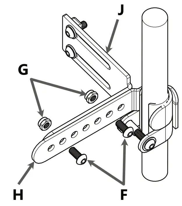
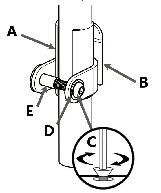
4-point installations require the J & L hardware in the lower position. Depending on the back shell installed, you will use a 45° or 90° bracket* to mount this hardware to the back shell. 7/8″ canes will require the BR2020 spacer (A) to fit the J&L hardware. (J&L hardware not included with 2-point installation.)
Step One: For 1″ canes, the Hold Down Drop Stop Weldment (B) can be placed directly on the cane. For 7/8″ canes , place the BR2020 Reducer (A) on the cane and then the Weldment (B). Position it in the proper vertical position on the cane and secure with the M6 x 1 x 35mm Button Head Screw (C), 5/16″ 4 10 Internal Tooth H-Lock Washer (D) and M6 x 1 x 14.3mm Round Base Weld Nut (E).
Step Two: To adjust the mounting hardware for depth, remove the two M6 x 1 x 16mm Button Head Screws (F) and M6 x 1 Nylon Lock Nuts (G) holding the 1 IN 7 Hole J-Hook (H) from the Double Slot Adjustable L-Bracket (J). Adjust the bracket to the desired holes and reinstall the screws to secure it in place.
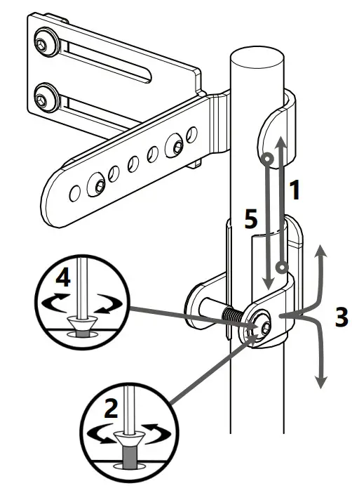
Step Three: The 1 IN 7 Hole J-Hook (H) can be separated from the Hold Down Drop Stop Weldment (A) by pulling up gently and can be returned to the same position by placing it in the slot between the back of the weldment and the cane. If the fixed or removable hardware is adjusted for height, the weldment can be loosened and matched to the rest of the 4-point hardware using #1 – #5 as shown in the image to the right.
Thoracic Support
Adjustments
Depth Adjustment
Note: The Angle Adjustment Plate has two mounting positions, 2″ (51mm) apart.
This allows a total of 4.5″ (115mm) of total depth adjustment.
Step One: Loosen the M6x1x16mm Flat Head Screw (A6) and the M6x1x20mm Button Head Screw (A8) on both mounting brackets.
Note: Flat Head Screw (A6) is accessed through the opening in the bracket.
Step Two: Slide the back shell forward or backward to the desired depth.
Note: L-Brackets can be reversed to allow for more or less depth adjustment. This change will affect width adjustability in a similar manner.
Step Three: Secure the back in the new position by tightening the M6x1x16mm Flat Head Screw and the M6x1x20mm Button Head Screw.
Operating Instructions
Width Adjustment
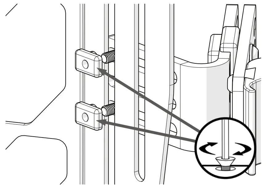
Step One: Loosen the M6x1x16mm Button Head Screws (A5) on both left and right mounting brackets (A1).
Step Two: Position the mounting brackets at the desired width.
Step Three: Secure the mounting brackets by tightening the M6x1x16mm Button Head Screws.
Note: L-Brackets can be reversed to allow for more or less depth adjustment. This change will affect width adjustability in a similar manner.
Angle Adjustment
Simple Solutions Removable hardware allows the back shell to pivot 22.5° up or down.
Step One: Loosen the two M6x1x16mm Button Head Screws (B3) on both left and right mounting brackets.
Step Two: The angle plate allows for 22.5° of adjustment in either direction. Tilt the back shell to the desired angle.
Step Three: Tighten the M6x1x16mm Button Head Screws to secure the back at the new angle.
Removable hardware operation (2 pt. and 4 pt. Removable)
Step One: Grasp the Angle Adjustment Plates (B) on each side of the back shell and lift the Release Levers (C4) on the Back Post Clamps (C).
Step Two: Lift the Angle Adjustment Plates (B). The Dovetails (B5) will slide out of the Back Post Clamps (C).
Step Three: To replace the back, slide the Dovetails (B5) into the Back Post Clamps (C). The Simple Solutions Removable hardware will automatically lock the back shell in position.
Step Four: Lift gently on the back shell to ensure the Simple Solutions Removable hardware has engaged and is locked in. If either latch is not fully engaged, repeat the steps above.
First Time Use
Dealer Assistance
During first-time use by the client, it is advised that the dealer or service technician assists and explains the set-up to the customer (the user and/or the attendant). If needed, the dealer may make final adjustments.
User Testing
It is important that the customer is fully aware of the installation, how to use it, and what can be adjusted in order to gain as much mobility as possible. As a dealer, proceed as follows:
- Explain and show the customer how you have executed the installation, and explain the function.
Have the user test the position of the Simple Solutions Removable hardware.
Is the hardware in the proper position for the client?
- Can the user safely operate all controls with minimal effort?
- If needed, make any adjustments to the positioning.
Explain to the customer possible problems and how to address them.
Conditions of Use
The Simple Solutions Removable hardware is intended for use as installed by the dealer, in accordance with the installation instructions in this manual.
- The foreseen conditions of use are communicated by the dealer or service technician to the user and/or atiendant during the first-time use.
- If the usage conditions change significantly, please contact your dealer or a qualified service technician to avoid excessive wear and tear or unintended damage.
Maintenance
Cleaning
CAUTION
Exercise caution when removing the back to avoid punctures, tears, or other damage to the fabric or foam. Be careful not to catch hair, wires, or other items when zipping and unzipping the covers.
- Use a soft cloth to clean the hardware.
- Ensure all cleaners are approved for finished steel, aluminum, plastic, and upholstered surfaces.
- A brush with soap and water can be used to remove any dirt and debris.
Disinfection
- Wipe gently with a cloth dampened with a household disinfectant.
- Allow foam to air dry thoroughly.
Maintenance
These care and guideline instructions will keep the hardware and covers in good condition for a longer period of time and prevent damage.
- Check and tighten all fasteners on a regular basis. Do not overtighten the fasteners.
- Repair or replace parts as needed.
- Gently remove dust and dirt from hardware with a damp cloth as necessary.
© 2021, Stealth Products, LLC
![]() | ![]() | ![]() |
https://stlpro.site/returns-n-warranty | https://stlpro.site/ | https://stlpro.site/stealth-docs/?searchDocument=P136D689 |
Stealth Products, LLC
[email protected]
www.stealthproducts.com
(800) 965-9229 | (512) 715-9995
104 John Kelly Drive, Burnet, TX 78611
SODIMED SA























