Mickey Mouse
Train Track Set
Instruction Manual
Content List


| 1. Train Station Base 2. Train Station 3. Piano Shop 4. Bell Tower | 5. Post Office 6. Directional Arrow 7. Flags x 2 8. Motorized Train | 9. Cargo Cart 10. Play Piano 11. Mail Sack 12. Controller | 13. Billboard 14. Railings x 2 15. Track Switch 16. Bridge 17. Track (1-8) Pieces x 22 |
WARNING: CHOKING HAZARD-Small parts.
Not for children under 3 years.
Adult Assembly Required
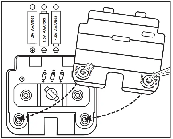
Controller: Requires 2 x “AAA” (R03) batteries (included).
Train: Requires 3 x “AAA” (R03) batteries (included).
2.4GHz
FCC ID: 2AAIB3880900
To Play
| 1. Switch from “OFF” to “ON” to start Play mode. | 2. Switch from “OFF” to “ON” to start Play mode on the Train. |
![]() | ![]() |
| 3. | 4. 3-Position Remote Controller. |
![]() | ![]() |
![]() | 5. Hook the cars together and place them on the track. Make sure the engine is in front and aligns all wheels on the track. |
- Hold the remote controller with the stick facing you. Point the remote controller toward the train and push the stick forward. The train moves forward around the track.
- Pull the stick back a little to stop the vehicle.
- Pull the stick all the way back and the vehicle travels in reverse. Release the stick to stop.
You can also play without the remote controller. - Press the button on top of the second train.
- Pressing once will move the train forward.
- Pressing again will stop the train.
- Pressing twice in succession will move the train backward.

| Rotate the station to choose a different direction. | Billboard pops up as the train passes. Make sure to push back down. |
![]() | ![]() |
| Reel piano down into train cart. | Push the mail into the train cart. |
![]() | ![]() |
Hint: We do not recommend using the engine on carpets. For best performance, use on the track provided or hard, flat surfaces.
Hints:
- If you do not operate the remote controller for two minutes, the vehicle shuts off. Press the vehicle power button and operate the remote controller to restart.
- This toy works best if you have a clear path between the remote controller and the vehicle.
- Point the remote controller at the vehicle. The maximum range of the remote controller is about 12 feet (3.66 m).
- Wipe the toy with a clean, damp cloth. Do not immerse.
Try these other fun layouts!

Battery Safety Information
| Controller: Requires 2 x “AAA” (R03) batteries (included). | Train: Requires 3 x “AAA” (R03) batteries (included). |
![]() | ![]() |
Battery Instructions
- Remove batteries when not in use or discharged.
- Do not mix old and new batteries.
- Do not use rechargeable batteries.
- Do not mix alkaline, standard (carbon-zinc), or rechargeable (nickel-cadmium) batteries.
Replacement of batteries must be done by an adult. Dispose of batteries safely. Never dispose of batteries in fire, as they may leak and explode. The product is shipped in “OFF” mode. Please switch from “OFF” to “ON” for normal play mode.
CAUTION: Changes or modifications not expressly approved by the party responsible for compliance could void the user’s authority to operate the equipment.
NOTE: This equipment has been tested and found to comply with the limits for a Class B digital device, pursuant to Part 15 of the
FCC Rules. These limits are designed to provide reasonable protection against harmful interference in a residential installation. This equipment generates, uses, and can radiate radio frequency energy and, if not installed and used in accordance with the instructions, may cause harmful interference to radio communications. However, there is no guarantee that interference will not occur in a particular installation. If this equipment does cause harmful interference to radio or television reception, which can be determined by turning the equipment off and on, the user is encouraged to try to correct the interference by one or more of the following measures :
Reorient or relocate the receiving antenna.
Increase the separation between the equipment and receiver.
Connect the equipment into an outlet on a circuit different from that to which the receiver is connected.
Consult the dealer or an experienced radio/TV technician for help.
This device complies with part 15 of the FCC rules. Operation is subject to the following two conditions :
(1) This device may not cause harmful interference, and
(2) This device must accept any interference received, including interference that may cause undesired operation.
IC: 20570-38809
Model: 38809/38054
Modèle: 38809/38054
This device contains license-exempt transmitter(s)/receiver(s) that comply with Innovation, Science, and Economic Development Canada’s license-exempt RSS(s). Operation is subject to the following two conditions:
This device may not cause interference.
This device must accept any interference, including interference that may cause undesired operation of the device.
Questions or Comments
Just Play logo © 2022 Just Play, LLC.
4850 T-Rex Ave, Suite 100
Boca Raton, FL 33431, USA
©Disney
www.disney.com
In the interest of better quality and value, we are constantly improving and updating our products.
Consequently, the pictures on this package may vary from the product enclosed.
Please retain this address for future reference.
CAUTION: Have an adult remove and dispose of all packaging, ties, and fasteners before use.
Follow Just Play on: justplayproducts.com
https://facebook.com/JustPlay
https://twitter.com/JustPlayToys
http://instagram.com/justplayproducts
https://pinterest.com/JustPlayToys
CONFORMS TO THE SAFETY REQUIREMENTS OF ASTM F963.
For questions or comments please call: 1-800-317-3245
Or write: [email protected]
Visit us at: www.justplayproducts.com




























