Commercial COOL CCRR32HW Mini Refrigerator Instruction Manual
PRODUCT REGISTRATION
Thank you for purchasing our COMMERCIAL COOL product.
This easy-to-use manual will guide you in getting the best use of your refrigerator.
Remember to record the model and serial numbers. They are on a label on the back of the product.
Staple your receipt to your manual.
You will need it to obtain warranty service.
Model number ___________________
Serial number ___________________
Date of purchase ___________________
SAFETY INFORMATION
DANGER
DANGER – Immediate hazards which WILL result in severe personal injury or death
WARNING
WARNING – Hazards or unsafe practices which COULD result in severe personal injury or death
CAUTION
CAUTION – Hazards or unsafe practices which COULD result in minor personal injury
IMPORTANT SAFETY INSTRUCTIONS
WARNING
When using electrical appliances, basic safety precautions should always be followed to reduce the risk of fire, electric shock and personal injury:
READ ALL INSTRUCTIONS BEFORE USING THE PRODUCT
NOTE: If the refrigerator/freezer has been placed in a horizontal or tilted position for any period of time, wait 24 hours before plugging the unit in.
- Use this appliance only for its intended purpose as described in this use and care guide.
- This refrigerator must be properly installed in accordance with the installation instructions before it is used. See grounding instructions in the installation section.
- Never unplug your refrigerator by pulling on the power cord. Always grasp the plug firmly and pull straight out from the outlet.
- Do not operate any appliance with a damaged cord or plug. Return appliance to the nearest authorized service facility for examination, repair or adjustment.
- Unplug your refrigerator before cleaning or before making any repairs.
NOTE: If for any reason this product requires service, we strongly recommend that a certified technician performs the service. Component parts shall be replaced with like components and servicing shall be done by factory authorized service personnel, so as to minimize the risk of possible ignition due to incorrect parts or improper service. - Do not use any electrical device or any sharp instrument in defrosting your refrigerator.
DANGER – Risk of child entrapment. Before you throw away your old refrigerator or freezer, take off the doors and leave the shelves in place so that children may not easily climb inside.- After your refrigerator is in operation, do not touch the cold surfaces in the freezer compartment, particularly when hands are damp or wet. Skin may adhere to these extremely cold surfaces.
- Do not refreeze foods that have been thawed completely. The United States Department of Agriculture in Home and Garden Bulletin No. 69 reads: “…You may safely refreeze frozen foods that have thawed if they still contain ice crystals or if they are still coldbelow 40˚F. “…Thawed ground meats, poultry, or fish that have any off-odor or off-color should not be refrozen and should not be eaten. Thawed ice cream should be discarded. If the odor or color of any food is poor or questionable, discard it. The food may be dangerous to eat … Even partial thawing and re-freezing reduce the eating quality of foods, particularly fruits, vegetables, and prepared foods. The eating quality of red meats is affected less than that of many other foods. Use refrozen foods as soon as possible, to save as much of its eating quality as you can.”
- This refrigerator should not be recessed or built-in in an enclosed cabinet. It is designed for freestanding installation only.
- Do not operate your refrigerator in the presence of explosive fumes.
SAVE THESE INSTRUCTIONS
HOUSEHOLD USE ONLY
DANGER
Risk of child entrapment. Before you throw away your old refrigerator or freezer, take off the doors. Leave the shelves in place so that children may not easily climb inside.
REFRIGERANT
GAS WARNINGS
- DANGER – Risk of fire or explosion. Flammable refrigerant used. DO NOT use mechanical devices to defrost refrigerator. DO NOT puncture refrigerant tubing.
- DANGER – Risk of fire or explosion. Flammable refrigerant used. To be repaired only by trained service personnel. DO NOT puncture refrigerant tubing.
- CAUTION – Risk of fire or explosion. Flammable refrigerant used. Consult repair manual/owner’s guide before attempting to service this product. All safety precautions must be followed.
- CAUTION – Risk of fire or explosion. Dispose of properly in accordance with federal or local regulations. Flammable refrigerant used.
- CAUTION – Risk of fire or explosion due to puncture of refrigerant tubing; Follow handling instructions carefully. Flammable refrigerant used.
GROUNDING INSTRUCTIONS
ELECTRICAL REQUIREMENTS
The electrical requirements are a 115 volt 60 Hz, AC only, 15 amp. It is recommended that a separate circuit serving only the product be provided. The product is equipped with a 3-wire cord having a 3-prong grounding plug. It must be plugged into a wall receptacle that is properly installed and grounded.
This appliance must be grounded. In the event of an electrical short circuit, grounding reduces risk of electric shock by providing an escape wire for the electric current.
The cord provided with this appliance is equipped with a grounding wire and a grounding plug. The plug must be plugged into an outlet that is properly installed and grounded.
Avoid the use of three prong adapters or cutting off the third grounding prong in order to accommodate a two prong outlet. This is a dangerous practice since it provides no effective grounding for the refrigerator and may result in shock hazard.
WARNING
Improper use of the grounding plug can result in a risk of electric shock.
Consult a qualified electrician or serviceman if:
- The grounding instructions are not completely understood.
- You are unsure that the appliance is properly grounded.
- You have any questions about the grounding or electrical instructions.
POWER SUPPLY CORD
- Avoid the use of an extension cord because of potential safety hazards under certain conditions. Have a qualified electrician or serviceman install an outlet near the appliance.
- If it is absolutely necessary to use longer cord sets or an extension cord, extreme care must be exercised.
a) Use only a grounding type 3-wire extension cord that has a 3-blade grounding plug and a 3-slot receptacle that will accept the plug on the appliance.
b) The marked electrical rating of the cord set or extension cord must be equal to or greater than the electrical rating of the appliance. The longer cord should be arranged so that it will not drape over the counter top or table top where it can be pulled on by children or tripped over unintentionally.
NOTE: Neither COMMERCIAL COOL nor the dealer can accept any liability for damage to the product or personal injury resulting from failure to observe the electrical connection procedures.
SET UP & USE
INSTALLATION GUIDE
- Unpack your refrigerator by removing all packaging materials like carton, base, foams, adhesive tape, etc.
- Remove all accessories, internal packaging material used to hold shelves, ice tray, etc. in place.
- Clean the remains of all adhesive tape used and remove all printed material supplied.
- Install the refrigerator in a convenient location away from extreme heat and cold. Allow sufficient clearance between the refrigerator and side wall so the door(s) will open without obstruction. Refrigerator is not designed for recessed installation.
- The floor on which the refrigerator should be placed must be flat, hard, solid, and even. The refrigerator should not be placed on any soft material such as foam, plastic, etc.
- To level your refrigerator, use the two leveling legs located on the bottom front of your refrigerator. Adjust by turning the legs counterclockwise to raise or clockwise to lower your refrigerator. The door will close easier if the leveling legs are extended.
- The following are recommended minimum clearances around the refrigerator for proper air circulation:
Sides: 3/4” (19mm)
Top: 2” (50mm)
Back: 2” (50mm)
Proper air circulation will help your refrigerator work at maximum efficiency.
NOTE: · The appliance must be correctly connected to the power supply.
CAUTION
Care should be taken during the handling, moving and use of the freezer to avoid damaging the refrigerant tubing or increasing the risk of a leak.
WARNING
It is important to keep the power cord away from the compressor at the back of the refrigerator during operation, the compressor can reach a high temperature and could cause serious damage to the power cord.
PROTECTION FROM HEAT AND MOISTURE
- Do not install your refrigerator in any location where heavy moisture is present or if the location is not properly insulated. This refrigerator is not designed to operate in temperature settings below 50° Fahrenheit.
- Location for the refrigerator should be on a hard surface and away from direct sunlight and heat sources, e.g., radiators, baseboard heaters, cooking appliances, etc..
DOOR ALIGNMENT
- Remove any loose items in the refrigerator and carefully place it on its back.
- Use a Phillips head screwdriver to unscrew the 6 screws from both side hinges.
- Adjust the door so it is aligned and partially secure. Make sure the door and cabinet are properly aligned and then secure tightly.
- Place the unit back in an upright position.

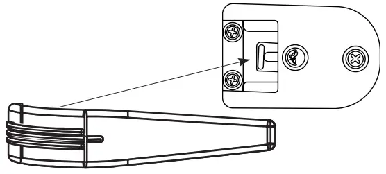
INSTALLING THE DOOR HANDLE

The base of the door handle is attached to the unit. Remove the pull handle that is packed inside the refrigerator.
Insert the opening of the pull handle into the base and push it until it clicks into place.
Check to make sure it is secured. Do not remove once it is installed.
PARTS & FEATURES


OPERATION INSTRUCTIONS
STARTING YOUR NEW REFRIGERATOR
After cleaning your refrigerator thoroughly. Wipe the outside with a soft, dry cloth, the interior with a clean, moist cloth.
- Insert the power supply cord into the socket.
- Turn the thermostat dial to an initial setting of “7” for 15-20 minutes.
NOTE: • As the door gets pressed in during shipping, the gasket may have to be reset. This is done to prevent the cool refrigerated air from escaping. If there is a gap between the door gasket and the cabinet, set the gasket by gently pulling it out of the seal gap.
TEMPERATURE CONTROL
NOTE:
- If the refrigerator/freezer has been placed in a horizontal or tilted position for any period of time, wait 24 hours before plugging the unit in.
- The settings of the temperature control are “0, 1, 2, 3, 4, 5, 6, 7.” Adjust the temperature control to the setting that best suits your needs. The setting of “4” should be appropriate for home or office use.
- Turning the temperature to “0” position will shut off the cooling cycle in both the refrigerator and freezer sections, but does not turn off the electrical power to the unit.
NOTE:
- Wait 3-5 minutes before restarting if you unplug the refrigerator. The unit may fail to operate properly if restarted too quickly.
- If the ambient temperature is too high, the refrigerator may not reach the desired target temperature.
- Large amounts of food will lower the cooling efficiency of the appliance.
- Do not place food items on the air outlet and leave spaces for airflow.
- If you choose to change the thermostat setting, adjust thermostat control one increment at a time. Allow several hours for temperature to stabilize between adjustments.
FOOD STORAGE
- When storing fresh food that is not prepackaged, be sure to wrap or store food in airtight and moisture proof material unless otherwise noted. This will ensure proper shelf life and prevent the transfer of odors and tastes.
- Wipe containers before storing to avoid needless spills.
- Eggs should be stored in an upright position in their original carton to maximize shelf life.
- Fruit should be washed and dried, then stored in sealed plastic bags before storing in the refrigerator.
- Vegetables with skins should be stored in plastic bags or containers.
- Leafy vegetables should be washed and drained and then stored in plastic bags or containers.
- Hot food should be allowed to cool before storing in the refrigeration. This will prevent unnecessary energy use.
- Fresh seafoods should be used the same day as purchased.
- When storing meats in the fresh food section, keep the original packaging or rewrap as necessary.
FREEZER COMPARTMENT
To release frozen ice cube tray from the bottom of the compartment, pour warm water around it. Boiling water should not be used as it can damage the interior cabinet. Metal objects, such as, screwdrivers or sharp knives can damage and puncture the cooling system tubing. Do not wash the ice cube tray in a dishwasher; only wash in lukewarm water.
REFRIGERATOR INTERIOR SHELF
- Carefully tilt the shelf up and slide forward until the shelf has been completely removed.
- Slide the shelf back to replace.

CLEANING AND CARE
CLEANING AND MAINTAINING
The refrigerator should be cleaned and maintained once a month. Before doing so, you must unplug the refrigerator.
CAUTION
To avoid personal injury or product damage always read and follow manufacturer’s instructions and warnings before using any cleaning products.
WARNING
Always unplug your refrigerator before cleaning to avoid electric shock. Ignoring this warning may result in death or injury.
POWER INTERRUPTION
In case of a power interruption/outage, unplug the power cord from the wall outlet. Replug the power cord to the wall outlet once the power has been restored. For long periods of power outage, inspect and discard the spoiled or thawed foods from the refrigerator and freezer compartments. Clean the refrigerator thoroughly before using again.
CLEANING METHOD
Prepare a cleaning solution of 3-4 tablespoons of baking soda mixed with warm water. Use sponge or soft cloth, dampened with the cleaning solution to wipe down your refrigerator.
- Rinse with clean, warm water and dry with a soft cloth.
- Do not use harsh chemicals, abrasives, ammonia, chlorine bleach, concentrated detergents, solvents or metal scouring pads. Some of these chemicals may dissolve, damage and/or discolor your refrigerator.
DOOR GASKET
Clean door gaskets every three months according to general instructions. Gasket must be kept clean and pliable to assure a proper seal.
Petroleum jelly applied lightly on the hinge sides of gaskets will keep the gasket pliable and ensure a good seal.
VACATION AND MOVING CARE
- When going on vacation, it is best that you empty all the food from your refrigerator and freezer. Set the temperature dial to “0” and unplug the refrigerator. Clean the unit as per “Cleaning Method” and leave the door open to remove any odors.
- When travelling or moving the refrigerator, always transport the unit vertically. Moving the unit on its sides may damage the refrigerator and/or its compressor.
ENERGY SAVING TIPS
- The refrigerator should be located in the coolest area of the room, away from heat-producing appliances or heating ducts, and out of direct sunlight.
- Let hot foods cool to room temperature before placing in the refrigerator. Overloading the refrigerator forces the compressor to run longer and thus increase energy consumption. Foods that refrigerate too slowly may lose quality or spoil.
- Be sure to wrap foods properly, and wipe containers dry before placing in the refrigerator.
- The shelves should not be lined with aluminum foil, wax paper, or paper towels. This will interfere with cold air circulation, making the refrigerator less efficient.
- Organize food to reduce door openings and extended searches. Remove as many items as needed at one time, and close the door as soon as possible.
HOW TO DEFROST
(Refer to Fig A)
- For maximum energy efficiency, defrost freezer section whenever frost accumulates to a thickness of 1/4” or more on freezer walls. Note that frost tends to accumulate more during the summer months.
- Remove the food and ice cube tray to empty the freezer section. Make sure the drip tray is in place (Fig A) to collect the water dripping.
- Turn temperature control dial to 0 position and unplug the unit. Defrosting may take a few hours. To speed up defrost time, keep the door open and place a bowl of warm water in the freezer.
- An ice scraper has been included for your convenience. You can use it to gently remove frost if needed.
- During defrost, water will accumulate in the drip tray. Make sure it does not overflow. Do not leave unattended.
- After defrosting, empty the drip tray and wipe down the interior of the freezer. When the drip tray is thoroughly dried, return it to its original position. You may now reset your refrigerator to the desired temperature and return food
NOTE:
- Do not heat the evaporator directly with hot water or hair dryer while defrosting. Doing so will damage the freezer compartment.
- Never use a sharp or metallic instrument to remove frost as it may damage the refrigerator and puncture the cooling coils.
It will also void the warranty. We recommend using a plastic scraper.

TROUBLESHOOTING & WARRANTY
BEFORE YOU CALL FOR SERVICE
IF THE REFRIGERATOR FAILS TO OPERATE:
A) Check to make sure that the refrigerator is plugged in securely. If it is not, remove the plug from the outlet, wait 10 seconds and plug it in again securely.
B) Check for a blown circuit fuse or a tripped main circuit breaker. If these seem to be operating properly, test the outlet with another appliance.
IF NONE OF THE ABOVE SOLVES THE PROBLEM, CONTACT A QUALIFIED TECHNICIAN. DO NOT TRY TO ADJUST OR REPAIR THE REFRIGERATOR YOURSELF.
CUSTOMER SERVICE
IMPORTANT
DO NOT RETURN THIS PRODUCT TO THE STORE
If you have a problem with this product, please contact the W Appliance Co. Customer Satisfaction Center at 855-855-0294.
DATED PROOF OF PURCHASE, MODEL # AND SERIAL # REQUIRED FOR WARRANTY SERVICE
TROUBLESHOOTING
Troubleshoot your problem by using the chart below. If the refrigerator still does not work properly, contact W Appliance Co. customer service center or the nearest authorized service center. Customers must never troubleshoot internal components.
| TROUBLE | POSSIBLE CAUSE | POSSIBLE REMEDY |
| Refrigerator does not work. | A. Refrigerator is not switched on. B. Unit is not plugged in or is loose. C. Fuse has blown or is defective. D. Wall power socket is defective. | A. Turn on the temperature control dial. It may be in the OFF, “0” position. B. Plug in the refrigerator. C. Check fuse, replace if necessary. D. To be corrected by a qualified electrician. |
| The food is too cold. | A. Temperature is not properly adjusted. | A. Set the temperature control dial to a warmer setting. |
| The food is too warm . | A. Temperature is not properly adjusted. B. Door was open for an extended period. C. A large quantity of warm food was placed in the refrigerator within the last 24 hours. D. The refrigerator is near a heat source. | A. Set the temperature control dial to a cooler setting. B. Open the door only as long as necessary. Check door gasket for proper seal. C. Set the temperature control dial to a colder setting temporarily. D. Please look in the “Protection From Heat and Moisture” section. |
| Heavy build-up of frost, possibly also on the door seal. NOTE: This is normal during high humidity periods. Frequent door openings will also cause heavy frost buildup. | A. Door seal is not air-tight. | A. Carefully warm the leaking sections of the door gasket with a hair dryer (on a cool setting). At the same time, shape the warmed door seal by hand such that it sits correctly. |
| Popping or cracking sounds. | A. When compressor comes on. | A. This is a normal sound of coolant flowing through condenser coils. |
| Refrigerator door does not shut properly. | A. The refrigerator door is not properly aligned. B. Possible blockage from food containers, shelves, bins, etc.. | A. Re-align the refrigerator door. Refer to the “Door Alignment” section. B. Ensure nothing is blocking the door. |
| Refrigerator has an odor. | A. Foods not properly sealed. B. Interior needs cleaning. | A. Removed any contaminated foods. B. Please refer to “Cleaning and Care” section. |
LIMITED WARRANTY
Any repair, replacement, or warranty service, and all questions about this product should be directed to W Appliance Co. at 855-855-0294 from the USA or Puerto Rico.
W Appliance Co. warrants to the original purchaser that the product will be free from defects in material, parts and workmanship for the period designated for this product. The warranty commences the day the product is purchased and covers up to a period of 1 year (12 months) for labor/1 year (12 months) for parts (manufacturing defects only)/carry in service/ and a total of 2 years (24 months) for compressor part only. W Appliance Co. agrees that it will, at its option, replace the defective product with either a new or remanufactured unit equivalent to your original purchase during the warranty period.
Exclusions: This warranty does not apply to the below:
- If the appearance or exterior of the product has been damaged or defaced, altered or modified in design or construction.
- If the product original serial number has been altered or removed or cannot be readily determined.
- If there is damaged due to power line surge, user damage to the AC power cord or connection to improper voltage source.
- If damage is due to general misuse, accidents or acts of God.
- If repair attempts are done by unauthorized service agents, use of parts other than genuine parts or parts obtained from persons other than authorized service companies.
- On units that have been transferred from the original owner.
- On products that have been purchased as refurbished, like new, second-hand, in a “As-Is” or “Final Sale” terms.
- To products used in a commercial or rental setting.
- To products used in settings other than ordinary household use or used other than in accordance with the provided instructions.
- To damages for service calls for improper installations.
- To glass parts and other accessory items that are included with the unit.
- Transportation and shipping costs associated with the replacement of the unit.
- Food loss for loss due to product failure or delay in service, repair or replacement.
- Service calls to instruct you how to use your product.
- Service calls to repair or replace the house fuse, reset the circuit breaker or correct the wiring in the house.
REPAIR OR REPLACEMENT AS PROVIDED UNDER THIS WARRANTY IS THE EXCLUSIVE REMEDY OF THE CUSTOMER; W Appliance Co. SHALL NOT BE LIABLE FOR ANY INCIDENTAL OR CONSEQUENTIAL DAMAGES FOR BREACH OF ANY EXPRESS OR IMPLIED WARRANTY ON THIS PRODUCT, EXCEPT TO THE EXTENT PROHIBITED BY APPLICABLE LAW. ANY IMPLIED WARRANTY OF MERCHANTABILITY OF FITNESS FOR A PARTICULAR PURPOSE ON THIS PRODUCT IS LIMITED TO THE DURATION OF THE WARRANTY.
Some states do not allow the exclusion or limitations of incidental or consequential damages, or limitations on how long the warranty lasts. In these cases the above exclusions or limitations may not apply to you. This warranty gives you specific legal rights and you may also have other rights which vary from state to state.
Obtaining Service: To obtain service, product literature, supplies or accessories please call 855-855-0294 to create a ticket for exchange/repair.
Please make sure to provide the date of purchase, model number and a brief description of the problem. Our customer service representative will contact you or send detailed return instructions.
W Appliance Co. does not warrant that the appliance will work properly in all environmental conditions, and makes no warranty and representation, either implied or expressed, with respect to the quality, performance, merchantability, or fitness for a particular purpose other than the purpose identified within this user’s manual. W Appliance Co. has made every effort to ensure that this user’s manual is accurate and disclaims liability for any inaccuracies or omissions that may have occurred. Information in this user’s manual is subject to change without notice and does not represent a commitment on the part of W Appliance Co.. W Appliance Co. reserves the right to make improvements to this user’s manual and/or to the products described in this user’s manual at any time without notice. If you find information in this manual that is incorrect, misleading, or incomplete, please contact us at 855-855-0294.
W Appliance Co. 1356 Broadway New York, NY 10018

© 2022 Commercial Cool is a W Appliance Company.
All Rights Reserved.

















