![]()
HOMEDEPOT Magic Home Farmhouse Sink Instruction Manual

![]()
Farmhouse Kitchen Sink
- Premium grade handmade sink
- 16/18 gauge Stainless Steel 304
- Vertical angle corner/R10 radius coved corner
- Best-in-breed sound and thermal insulation
- Limited lifetime warranty
In Accordance with Industry Codes & Standards for USA & Canada
All MAGIC HOME Stainless Kitchen Sinks are Certified & Listed By cUPC.
CAUTION
Due to the weight and sharp edges of the sink, exercise caution when handling, moving or lifting the box or the s ink. Use safety gloves and protective gear for eyes and ears. Get assistance when lifting or mounting the sink at any time during the installation procedure.DO NOT attempt to handle or install this product if doing so post a risk of bodily injury or you are medically unfit to carry out the installation.
IMPORTANT: MAGIC HOME strongly recommends that this product be installed by a licensed plumber. Ensure that installation complies with applicable plumbing and building codes.
TOOLS
Safety glasses / maker / silicone adhesive sealant / tape measure / Jigsaw / rags / wood braces / level / screws / bladed screwdriver
Setup Instructions
Step 1 : Measure the height of apron sink, cut cabinet front cutout and countertop cutout accordingly.

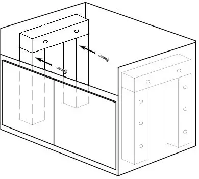
Step 2: Make a proper frame under to support the farmhouse sink.
Cut two support framings to extend along the inner walls of the cabinet on each side of the base. Mark the location of the support mounting as shown to ensure that the rim of the sink will sit at framings and slightly below the top edge of the cabinet.

Step 3: Make sure there is a proper spacing for sink before gluing and inserting screws into the wood and cabinet.

Step 4: Position and fixing the supports with screws

Step 5: Put the sink into the cabinet. Check if the sink is resting on the supports.

Step 6: Remove the sink.

Step 7: Apply the silicone sealant to the top of each support.
![]()
Step 8: Place the sink onto the support and adjust it to be in proper position. Sink should be positioned at least 4’’ between the back of the cabinet to allow faucet installation.

Step 9: Then cover the countertop on the sink.

Step 10: Install the secure clips to the countertop, make sure each clip engages with the rim of the sink (minimum 4 clips in back, 2 clips per side). Tighten each clips evenly.

Step 11: Complete countertop installation and wipe away any excess caulk from the sink rim.
- Connect drain to sink. Connect trap to drain. Connect water supply connections to faucet according to manufacturer’s instructions.
- Run water into sink and check for leaks.
MAINTENANCE INSTRUCTIONS
FAQs
1. Why is there rust in my new kitchen sink?
Reasons:
- The rust may be caused by the welding cement, or oil residue on the sink which when not cleaned on time can lead the sink to rust.
- Chemical cleaning agent, paint, sauces or cooking oil left in the kitchen sink after a certain period, these will create molds and the molds would stick on the surface.
Prevention and Treatments:
- Install the sink after everything else is done, and clean your sink right after installation.
- Clean your sink after every use.
- Properly remove the rust and molds using a scouring pad
2. What will scratch or harm the sink?
Reasons:
- Improper packaging can lead to scratch marks. The accessories may scratch the sinks during transit.
- MAGIC HOME will try our best to pack the sinks well which would avoid the scratches. But the sink is easily scratched by sharp objects.
Prevention and Treatments:
- Minor scratch: You can use a sponge with toothpaste to polish it again and again.
- Moderate scratch: Using a scouring pad to polish small areas.
- Serious scratch: Purchase stainless steel polisher.
3. What cause the hard water stains?
Reasons: This is normal if you use the sink after a certain period of time.
Prevention and Treatments:
- Scouring powder can easily solve the problem.
- Clean Daily. Use a soft towel to wipe the sink with warm water. Mixing in some washer-fluid is advisable Remember wipe it dry at last.
DO
- Daily Use, Daily Clean! Use soft towel to keep the sink bowl dry.
- Clean up as soon as possible once used any chemical or corossion products.
- The sink is brushed finish, pls wipe it along with the brushed direction
DO NOT
- Leave water spots, utensils or steel cool-ware in the sink for a long time, which would become rust spots on your sink surface.
- Leave cleaning agents or bleach sitting in your sink for a long period of time which may cause the sink discolor or damage the surface.
- Use a steel wool or scouring pad rubbing against the direction of the grain.
- Leave rubber mats, cleaning pads or sponges in the sink for a long time as this may ruin the finish of your sink.
- Use the inside of the sink as cutting surface.
How to use scouring pad correctly?
- Get a dry and clean non- scratch scrub pad.
- Scrub the rust off according to the direction of the grain.
STAINLESS STEEL FARMHOUSE SINKS
General Recommendations:
- Check all the matching products inside when opening the package.
- Inspect your sink for any noticeable damage before installation.
- Read the installation and maintenance instruction thoroughly before installation.
- Consult your cabinet dealer before custom order cabinet for the sink.
- MAGIC HOME suggests using experienced and professional installers.
- MAGIC HOME does not responsible for any damage to countertop, sink fixture, faucet and personal injury during installation.
SERVICE AND SUPPORT
MAGIC HOME carries out the quality standard refining on every detail, and its ingenious modelling and exquisite craftsmanship make the sink present an artwork-like sense of reality, revealing a “delicate” and “natural” beauty within an inch. Its user-friendly design, advanced drainage system and unique antibacterial technique solve the trouble in kitchen life completely. Moreover, the nanotechnology series of sink featuring high temperature resistance, shock resistance and oil resistance combines tradition and innovation perfectly, so as to provide you with extraordinary and elegant living experience.
CONTACT US:
E-mail: [email protected] URL: www.MAGICHOME.com
Read More About This Manual & Download PDF:















