SERVER 88780 Wall Mounted Dry Food and Candy Dispensers

Instructions
Tips and tricks to help you get started with your new Dry Product Dispenser.
- Remove unit from box. Clean, rinse,sanitize, and air dry parts.

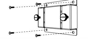
- Install wall bracket. Select wall location or sturdy vertical surface for mounting. Determine proper mounting hardware you will need to supply. Secure bracket to wall stud(s), anchor bolts in wall, or sturdy vertical surface.
YOU WILL NEED:- Screwdriver
- Appropriate fasteners

- Set portion control. Hold cylinder with “ML” and “OZ” markings right-side up. Insert portion plug, round-side up, into bottom opening of cylinder. Ribs indicate portion size. Align bottom tabs on plug with rib indicating desired portion size.

- Insert cylinder into body. Rotate cylinder so that portion markings are upside down. Turn notch on left side of cylinder rim towards one o’clock position.

- Install handle onto cylinder. Handle pull-tab must be on right side. Handle must be in upward position. Slide handle over both sides of body and cylinder. Snap handle holes over tabs on each side of cylinder.

- Add discharge fitting tube to bottom opening of dispenser.

- Install unit into bracket. Slide unit flanges into top of wall bracket slots. Tighten them screws on both sides of unit to secure.

- Add dry ingredients to body of unit. Place lid on top.

- Swing handle downward to load the portion. Swing handle upward to dispense the portion.

WANT TO LEARN MORE?
Visit server-products.com/manual-more for your manual, part breakdown, support videos and more.
[email protected] | 800.558.8722 
REFERENCE YOUR PART NUMBER (P/N) LOCATED ON THE LID OR BASE.





























