Gaggenau
User manual and installation instructions
WS061102
Warming drawer
1 Safety
Observe the following safety instructions.
1.1 General information
- Read this instruction manual carefully.
- Keep the instruction manual and the product information safe for future reference or for the next owner.
- Do not connect the appliance if it has been damaged in transit.
1.2 Intended use
Only use this appliance:
- To keep food warm and to warm cookware.
- To prepare meals and drinks.
- In private households and in enclosed spaces in a domestic environment.
- Up to an altitude of max. 4000 m above sea level.
Do not use the appliance:
- On boats or in vehicles.
1.3 Restriction on user group
This appliance may be used by children aged 8 or over and by people who have reduced physical, sensory or mental abilities or inadequate experience and/or knowledge, provided that they are supervised or have been instructed on how to use the appliance safely and have understood the resulting dangers.
Do not let children play with the appliance. Children must not perform cleaning or user maintenance unless they are at least 15 years old and are being supervised.
Keep children under the age of 8 years away from the appliance and power cable.
1.4 Safe use
WARNING ‒ Risk of fire!
The inside of the appliance gets very hot and may cause flammable materials to ignite.
▶ Never place flammable objects or plastic containers in the appliance.
WARNING ‒ Risk of burns!
The accessories and cookware become very hot during operation.
▶ Always use oven gloves when removing hot accessories or cookware from the appliance.
The inside of the appliance becomes very hot during operation.
▶ Never touch the inside of the appliance while it is hot.
▶ Keep children away from the appliance. The rear of the front panel becomes very hot during operation.
▶ To open the appliance, only touch the front panel or the underside.
The appliance becomes hot during operation.
▶ Allow the appliance to cool down before cleaning.
WARNING ‒ Risk of electric shock!
Incorrect repairs are dangerous.
▶ Repairs to the appliance should only be carried out by trained specialist staff.
▶ Only use genuine spare parts when repairing the appliance.
▶ If the power cord of this appliance is damaged, it must be replaced with a special connection cable, which is available from the manufacturer or his Customer Service.
If the insulation of the power cord is damaged, this is dangerous.
▶ Never let the power cord come into contact with hot appliance parts or heat sources.
▶ Never let the power cord come into contact with sharp points or edges.
▶ Never kink, crush or modify the power cord.
An ingress of moisture can cause an electric shock.
▶ Do not use steam- or high-pressure cleaners to clean the appliance.
If the appliance or the power cord is damaged, this is dangerous.
▶ Never operate a damaged appliance.
▶ Never pull on the power cord to unplug the appliance. Always unplug the appliance at the mains.
▶ If the appliance or the power cord is damaged, immediately unplug the power cord or switch off the fuse in the fuse box.
▶ Call customer services.
WARNING ‒ Risk of suffocation!
Children may put packaging material over their heads or wrap themselves up in it and suffocate.
▶ Keep packaging material away from children.
▶ Do not let children play with packaging material. Children may breathe in or swallow small parts, causing them to suffocate.
▶ Keep small parts away from children.
▶ Do not let children play with small parts.
WARNING ‒ Risk of injury!
The appliance becomes very hot during the pyrolytic self-cleaning of an oven that is installed above it.
▶ Do not touch the appliance during the pyrolytic self-cleaning.
▶ Allow the appliance to cool down.
2 Preventing material damage
ATTENTION!
Excessive weight may damage the appliance.
▶ The appliance has a maximum load capacity of 25 kg.
Moisture may damage the appliance.
▶ Do not use the appliance to store food and drinks.
The humidity of the food may cause corrosion damage.
3 Environmental protection and saving energy
3.1 Disposing of packaging
The packaging materials are environmentally compatible and can be recycled.
▶ Sort the individual components by type and dispose of them separately.
3.2 Saving energy
If you follow these instructions, your appliance will use less power.
To preheat cookware efficiently, distribute the cookware evenly throughout the appliance.
It is more energy-efficient to prepare food, e.g. low-temperature cooking, in the warming drawer rather than in the oven.
4 Familiarising yourself with your appliance
4.1 Control panel
You can use the control panel to configure all functions of your appliance and to obtain information about the operating status.
Touch fields
Touch fields are touch-sensitive surfaces. To select a function, press the relevant field.
| Touch field | Function |
| Switch the appliance on or off | |
| Adding favourites¹ | |
![]() | Preheating cups |
![]() | Preheating cookware |
| Keeping food warm | |
![]() | Low-temperature cooking |
| Setting the temperature | |
| 30° – 80° | Selecting a temperature² |
![]() | Starting Home Connect pairing |
| 1 Only available if the appliance is connected to Home Connect. 2 Depending on the selected operating mode. | |
Notes
- If you touch the touch field, the appliance performs the corresponding function.
- Touch fields that cannot currently be selected do not light up.
- The settings that are currently selected light up in colour.
- Always keep the controls dry. Moisture reduces its effectiveness
Displays
The displays on the control panel show the operating status of the appliance.
| Display | Function |
lights up white | Home Connect is available. |
flashes white | Appliance connects to Home Connect. |
lights up in colour | Appliance is connected to Home Connect. |
flashes in colour | Connection to Home Connect is faulty. |
The operation indicator is located on the appliance’s front panel.
| Operation indicator | Function |
| Off | Appliance OFF |
| Lights up | Appliance ON |
| Flashes | Heating-up display |
| Flashes quickly | Fault |
Default temperature and temperature range
The appliance displays the possible temperature range depending on the operating mode selected. The selected operating mode and the corresponding default temperature light up in colour.
When the appliance is switched on, the operating mode and temperature that were last set light up in colour.
| Operating mode | Default temperature in °C | Adjustable temperature range in °C |
Preheat cups![]() | 50 | 40 – 60 |
Preheat cookware![]() | 60 | 50 – 70 |
| Keep food warm | 70 | 60 – 80 |
Low-temperature cooking ![]() | 80 | 70 – 80 |
| Temperature range | 50 | 30 – 80 |
4.2 Long-term timer
With this function, the appliance keeps the temperature between 30 and 80 °C for a longer period of time. You can keep food warm for up to 74 hours without having to switch the appliance on or off. Bear in mind that food which spoils easily should not be left in the appliance for too long.
If you open the warming drawer for this function, the appliance continues to heat up and the fan runs
4.3 Safety shut-off
For your safety, the appliance has a safety shut-off function. Any kind of heating will be switched off after 24 hours if the appliance controls are not used during this time. All displays are off. When the appliance switches off, an audible signal sounds. The appliance will also remain off after a power failure.
The safety shut-off is deactivated in the long-term timer mode.
5 Before using for the first time
Prepare the appliance for use.
5.1 Cleaning and heating up the appliance before using it for the first time
Note: When the appliance is switched on for the first time, it takes approx. 60 seconds until the appliance is ready to use. A signal tone sounds. The touch fields light up in ascending order from left to right.
Requirement: There are no objects in the appliance.
1. Open the warming drawer using the recessed grip on the underside of the panel.
2. Clean the appliance with a damp cloth and a neutral cleaning agent, such as washing-up liquid and water.
3. Press
.
A signal tone sounds.
4. Press
.
5. Press 80 °C and close the warming drawer.
The operation indicator flashes while the appliance is preheating.
6. Heat up the appliance at 80 °C for one hour. Smoke development and odour development are normal.
Ventilate the installation room well.
6 Cookware
Observe the instructions for filling the appliance. The warming drawer has a maximum load capacity of 25 kg. You can heat a different quantity of cookware depending on the appliance height.
6.1 Cookware for appliances with a height of 29 cm
You can use an appliance with a height of 29 cm to preheat the place settings for 12 people, for example.
| Cookware | Dimensions |
| 12 dinner plates | 27 cm diameter |
| 12 soup bowls | 13 cm diameter |
| 1 bowl | 24 cm diameter |
| 1 bowl | 21 cm diameter |
| 1 bowl | 17 cm diameter |
| 2 meat platters | 32×20 cm |
6.2 Cookware for appliances with a height of 14 cm
You can use an appliance with a height of 14 cm to preheat the place settings for 6 people, for example.
| Cookware | Dimensions |
| 6 dinner plates | 27 cm diameter |
| 6 soup bowls | 13 cm diameter |
| 1 bowl | 20 cm diameter |
| 1 bowl | 18 cm diameter |
| 1 bowl | 14 cm diameter |
| 1 meat platters | 32×20 cm |
7 Basic operation
7.1 Opening the appliance
WARNING ‒ Risk of burns!
The rear of the front panel becomes very hot during operation.
▶ To open the appliance, only touch the front panel or the underside.
▶ Open the warming drawer using the recessed grip on the underside of the panel.
7.2 Closing the appliance
▶ Push the warming drawer in.
7.3 Switching on the appliance
1. Press
.
A signal tone sounds.
2. Select an operating mode.
The default temperature lights up in colour.
The available temperatures light up.
3. If required, select another temperature.
The selected temperature lights up in colour.
4. Close the warming drawer.
The operation indicator flashes while the appliance is preheating.
The operation indicator lights up, the appliance heats up and the fan runs.
7.4 Switching off the appliance
▶ Press
.
A signal tone sounds.
7.5 Set temperature
1. Press
.
The default temperature lights up in colour.
The temperatures that can be set light up white.
2. Select a temperature.
The selected temperature lights up in colour.
7.6 Adjusting the default temperature
1. Select the operating mode.
2. Press and hold the symbol for the required default
temperature until the signal tone sounds.
The default temperature has changed.
7.7 Starting the long-term timer
1. Press
.
A signal tone will sound.
2. Press
.
The default temperature lights up in colour.
3. Set the required temperature between 30 °C and 80 °C.
4. Press
and
at the same time.![]()
lights up in colour. 30° lights up white.
5. Press 30°.
30° lights up in colour.
6. Press and hold
until a signal sounds.![]()
lights up white.![]()
and the set temperature light up in colour. The brightness of the display is dimmed.
7. Close the warming drawer.
The operation indicator lights up, the appliance heats up and the fan runs.
If you open the warming drawer for this function, the appliance continues to heat up and the fan runs.
7.8 Ending the long-term timer
1. Press
.
The long-term timer has ended.
2. Press
to switch off the appliance again.
A signal tone will sound.
Tip: If you have connected the appliance to Home Connect, you can programme a switch-off timer in the Home Connect app.
8 Pre-heating cookware
Food remains warm for longer in preheated cookware.
8.1 Starting the “Preheat cookware” function
1. Place the cookware in the warming drawer.
‒ To guarantee that hot air can circulate efficiently, ensure that no tall items of cookware or stacks of plates are blocking the ventilation slots on the rear panel of the appliance.
‒ Distribute the cookware across the entire bottom of the appliance to reduce the preheating time. The preheating time depends on the material, thickness, quantity and distribution of the cookware. For place settings for 6 people, the preheating time is approx. 30-40 minutes.
2. Press
.
The default temperature lights up in colour.
The available temperatures light up.
3. If required, select another temperature.
4. Close the warming drawer.
The operation indicator flashes while the appliance is preheating.
The operation indicator lights up, the appliance heats up and the fan runs.
8.2 Ending the “Preheat cookware” function
WARNING ‒ Risk of burns!
The accessories and cookware become very hot during operation.
▶ Always use oven gloves when removing hot accessories or cookware from the appliance.
1. Open the warming drawer.
2. Switch off the appliance.
3. Remove the cookware.
9 Preheat cups
Drinks remain warm for longer in preheated cups.
9.1 Starting the “Preheat cups” function
WARNING ‒ Risk of burns!
There is a risk of burns if the temperatures are too high.
▶ Always set temperatures below 60 °C for cups.
1. Place the cups in the appliance.
‒ Distribute the cups across the entire bottom of the appliance to reduce the preheating time. The preheating time depends on the material, thickness, quantity and distribution of the cups.
2. Press
.
The default temperature lights up in colour.
The available temperatures light up.
3. If required, select another temperature.
4. Close the warming drawer.
The operation indicator flashes while the appliance is preheating.
The operation indicator lights up, the appliance heats up and the fan runs.
9.2 Ending the “Preheat cups” function
WARNING ‒ Risk of burns!
The accessories and cookware become very hot during operation.
▶ Always use oven gloves when removing hot accessories or cookware from the appliance.
1. Open the warming drawer.
2. Switch off the appliance.
3. Remove the cups.
10 Keep food warm
You can use the warming drawer to keep food warm for a certain period of time.
10.1 Starting the “Keep food warm” function
1. To prevent spillage, do not completely fill the cookware.
2. Cover the food with heat-resistant cling film, aluminium foil or a heat-resistant cover.
3. Place the cookware in the appliance.
4. Press
.
The default temperature lights up in colour.
The available temperatures light up.
5. If required, select another temperature.
6. Close the warming drawer.
The operation indicator flashes while the appliance is preheating.
The operation indicator lights up, the appliance heats up and the fan runs.
10.2 Ending the “Keep food warm” function
WARNING ‒ Risk of burns!
The accessories and cookware become very hot during operation.
▶ Always use oven gloves when removing hot accessories or cookware from the appliance.
1. Open the warming drawer.
2. Switch off the appliance.
3. Remove the cookware.
10.3 Recommended settings for keeping food warm
Observe the following recommended settings when keeping food warm. To prevent the food from drying out, observe the maximum duration in the overview.
| Food | Preheating cookware | Temperature in °C | Duration in minutes | Information |
| Boiled eggs, scrambled eggs | Yes | 50 | Maximum 60 | Cover the food |
| Toasting bread, rolls | Yes | 60 | Maximum 60 | |
| Delicate foods, e.g. cooked meat | No | 60 | Maximum 60 | Carve the meat just before serving; cover the food |
| Food | Yes | 80 | Maximum 60 | Cover the food |
| Beverages | Yes | 70 | Maximum 60 | Cover beverages |
11 Making yeast dough or yoghurt
You can use your appliance to make yeast dough or yoghurt.
11.1 Making yeast dough
1. Make the yeast dough.
2. Put the yeast dough into a suitable container.
3. Place the container in the appliance.
4. Cover the container with a damp tea towel.
5. Heat the appliance in accordance with the corresponding temperature indicator and time.
11.2 Making yoghurt
1. To make thick yoghurt, add skimmed milk powder to the milk before heating it.
Use one to two tablespoons of skimmed milk powder per litre of milk.
2. Heat pasteurised milk to 90 °C on the hob to prevent a disturbance of the yoghurt cultures.
For ultra-high temperature (UHT) milk, heating is not required.
Cold milk extends the incubation time.
3. Allow the milk in the water bath to cool to 40 °C so that the yoghurt cultures are not destroyed.
4. Stir natural yogurt with designated yogurt cultures into the milk. Use one to two teaspoons of yoghurt per 100 ml milk.
5. When using yoghurt starter, follow the instructions on the packet.
6. Use yoghurt jars with screw tops.
7. If available, disinfect the washed yoghurt jars in your steam oven at 100 °C and 100% humidity for 20-25 minutes.
8. Pour the yoghurt mixture into the disinfected yoghurt jars.
9. Close the yoghurt jars using a screw lid.
10. Place the yoghurt jars in the appliance.
11. Place the finished yoghurt into the refrigerator.
11.3 Recommended settings for making yeast dough or yoghurt
Observe these recommended settings.
| Food | Temperature in °C | Duration in minutes | Information |
| Yeast dough | 40 | 45-60 | Bowl, dish or baking tray; cover the yeast dough |
| Yoghurt | 40 | 420 | Close the yoghurt jars with the lids |
12 Low-temperature cooking
Low-temperature cooking is the ideal cooking method for cooking all tender pieces of meat which are to be cooked medium rare or “à point”. The meat remains very juicy and turns out as soft as butter. Since the times for low-temperature cooking are considerably longer, you have plenty of leeway for menu planning. Meat that is cooked at a low temperature is easy to keep warm.
12.1 Tips for low-temperature cooking
This is where you will find tips for achieving good results when cooking at a low temperature.
- Only use fresh, good-quality meat. Carefully remove sinews and fat from around the edge. Fat develops a strong, distinct taste during low-temperature cooking.
- Even larger pieces of meat do not need to be turned.
- You can cut the meat immediately after low-temperature cooking. No standing time is required.
- Due to the special cooking method, the meat always looks pink on the inside. This does not mean, however, that the meat is raw or not well done enough.
- The meat that is cooked at a low temperature is not as hot as conventionally roasted meat. Ensure that the sauces are very hot when you serve them. Place the plate in the warming drawer in the last 20-30 minutes.
- If you want to keep meat that is cooked at a low temperature warm, select 60 °C. Small pieces of meat can be kept warm for up to 45 minutes and large pieces for up to 2 hours.
12.2 Starting the “Low-temperature cooking” function
1. Only use suitable cookware made from glass, porcelain or ceramic with a lid, e.g. a glass roasting dish.
2. If no lid is available for the cookware, use heat-resistant cling film to cover the cookware.
3. Place the cookware on the bottom of the warming drawer.
4. Press
to preheat the cookware.
5. Close the warming drawer.
The operation indicator flashes while the appliance is preheating.
The operation indicator lights up, the appliance heats up and the fan runs.
6. Rapidly heat a little fat in a pan.
7. Sear the meat.
8. Place food into the preheated cookware.
9. Put the lid on the cookware or cover it using heatresistant cling film.
10. Place the cookware containing the meat into the warming drawer.
11. Press
.
The default temperature lights up in colour.
The available temperatures light up.
12. If required, select another temperature.
13. Close the warming drawer.
The operation indicator flashes while the appliance is preheating.
The operation indicator lights up, the appliance heats up and the fan runs.
12.3 Ending the “Low-temperature cooking” function
WARNING ‒ Risk of burns!
The accessories and cookware become very hot during operation.
▶ Always use oven gloves when removing hot accessories or cookware from the appliance.
1. Open the warming drawer.
2. Switch off the appliance.
3. Remove the cookware.
12.4 Recommended settings for low-temperature cooking
The following settings have been specially tested for your appliance.
All tender joints of beef, pork, veal, lamb, pork, game and poultry are suitable for low-temperature cooking.The searing and cooking times depend on the size of the piece of meat. The searing times apply to food placed into the hot oil.
Small pieces of meat
| Food | Searing time on the hotplate | Continued cooking time in the warming drawer | Temperature in °C |
| Cubes or strips | On all sides for 1-2 minutes | 20-30 minutes | 80 |
| Small escalopes, steaks or medallions, approx. 1-2 cm thick | 1-2 minutes per side | 35-50 minutes | 80 |
Medium-sized pieces of meat
| Food | Searing time on the hotplate | Continued cooking time in the warming drawer | Temperature in °C |
| Fillet, 400-800 g | On all sides for 4-5 minutes | 75-120 minutes | 80 |
| Saddle of lamb, approx. 450 g | 2-3 minutes per side | 50-60 minutes | 80 |
| Lean joints of meat, 800-1000 g | On all sides for 6-8 minutes | 120-180 minutes | 80 |
Large pieces of meat
| Food | Searing time | Continued cooking time in the warming drawer | Temperature in °C |
| Fillet, from 800-2000 g | On all sides for 6-8 minutes | 120-210 minutes | 80 |
| Sirloin, 1-2 kg | On all sides for 8-10 minutes | 180-210 minutes | 80 |
Other food
| Food | Searing time | Continued cooking time in the warming drawer | Temperature in °C | Information |
| Ragout | On all sides for 6-8 minutes | 15 hours | 80 80 | In the roasting dish with lid |
| Confit meat | 20 hours | 80 | In the roasting dish with lid, e.g. confît de canard (speciality from South-West France) |
13 Additional applications
Your appliance offers additional useful applications.
13.1 Recommended settings for other applications
Observe the following recommended settings.
Warming
| Food | Temperature in °C | Duration in minutes | Information |
| Egg and flour-based foods, e.g. crêpes, pancakes, wraps, tacos | 80 | 10-60 | Cover the food |
| Cakes, e.g. cakes with crumble topping, muffins | 80 | 30-45 | Cover the food |
Melting
| Food | Temperature in °C | Duration in minutes | Information |
| Dissolving gelatine | 80 | 10-15 | Before melting the gelatine leaves, soak them in water and wring them out |
| Cooking chocolate, couverture chocolate | 60 | 30-45 | Break the chocolate into pieces |
| Butter | 80 | 30-45 | Cut the butter into cubes |
Drying
| Food | Temperature in °C | Duration in minutes | Information |
| Fresh herbs | 60 | 90 | |
| Meringues | 80 | 150-180 | 3-4 cm diameter |
| Apple rings | 70 | 420-480 | Cut the apples into fine slices or rings |
Flavouring oil
| Food | Temperature in °C | Duration in minutes | Information |
| Flavoured oil | 80 | 90-120 | E.g. olive oil with lemon, rosemary, chilli |
Heating cotton cloths
| Table linen | Temperature in °C | Duration in minutes | Information |
| Hot cotton cloths | 80 | 60 | Moisten and roll up the cotton cloths before heating. Add the cotton cloths to a plate or cooking container. Place the plate or the cooking container in the warming drawer. |
14 Defrosting
You can use your appliance to defrost frozen food gently and more evenly than in the microwave.
14.1 Defrosting food
WARNING ‒ Risk of harm to health!
When defrosting food from animal sources, the transmission of germs is possible.
▶ When defrosting food from animal sources, you must remove the liquid that escapes during defrosting.
▶ Ensure that the liquid that escapes during defrosting never comes into contact with other foods.
1. Remove the food from the packaging before defrosting.
2. Only defrost the amount of food that you require immediately.
3. Turn the meat or fish after half of the defrosting time has elapsed.
4. Break up frozen clumps of food comprising many pieces, e.g. berries and pieces of meat.
Notes
- The defrosting time depends on the size, weight and shape of the frozen food. To reduce the defrosting time, freeze food flat or in individual portions.
- In some cases, defrosted food may no longer be kept for as long and it may spoil more quickly than fresh food. Prepare defrosted food immediately and cook it thoroughly.
- Fish does not need to be fully defrosted. It is sufficient to defrost fish until the surface is soft enough for seasoning/spices to stick.
14.2 Recommended settings for defrosting
Take note of the following recommended settings for defrosting food.
| Food | Temperature in °C | Duration in minutes |
| Delicate frozen food, e.g. butter, cheese, berries | 40 | 45-60 |
| Bread, bread rolls, baguettes, cake | 60 | 15-30 |
| Meat, fish | 60 | 30-60 |
15 Home Connect
This appliance is network-capable. Connecting your appliance to a mobile device lets you control its functions via the Home Connect app, adjust its basic settings and monitor its operating status.
The Home Connect services are not available in every country. The availability of the Home Connect function depends on the availability of Home Connect services in your country. You can find information about this at: www.home-connect.com.
The Home Connect app guides you through the entire login process. Follow the instructions in the Home Connect app to configure the settings.
Tips
- Please consult the documents supplied by Home Connect.
- Please also follow the instructions in the Home Connect app.
Notes
- Please note the safety precautions in this instruction manual and make sure that they are also observed when operating the appliance via the Home Connect app.
→ “Safety”, - Operating the appliance on the appliance itself always takes priority. During this time it is not possible to operate the appliance using the Home Connect app.
- In networked standby mode, the appliance requires a maximum of 2 W.
15.1 Setting up Home Connect
Requirements
- The appliance is connected to the power supply and is switched on.
- You have a mobile device with a current version of the iOS or Android operating system, e.g. a smartphone.
- The mobile device and the appliance are within range of your home network’s Wi-Fi signal.
1. Download the Home Connect app.

2. Open the Home Connect app and scan the following QR code.
3. Follow the instructions in the Home Connect app.
15.2 Software update
Your appliance’s software can be updated using the software update function, e.g. for the purposes of optimisation, troubleshooting or security updates. To do this, you must be a registered Home Connect user, have installed the app on your mobile device and be connected to the Home Connect server. As soon as a software update is available, you will be informed via the Home Connect app and will be able to start the software update via the app. Once the update has been successfully downloaded, you can start installing it via the Home Connect app if you are in your home network (Wi-Fi). The Home Connect app informs you once installation is successful.
Notes
- The software update consists of two steps.
– The first step is the download.
– The second step is the installation on your appliance. - You can continue to use your appliance as normal while updates are downloading. Depending on your personal settings in the app, software updates can also be set to download automatically.
- Installation takes a few minutes. You cannot use your appliance during installation.
- We recommend that you install security updates as soon as possible.
15.3 Remote diagnostics
Customer Service can use Remote Diagnostics to access your appliance if you contact them, have your appliance connected to the Home Connect server and if Remote Diagnostics is available in the country in which you are using the appliance.
Tip: For further information and details about the availability of Remote Diagnostics in your country, please visit the service/support section of your local website: www.home-connect.com.
15.4 Data protection
Please see the information on data protection.
The first time your appliance is registered on a home network connected to the Internet, your appliance will transmit the following types of data to the Home Connect server (initial registration):
- Unique appliance identification (consisting of appliance codes as well as the MAC address of the Wi-Fi communication module installed).
- Security certificate of the Wi-Fi communication module (to ensure a secure data connection).
- The current software and hardware version of your appliance.
- Status of any previous reset to factory settings.
This initial registration prepares the Home Connect functions for use and is only required when you want to use the Home Connect functions for the first time.
Note: Please note that the Home Connect functions can only be utilised with the Home Connect app. Information on data protection can be retrieved in the Home Connect app.
16 Cleaning and servicing
To keep your appliance working efficiently for a long time, it is important to clean and maintain it carefully.
16.1 Cleaning products
You can obtain suitable cleaning products from after sales service or the online shop.
ATTENTION!
Unsuitable cleaning products may damage the surfaces of the appliance.
▶ Do not use harsh or abrasive detergents.
▶ Do not use cleaning products with a high alcohol content.
▶ Do not use hard scouring pads or cleaning sponges.
▶ Only use glass cleaners, glass scrapers or stainless steel care products if recommended in the cleaning instructions for the relevant part.
▶ Wash sponge cloths thoroughly before use.
16.2 Cleaning the appliance
WARNING ‒ Risk of electric shock!
An ingress of moisture can cause an electric shock.
▶ Do not use steam- or high-pressure cleaners to clean the appliance.
WARNING ‒ Risk of burns!
The appliance becomes hot during operation.
▶ Allow the appliance to cool down before cleaning.
Requirement: The appliance is switched off.
1. Clean the appliance with a damp cloth and a neutral cleaning agent, such as washing-up liquid and water.
2. Dry with a soft cloth.
16.3 Cleaning the stainless steel surfaces
1. Always remove limescale, grease, starch or albumin stains immediately. Corrosion may form under such stains.
2. Clean with water and some washing-up liquid.
3. Dry with a soft cloth.
16.4 Cleaning the glass plate
1. Clean the glass plate using a glass cleaning product and a soft cloth.
‒ Do not use any abrasive sponges that may scratch or any glass scrapers.
2. Dry with a soft cloth.
17 Troubleshooting
You can rectify minor faults on your appliance yourself. Read the troubleshooting information before contacting after-sales service. This will avoid unnecessary costs.
WARNING ‒ Risk of injury!
Improper repairs are dangerous.
▶ Repairs to the appliance should only be carried out by trained specialist staff.
▶ If the appliance is defective, call Customer Service.
WARNING ‒ Risk of electric shock!
Incorrect repairs are dangerous.
▶ Repairs to the appliance should only be carried out by trained specialist staff.
▶ Only use genuine spare parts when repairing the appliance.
▶ If the power cord of this appliance is damaged, it must be replaced with a special connection cable, which is available from the manufacturer or his Customer Service.
17.1 Malfunctions
| Fault | Cause and troubleshooting |
| The appliance is not working. | The circuit breaker in the fuse box has tripped. ▶ Check the circuit breaker in the fuse box. |
| There has been a power cut. ▶ Check whether the lighting in your kitchen or other appliances are working. 1. Open the appliance. Following a power cut, the touch fields light up in ascending order from left to right. The display goes out after approx. 30 seconds and the appliance is ready for operation. 2. Start the required operating mode. | |
| The appliance is switched on. The operation indicator does not light up. | The operation indicator is defective. ▶ Call the after-sales service. → “Customer Service”, |
| The operation indicator flashes. | The appliance heats up. ▶ Wait until the appliance has finished heating up. |
| The cookware or food is not heating up. | There has been a power cut. ▶ Check whether the lighting in your kitchen or other appliances are working. |
| The appliance is switched off. ▶ Switch the appliance on. | |
| The warming drawer is not completely closed. ▶ Close the warming drawer. | |
| The cookware covers the ventilation system slots and the appliance switches on the overheating protection. 1. Wait until the appliance has cooled down. 2. Ensure that the ventilation slots on the rear panel of the appliance are not covered. 3. Use the main switch to switch the appliance off and back on again. 4. Select the required operating mode and temperature. | |
| The cookware or food does not get warm enough. | There has been a power cut. ▶ Check whether the lighting in your kitchen or other appliances are working. |
| The cookware or food has not been heated for long enough. ▶ Heat the cookware or the food for a longer period of time. | |
| The warming drawer is not completely closed. ▶ Close the warming drawer. | |
| The appliance switches off. | The appliance has overheated. 1. Wait until the appliance has cooled down. 2. Ensure that the ventilation slots on the rear panel of the appliance are not covered. 3. Check whether an oven integrated above is in pyrolytic self-cleaning mode. |
| The appliance switches off. A signal tone sounds. | Electronics fault 1. Disconnect the appliance from the mains. 2. Wait approx. 30 seconds. 3. Switch the appliance back on. ▶ If the problem persists, contact customer service. → “Customer Service” |
| The appliance switches off. A signal tone sounds. | Electronics fault 1. Disconnect the appliance from the mains. 2. Wait approx. 30 seconds. 3. Switch the appliance back on. ▶ If the problem persists, contact customer service. → “Customer Service” |
| The appliance switches off. All displays are off. | The safety shut-off has switched the appliance off. ▶ Switch the appliance back on. |
| The indicators light up. The appliance is not heating up. | Demo mode is activated. ▶ Deactivate demo mode. → Page 14 |
| Home Connect display flashes in colour. | Network fault 1. Check the connection to the home network, e.g. with a mobile phone near the appliance. 2. Restart the router. ▶ If the problem persists, contact customer service. → “Customer Service”, Page 14 |
17.2 Demo mode
If demo mode is activated, the indicators light up but the appliance does not heat up.
Deactivating demo mode
1. Disconnect the appliance from the mains briefly.
‒ Unplug the appliance from the mains or switch off the household fuse or circuit breaker in the fuse box.
2. Deactivate demo mode within the next 3 minutes.
‒ Press and hold
and
at the same time until
and 30° light up in colour.
‒ Press 30° until 30° lights up white.
3. To save the settings, press and hold
until all indicators go out.
18 Customer Service
Function-relevant genuine spare parts according to the corresponding Ecodesign Order can be obtained from Customer Service for a period of at least 10 years from the date on which your appliance was placed on the market within the European Economic Area.
Note: Under the terms of the manufacturer’s warranty the use of Customer Service is free of charge.
Detailed information on the warranty period and terms of warranty in your country is available from our aftersales service, your retailer or on our website.
If you contact Customer Service, you will require the product number (E-Nr.), the production number (FD) and the consecutive numbering (Z-Nr.) of your appliance.
The contact details for Customer Service can be found in the enclosed Customer Service directory or on our website.
18.1 Product number (E-Nr.), production number (FD) and consecutive numbering (ZNr.)
You can find the product number (E-Nr.), the production number (FD) and the consecutive numbering (ZNr.) on the appliance’s rating plate.
You can see the rating plate with these numbers when you open the drawer.
Make a note of your appliance’s details and the Customer Service telephone number to find them again quickly.
19 Information regarding Free and Open Source Software
This product includes software components that are licensed by the copyright holders as free or open source software.
The applicable licence information is stored on your home appliance. You can also access the applicable licence information via your Home Connect app: “Profile -> Legal information -> Licence Information”.1 You can
download the licence information on the brand product website. (Please search on the product website for your appliance model and additional documents). Alternatively, you can request the relevant information from [email protected] or BSH Hausgeräte GmbH, Carl-Wery-Str. 34, 81739 Munich, Germany.
The source code will be made available to you on request.
Please send your request to [email protected] or BSH Hausgeräte GmbH, Carl-Wery-Str.34, 81739 Munich, Germany.
Subject: „OSSREQUEST“
The cost of performing your request will be charged to you. This offer is valid for three years from the date of purchase or at least as long as we offer support and spare parts for the relevant appliance.
20 Declaration of Conformity
BSH Hausgeräte GmbH hereby declares that the appliance with Home Connect functionality conforms to the essential requirements and other relevant provisions of Directive 2014/53/EU.
A detailed RED Declaration of Conformity can be found online at www.gaggenau.com among the additional documents on the product page for your appliance.

Hereby, BSH Hausgeräte GmbH declares that the appliance with Home Connect functionality is in compliance with relevant statutory requirements.
A detailed Declaration of Conformity can be found online at www.gaggenau.com/gb among the additional documents on the product page for your appliance.

Only applies to Great Britain
2.4 GHz band (2400–2483.5 MHz): Max. 100 mW
5 GHz band (5150–5350 MHz + 5470–5725 MHz):
Max. 100 mW
![]() | BE | BG | CZ | DK | DE | EE | IE | EL | ES |
| FR | HR | IT | CY | LI | LV | LT | LU | HU | |
| MT | NL | AT | PL | PT | RO | SI | SK | FI | |
| SE | NO | CH | TR | IS | UK (NI) | ||||
| 5 GHz WLAN (Wi-Fi): For indoor use only. | |||||||||
| AL | BA | MD | ME | MK | RS | UK | UA |
| 5 GHz WLAN (Wi-Fi): For indoor use only. | |||||||
21 Installation instructions
Observe this information when installing the appliance
1 Depending on the appliance specifications
2 Only applies to Great Britain

21.1 Included with the appliance
After unpacking all parts, check for any transport damage and for completeness of delivery.

21.2 Appliance dimensions
You will find the dimensions of the appliance here

21.3 Installation in the cabinet
You will find the dimensions of the appliance here

21.4 Instructions for the electrical connection
In order to safely connect the appliance to the electrical system, follow these instructions.
WARNING ‒ Risk of electric shock!
It must always be possible to disconnect the appliance from the electricity supply. The appliance must only be connected to a protective contact socket that has been correctly installed.
▶ The mains plug for the mains power cable must be easily accessible after the appliance is installed.
▶ If this is not possible, an all-pole isolating switch must be integrated into the permanent electrical installation according to the conditions of over voltage category III and according to the installation regulations.
▶ The permanent electrical installation must only be wired by a professional electrician. We recommend installing a residual-current circuit breaker (RCCB) in the appliance’s power supply circuit.
The appliance must only be connected using the power cable provided. Connect the power cable to the back of the appliance.
Connecting cables with various plug types are available from customer service.
Do not use multi-socket adaptors, power strips or extension leads. Overloading causes a risk of fire.
21.5 Safe installation
Follow these safety instructions when installing the appliance.
WARNING ‒ Risk of suffocation!
Children may put packaging material over their heads or wrap themselves up in it and suffocate.
▶ Keep packaging material away from children.
▶ Do not let children play with packaging material.
WARNING ‒ Risk of electric shock!
If the insulation of the power cord is damaged, this is dangerous.
▶ Never let the power cord come into contact with hot appliance parts or heat sources.
▶ Never let the power cord come into contact with sharp points or edges.
▶ Never kink, crush or modify the power cord.
WARNING ‒ Risk of injury!
The drawer may open suddenly during transport.
▶ Transport the appliance in such a way that the drawer does not accidentally open.Sharp-edged parts may be accessible during installation.
▶ Wear protective gloves.
21.6 Installation
Fitted units
This is where you can find information about safe installation.
ATTENTION!
Covering the ventilation slots and air intake openings causes the appliance to overheat.
▶ Do not cover ventilation slots and air intake openings. If the appliance is installed behind a decorative panel, this may cause it to overheat.
▶ Do not install the appliance behind a decorative panel.
The built-in unit must not have a rear panel behind the appliance.
Combining with other appliances
You can combine the warming drawer with a maximum of one more appliance from the same appliance series. No intermediate floor is required between the appliances.
When installing appliances under an oven, combisteam oven or steam oven, no tilt protection is required.
When installing under the fully automatic coffee machine, install the tilt protection for the fully automatic coffee machine.
For the following combinations, install tilt protection on the warming drawer:
- Warming drawer separately, including when installing below an intermediate floor
- Warming drawer underneath a microwave
- Warming drawer underneath a hob
- Warming drawer with warming drawer, at least on the upper appliance
- Warming drawer with accessories drawer, at least on the upper appliance
- Warming drawer with vacuuming drawer, at least on the upper appliance
Suitable tilt protection can be obtained from customer service, on our website or in the online shop.
Preparing the furniture panel
Requirements
- The thickness of the furniture panel is at least 19 mm.
- The width of the furniture panel is 590-596 mm.
- The recommended height of the furniture panel is 142–156 mm.
- The furniture panel is made of wood or wood-like material.
- The furniture panel has a handle or a recessed grip.
▶ Mark the centre of the back of the furniture panel.

Preparing the unit
WARNING ‒ Risk of injury!
Sharp-edged parts may be accessible during installation.
▶ Wear protective gloves.
1. Measure the width of the fitted unit and mark the centre of the bottom of the unit.

2. Attach the metal plates to the retaining plate on both sides.

3. Position the retaining plate on the fitted unit.
‒ Place the angled lower edge of the retaining plate on the bottom of the unit.
‒ Align the centre marking to the retaining plate at the marked centre of the bottom of the unit.

4. Mark the 6 holes on the front edge of the fitted unit.

5. Countersink the 2 middle holes.

6. Drill the 4 holes for the stop buffers.

Fitting tilt protection
1. Measure a clearance of 518 mm from the front edge of the unit and mark it on both sides in the fitted unit.

2. Screw the two brackets into the elongated hole on the mark.

3. Place the appliance on a flat surface.
4. Unscrew the two lower screws on the back of the appliance.

5. Use the two screws to tighten the two metal retainers on the back of the appliance.
‒ Ensure that the metal retainers are aligned exactly with the edge of the appliance.

6. Slide the appliance into the fitted unit and check whether the tilt protection engages.

7. Take the appliance out of the fitted unit.
8. If required, correct the position of the bracket with the elongated hole.
9. Finally, screw the brackets to the fitted unit.

10. Insert the power cable fully into the appliance.
11. Push the appliance into the fitted unit.
‒ Do not pinch the power cable.
12. Remove the adhesive strip from the appliance front.
13. Open the appliance carefully and check whether the tilt protection is working.
Installing the appliance
1. Remove the two metal plates from the retaining plate.

2. Open the appliance.
3. Hook the retaining plate onto the appliance.

4. Close the appliance.
5. Centre the appliance using the centre marking on the retaining plate and on the bottom of the unit.

6. Open the appliance fully
7. Screw the appliance into the fitted unit using the two long screws.

8. Insert the four side stop buffers.

9. Close the appliance.
10. Remove the retaining plate from the appliance.
Installing the furniture panel
Requirement: Install the handle on the furniture panel because the screws for the handle are no longer accessible following installation of the retaining plate. The screws for the handle must be countersunk.
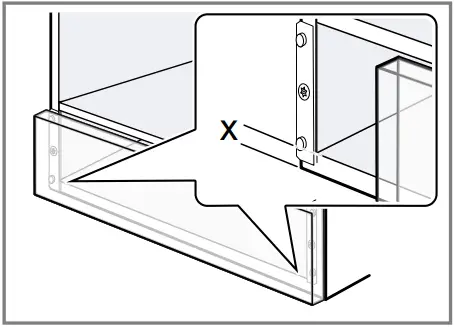
1. Hold the furniture panel against the appliance at the required position, align it and measure the lower overhang x. x is the distance between the lower edge of the furniture panel and the bottom of the fitted unit.
‒ To measure the overhang x, push the furniture front a little to the side.

2. Position the retaining plate on the rear of the furniture panel and align it.

The distance between the lower edge of the retaining plate and the lower edge of the furniture panel is x + +4 mm.
3. Use 7 screws to screw the retaining plate to the furniture panel.

4. Slide the two sheet-metal nuts onto the mounting brackets on the retaining plate. Note the correct direction.

5. Attach the furniture panel to the appliance using the retaining plate.

6. Thread the two screws into the side threads and screw the furniture panel into place on the appliance.

7. Insert the power cord into a protective contact socket.
The power cord must not touch the rear and base of the appliance after installation.
Adjusting the appliance front
Adjust the appliance front upwards or downwards if necessary.
1. Open the appliance.
2. Undo the screws on the side of the panel.

3. Align the appliance front upwards or downwards. Alignments of maximum -3 to +3 mm are possible.
4. Tighten the screws.
Combining the warming drawer with another appliance
ATTENTION!
Sharp edges on the appliance may damage the panel of the warming drawer.
▶ Do not damage the warming drawer cover when sliding the appliance in.
1. Only combine suitable appliances of the same brand and series.
2. Install the warming drawer first.
3. Slide the appliance, on the warming drawer, into the built-in cabinet.
4. Note the installation instructions for the appliance.
![]()
BSH Hausgeräte GmbH
Carl-Wery-Straße 34
81739 München, GERMANY
www.gaggenau.com
Valid within Great Britain:
Imported to Great Britain by
BSH Home Appliances Ltd.
Grand Union House
Old Wolverton Road
Wolverton, Milton Keynes
MK12 5PT
United Kingdom
![]()
![]()
9001688658 en (030112)en
1 Safety

























