AudioControl ACX-3.2 All-Weather Equalizer and Crossover With Paging Mic User Manual
Features
- 4-Band Stereo Graphic EQ
- ParaBASS® Low Frequency Contouring
- Variable 24 dB/Octave Linkwitz-Riley Crossover
- Front, Rear, and Subwoofer Outputs
- Master Volume, Fader, and Sub Level Control
- High-Gain Input Stage
- Line Driver: 9.5 Volts Peak Output
- Dash or Console-Mountable
- Included Paging Microphone
- The Silent Watchfulness of the Hoh Rainforest
Important Safety Instructions
- Read these instructions.
- Keep these instructions.
- Heed all warnings.
- Follow all instructions.
- Do not submerge this apparatus in water.
- Clean only with a dry cloth.
- Do not block any ventilation openings. Install in accordance with the manufacturer’s instructions.
- Do not install near any heat sources such as mufflers, silencers, exhaust pipes, or other apparatus (including amplifiers) that produce heat.
- WARNING: Improper installation may lead to permanent injury or death. Installation of the apparatus must be done with great care by qualified personnel, to prevent damage to fuel lines, power and other electrical wiring, hydraulic brake lines, and other systems, that might compromise vehicle safety.
- Provide +12v and ground wiring of sufficient size to ensure adequate current to the receiver. For the ACX-3.2, this means 16-22 gauge wire.
- Use rubber grommets to protect wiring whenever passing wires through metal openings or bulkheads.
- Only use attachments/accessories specified by the manufacturer.
- Refer all servicing to qualified service personnel. Servicing is required when the apparatus has been damaged in any way, such as the power
input terminals are damaged, objects have fallen into the apparatus, does not operate normally, or has been dropped - Fuses shall be replaced only with the correct type and fuse value, and only when the apparatus is powered off.
- Exposure to high sound pressure levels may lead to permanent hearing loss. Take every precaution to protect your hearing.
The lightning flash with arrowhead symbol within an equilateral triangle is intended to alert the user to the presence of uninsulated “dangerous voltage” within the product’s enclosure, that may be of sufficient magnitude to constitute a risk of electric shock to persons.
The exclamation point within an equilateral triangle is intended to alert the user of the presence of important operating and maintenance (servicing) instructions in the literature accompanying the appliance.
Caution: to reduce the risk of electric shock, do not disassemble the apparatus, other than to remove the top panel to access the controls. There are no user-serviceable parts inside. Refer servicing to qualified personnel
![]()
![]()
CAUTION
RISK OF ELECTRIC SHOCK DO NOT OPEN
WARNING: SHOCK HAZARD – DO NOT OPEN.
ATTENTION: RISQUE DE CHOC, NE PAS OUVRIR.

Recycling notice: If the time comes and this apparatus has fulfilled its destiny, do not throw it out into the trash. It has to be carefully recycled for the good of mankind, by a facility specially equipped for the safe recycling of electronic apparatii. Please contact your local or state recycling leaders for assistance in locating a suitable nearby recycling facility. Or, contact us and we might be able to repair it for you.
Quick Start
| Shipped | Option | Page | |
| Main Input | Balanced | Unbalanced | 6 |
| Microphone Routing | Rear Outputs | Front & Rear Outputs | 6 |
| Ground Isolation | Isolated | 200 Ω or Ground | 6 |
| Illumination Color | Cool Blue | Hot Red | 6 |
| Input Gain | Unity | 0 dB to +20 dB | 7 |
| Crossover State | Off | On | 7 |
| Crossover Frequency | 100 Hz | 30 Hz to 300 Hz | 7 |
A Guided Tour of th

- Volume Control – Because the ACX-3.2 is a true pre-amp, it serves as the main control unit in the audio system. It has a master volume control that controls the output to all of your amplifiers.
- Power LED – When the ACX-3.2 is powered on, this blue LED will shine bright and proud.
- Fader – When amplifier channels are connected to the front and rear outputs, the fader control will allow you to fade the signal level back and forth.
- Sub Level – Exactly what it says it is. Controls the amount of signal that goes to the subwoofer output of your ACX-3.2.
- Equalize – Push this button in to active the EQ. When the button is out, EQ is bypassed.
- ParaBASS® Controls – Two simple controls allow for killer bass tweaking. The sweep knob selects the center frequency, between 40 Hz and 80 Hz. The gain knob provides 10 dB of boost or cut, centered around the sweep frequency.
- Graphic Equalization Bands – Three stereo controls centered at 125 Hz, 1.25 kHz, and 10 kHz with 10 dB of boost or cut. These controls should be used to tweak your system, depending upon your mood or program material.
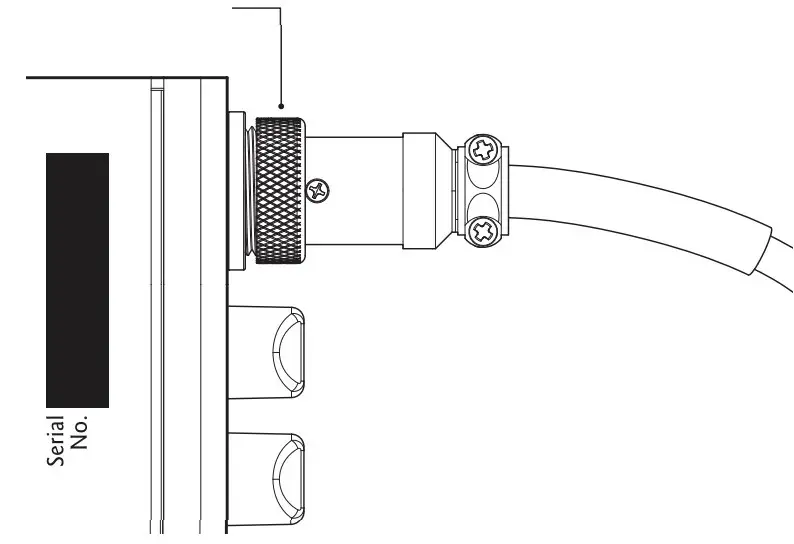
- Microphone Input Jack – Connect the included paging microphone here. The microphone cable connector should be secured to this input using its integrated locking ring.
- Microphone Input Gain – This adjustment pot can be used to achieve a nice balance between microphone level and source level.
- Input RCAs – Connect outputs of your source to these inputs.
- Output RCAs – Next to the inputs are the outputs, which should be connected to the front, rear and subwoofer amplifiers, if applicable.
- Power Connections – This nifty connector is a blessing to anyone who
has tried to wire up their gear with their head crammed under the dash. You can wire up the power, ground, remote turn-on, and illumination from the convenience of the driver’s seat and then casually plug it in the back of your ACX-3.2.
- Balanced Input – (Located under the cover). These jumpers allow you utilize or bypass the balanced input circuitry. Although it is shipped in the balanced mode, which is often best, it may be necessary to change this depending upon the confi guration of the components you use.
- Mic Signal Routing – (Located under the cover). From the factory, signal from the microphone is routed to the rear outputs. This jumper allows you to route microphone signal to both front and rear outputs if desired. Watch out for feedback!
- Ground Isolation – (Located under the cover). This feature allows you to change the power supply ground for diff erent systems. When the ACX-3.2 is shipped from the factory, the jumper is set to the fully isolated position, which is generally the best. If you have a ground loop noise (alternator whine) in your system, experiment with diff erent settings. To change the settings, turn the system off , carefully move the black jumper from the center two pins (Isolated), and move it to either the top two pins (200 Ω), or the bottom two pins (Ground).
- Illumination – (Located under the cover). These jumpers let you change the back-light illumination to Cool Blue or Hot Red. Given that we are acclimated to sun-free life in the rainforest, we have shipped the ACX-3.2 in the Cool Blue mode.

- Crossover Bypass – By default, the crossover state is set to off. When in the off state, full range signal is passed from the main input to the front and rear outputs. When in the on state, the front and rear outputs will receive a high passed signal at the set crossover frequency. The sub output will receive a low passed signal at the set crossover frequency whether the crossover is on or off.
- Crossover Frequency – The frequency setting of this pot determines the frequency that the front and rear outputs of your ACX-3.2 will play down to, as well as determining where your subwoofer will begin playing. The Crossover Bypass Switch (17) lets you defeat the crossover, so if your system does not use a separate subwoofer, all your amplifiers will get a full range signal.
- Input Level – This pot is used to increase the amount of signal voltage to your power amplifiers. With this control you can provide up to 9.5 Volts (peak) to your amplifier’s inputs. Check with your amplifier manufacturer’s specs to determine exactly how much voltage they can really handle. More info on this in the section on “Level Matching” page 12.
- Gain Maximized LED – This LED indicates when gain has been maximized for optimum performance. With your source unit turned up to 75% (or maximum output below distortion), use the Input Level controls to dial in the input gain, watching for this LED to shine, then back it off just a touch.

- Paging Microphone – The ACX-3.2 comes with a nice, hand-held paging microphone, suited for a number of applications where amplified reinforcement of your vocalizations is desired.
- Push to Talk Button – To speak into the microphone, press and hold the Push to Talk (PTT) button on the side. Release the button when you are done speaking. For the best sound quality, hold the microphone 2 inches away from your mouth and speak in a normal voice.
- Microphone Connector – Align the microphone connector with the jack on the front of the ACX-3.2. Push the connector in firmly and secure it with the locking ring


Installing the ACX-3.2
If you don’t feel comfortable with everything you have read up to this point, run, don’t walk to your nearest authorized AudioControl dealer and let them install it. Life is too short to be tearing your hair out over your audio system.
Placement and Mounting
Placement – The ACX-3.2 was designed to be installed on or near the dashboard or console in most vehicles. However, depending on the needs of the system, the ACX-3.2 is an ideal pre-amp control that can be mounted in the front and/or the rear of the vehicle
Mounting – The ACX-3.2 and microphone are designed to be physically mounted almost anywhere in a vehicle, although it is recommended to avoid hot spots like the firewall, engine compartment, or tail pipe. While the ACX-3.2 is protected from corrosion with a conformal coating on the printed circuit board, the mounting location should be safe from water seepage or areas with bad seals. We have provided brackets to assist you in mounting the ACX-3.2 chassis and microphone in a suitable location.
Dimensions – See page 18 for further detail on mounting and dimensions.
Disconnect the negative terminal of your car’s battery before working on any electrical connections. Failure to do so could lead to a dramatic spark in your life.
Remote Turn-On – Connect a 22 to 18 gauge wire from a head-unit’s remote
turn-on or from a switched 12 volt source to the “Remote” connector on
the ACX-3.2.
Positive (+12 V) Connection – Insert an 18 to 16 gauge wire into the connector labeled “Power” on the nifty connector of your ACX-3.2. Connect it to a good, constant fused source of 12 volts (we suggest the battery).
Audio Wiring
As you may already have guessed, there are numerous ways to configure the ACX-3.2 in your audio system. The following diagrams are just a few of the possibilities.

System #2: All-Weather Wake Sports Boat System with Paging

Level Matching
Many source units produce signal voltages in the area of 2 to 4 volts. However, you typically only achieve these voltage levels when the volume is turned all the way up. By following the level matching steps for the ACX-3.2 you will be able to take full advantage of the high voltage output of your source.
- Disconnect the RCA cables leading into your amplifiers, and make sure the only RCA cables between your source unit and the ACX-3.2’s main inputs are attached. Turn the volume level knob on the ACX-3.2 to maximum.
- Play a favorite audio track contains consistent, dynamic music and turn the
source unit’s volume control up to its maximum level. (NOTE: Some source units may produce distortion or “clipping” when their volume controls are turned all of the way up. If this happens, you will hear distortion even at low levels when you connect the rest of the system. If this is the case, lower the source unit’s volume level until you no longer hear distortion). The volume control on the ACX-3.2 will now be the master volume control. - Using the included AudioControl guitar pick, or a small screwdriver, adjust the Input Level control on the top of the ACX-3.2 until the yellow Maximized LED starts to flicker with the music. (NOTE: If the Maximized light does not come on because of the low output of the source unit, turn the Input Level pot to maximum).
Important Tip: If the Maximized light does not come on, because of the low output of the source unit, turn the Input Level to maximum. Please refer to the amplifier manufacturer’s specifications on input voltage to determine whether you will need to decrease the Input Level on the ACX 3.2 to avoid clipping the next component in line. If the next component in line is an AudioControl component, there is no need to re-adjust the Input Levels, because they can handle the hot signal voltage the ACX-3.2 produces.
- Turn off the entire system and attach the output RCAs from the ACX-3.2 to the next component in line.
- Turn down the gain control on your amplifiers to the least sensitive setting which is turning the gain control counter clockwise. This will allow you to drive a hotter signal in to your amplifiers.
Adjusting the Equalizer
Stereo Bands – There are no specific guidelines as to setting the main equalizer controls on the ACX-3.2. Keep in mind that music can sound different depending upon who is listening and what type of music they are listening to. For some mid-bass kick, give the 125 Hz knob a whirl. On the other hand if your front and rear speakers are having trouble keeping up with your subwoofer then crank 125 Hz down a notch. If the vocals need some boosting or even toning down, us the 1.25 kHz controls. The frosting on any recording is always the higher frequencies. The 10 kHz control lets you provide just enough frosting or you can cut back so you don’t get any cavities.
ParaBASS® Controls – The ParaBASS system control works with any system that can reproduce bass in the 40 Hz to 80 Hz range. The bass response in a system is affected by four factors: (1) the acoustics of the vehicle, (2) the location of the speakers, (3) the music source you are listening to, and (4) the speakers used. Because of the variations in the recording process, we developed The Epicenter® to help restore any low frequencies lost during the recording process. However, the acoustics of various environments are different. With this in mind our coffee-laden engineers developed the unique ParaBASS system. The Sweep control allows you to select a center frequency (the frequency most affected) between 40 Hz and 80 Hz. The Gain control then allows you to boost or cut (±10 dB) at the selected frequency.
Troubleshooting
| Problem | Suggestions |
| No Sound |
|
| Hiss |
|
| Distorted Audio |
|
| Alternator Whine |
|
The Warranty
In just the same way as being covered in honey and thrown into a dark pit full of hungry woodchucks, people are scared of warranties. Lots of fine print. Months of waiting around. Well, fear no more. This warranty is designed to make you rave about AudioControl. It’s a warranty that looks out for you and your client, plus helps you resist the temptation to have your friend Sparky, who’s “good with electronics,” try to repair your AudioControl product. So go ahead, read this warranty, then register the information at www.audiocontrol.com/product-registration and include your comments.
Our warranty has conditional conditions! “Conditional” doesn’t mean anything
ominous. The Federal Trade Commission tells all manufacturers to use the term to indicate that certain conditions have to be met before they’ll honor the warranty. If you meet all of these conditions, AudioControl will, at its discretion, repair or replace any AudioControl products that exhibit defects in materials and/or workmanship during the warranty on your product for five (5) years from the date you bought it, and we will fix or replace it, at our option, during that time.
Here are the conditional conditions:
- You must fully register your purchase within 15 days of the purchase date by going to the AudioControl product registration page at www.audiocontrol.com/product-registration. Failure to register your product will negate the warranty.
- You need to hold on to your sales receipt! All warranty service requires original sales receipt documentation. The warranty only applies to the original purchaser from an authorized AudioControl dealer. Note: Products purchased from unauthorized dealers are not covered under warranty
- If an authorized AudioControl dealer installs your AudioControl product, the warranty is five years.
- Our warranty covers AudioControl products that have been installed according to the instructions in the installation manual.
- You cannot let anybody who isn’t: (A) the AudioControl factory; or (B) somebody authorized in writing by AudioControl service your AudioControl product. If anyone other than (A), or (B) messes with your AudioControl product, the warranty is void.
- The warranty is void if the serial number is altered, defaced or removed, or if your product has been used improperly. Now that may sound like a big loophole, but here is what we mean by this: Unwarranted abuse is: (A) physical damage (don’t use your product to level your dining room table); (B) improper connections (120 volts into the RCA jacks can fry the poor thing). This is the best product we know how to build, but for example if you mount it to the front bumper of your car, drop it over the Niagara Falls or use it for Clay Pigeon shooting practice, something will go wrong
Assuming you conform to 1 through 6, and it really isn’t all that hard to do, we get the option of fixing your product or replacing it with a new one at our discretion.
In the event that your product is out of warranty or not covered under our warranty you may request to have any damage repaired at our normal “Out of Warranty” repair cost.
Legalese Section
This is the only warranty issued by AudioControl. This warranty gives you specific legal rights, and you may also have rights that vary from state to state. Promises of how well your AudioControl product will work are not implied by this warranty. Other than what we’ve said we’ll do in this warranty, we have no obligation, express or implied. We make no warranty of merchantability or fitness for any particular purpose. Also neither we nor anyone else who has been involved in the development or manufacture of the unit will have any liability of any incidental, consequential, special or punitive damages, including but not limited to any lost profits or damage to other parts of your system by hooking up to the unit (whether the claim is one for breach of warranty, negligence of other tort, or any other kind of claim). Some states do not allow limitations of consequential damages
Dimensions
The compact, half-DIN size makes the ACX-3.2 easy to install and integrate into most vehicles. We have provided brackets to assist you in mounting the ACX-3.2 chassis under a dashboard, glove box or any vehicle console. The screw holes on the ACX-3.2 chassis also allow for easy installation underneath a radio or with a dash kit. Be sure to account for additional space behind the ACX-3.2 for power and signal connections.

Specifications
All specifications are measured at 14.4 VDC (standard automotive voltage). As technology advances, AudioControl reserves the right to continuously change our specifications, like our Pacific Northwest weather, although we are working on changing that as well.
ACX-3.2 All-Weather EQ & Crossover
Maximum Input/Output Level . . . . . . . . . . . . 7 Vrms / 9.5 V peak
Frequency Response . . . . . . . . . . . .. . .20Hz-20kHz; ±0.1 dB
Total Harmonic Distortion . . . . . . . . . . . . . . . . . . . . . 0.03%
Signal to Noise Ratio (Inputs Set to Balanced) ……………. -123 dB
Input Impedance . . . . . . . . . . . . . . . . . . . . . . .. . .20 kΩ
Output Impedance. . . . . . . . . . . . . 150 Ω
Input Gain . . . . . . . . . . . . . . . . . . 0 dB to 20 dB
Equalization Boost/Cut ……………….. ±10 dB
Crossover Slope . . . . . . . . . . . . .24 dB/octave Linkwitz-Riley
Microphone Frequency Response ………………..100 Hz to 6 kHz
Microphone Maximum SPL. . . . . . . . . . . . . . . 130 dB SPL
Power Supply . . . . . . . . . . . . . High Headroom PWM Switching
Power Draw . . . . . . . . . . . . . . . . . . . . . . . 300 mA
Recommended Fuse Rating . . . . . . . . . . . . .. . . . . . . . 1 A
Illumination Color. . . . . . .. Blue or Red (LED back-lighting)
Size . . . . . . . . . . . . . . . . . . 6.75”W x 5”D x 1”H
Weight ……………….. 1.6 lbs.
For more information about this fine product, and for details of the limited
warranty and repair services, please visit www.audiocontrol.com
AudioControl, Inc.
22410 70th Avenue West
Mountlake Terrace, WA 98043 USA
Phone: 425-775-8461
email: [email protected]
©2022 AudioControl. All rights reserved.
All specifications are subject to being covered in hot sauce without notice.
The ACX-3.2 all-weather sound processor is a high-output preamp, for all systems on road, off-road or off-shore. The ACX3.2 can serve as the main control unit in your audio system allowing you to control the output to all of your amplifiers. It features a 4-band graphic equalizer that can be used to tweak your system, depending upon your mood or music selection. The built-in crossover gives you the ability to separate high and low frequencies, sending them to the appropriate amplifier and speakers, maximizing the performance of your system. Adding an ACX-3.2 to your system gives you the assurance that your system can play longer, louder, and cleaner with less distortion.
The low-profile ACX-3.2 takes your experience to another level by combining all of its audio features with a PA microphone! If you are out on your boat, ACX-3.2 allows you to play music and communicate with the person wake-boarding or tubing behind you. Own a food truck? This is great for playing music inside for the cooks, outside for the patrons and allowing you the ability to call out an order number for a waiting customer.
The ACX-3.2 is a game changer, offering a quality, realworld solution for all of those unique installation needs. This multifunctional piece is part of our all-weather lineup making it the perfect solution for any adventure
Selectable illumination color: Cool Blue or Hot Red
- 4-Band Stereo Graphic EQ
- Parabass® Low Frequency Contouring
- Variable 24 Db/Octave Linkwitz-Riley Crossover
- Front, Rear, and Subwoofer Outputs
- Master Volume, Fader, and Sub Level Control
- Parabass® Bass Control
- High-Gain Input Stage
- Line Driver: 13-Volts Peak Output
- Dash or Console-Mountable
- Included Paging Microphone
- electable Illumintation (red or blue)

FUNCTIONAL TEST
We use the latest industry-leading hardware and sof1ware for each of the multiple phases of testing your product before it leaves our factory.
RESPONSE & ACCURACY TEST
Prior to assembly, we listen to your product to ensure it sounds great and every feature performs perfectly.
FINAL ASSEMBLY
Your product is created, tested and hand-assembled at our factory here in the Pacific Northwest by a team of dedicated audio lovers.
LISTENING TEST
We personally listen to and admire your product a final time before it is lovingly packaged and shipped to your authorized AudioControl dealer.
You should be feeling pretty special right about now. The world-class product you’ve just unboxed was proudly hand-built by AudioControl employees, right here in the Pacific Northwest, just as we’ve done for nearly 40 years. Through each stage of assembly, we treat your product as if it was our own, ensuring you will always receive the absolute highest standard of reliability and performance.
Our team of engineers work tirelessly to design, engineer and build world-class audio products from the ground up. Thousands of cold cups of coffee and many sleepless nights are a small price to pay for bringing you flawless sound and delivering the incredible audio performance you want to hear, time and again, making good sound great.


























