vetus ILT120PL Inspection Lids for Rigid Water Tanks

Introduction
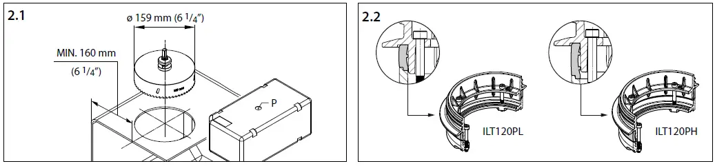
This manual is intended for the ILT120PL and ILT- 120PH inspection lids for riged (waste) water tanks. The tank may be made of plastic, polyester or metal. The ILT120PL is suitable for tanks with a wall thickness of 0.8 to 4 mm, the ILT120PH for tanks with a wall thickness of 4 to 10 mm, for example the VETUS ATANK.
Note Refer to the tank’s installation manual. Ensure proper venting so that the tank is pressure-free at all times.
Installation
Cutting the hole for the inspection lid
- Position the inspection lid on the top face of the tank. If a VETUS tank is used, then it should be fitted with plug P on the top and the inspection lid should preferably be located so that plug P is removed when the hole is cut.
- Cut the hole in the tank and remove all burrs. Preferably use a holesaw (159 mm, 6 1/4” diam.), VETUS code: VSAW159.
- Clean the inside of the tanks before fitting the inspection lid.
Checking the rubber seal
- Check that the rubber seal is correctly positioned between the two flanges. The bolts must be tightened evenly without compressing the rubber seal.
Installation of connector lid
- Place the complete flange (1) in the hole of the tank. The screw holes are numbered. For tightening, use the order (1) – (2) – (3) – (4) – (5) .
- Tighten each of the 5 screws (2) one (-1-) revolution (clockwise) and check if the flange can be rotated easily by hand. Repeat this until the flange can no longer be rotated easily.
- Now all screws must be tightened five (-5) turns. Do this by, in turn, first tightening each screw three (-3-) and then each screw two (-2-) turns.
Lid
- Screw the lid onto the flange. If necessary, use a wrench (5), VETUS code: WRILT, to tighten the lid.
Note! Check the tightness of all connections before filling the tank.



Service parts
description
- Rubber seal for ILT120PL, height 16 mm, for wall thickness 0.8 up to 4 mm
- Rubber seal for ILT120PH, height 22 mm, for wall thickness 4 up to 10 mm
- Cover incl. gasket for inspection lid
- Gasket
The blind plate (A) of the inspection cover can be replaced by one of the different connection kits. These connection kits have the necessary connections for respectively a tank for water (ILTCOND) or waste water (ILTCONW).
Fokkerstraat 571 – 3125 BD Schiedam – Holland Tel.: +31 (0)88 4884700 – [email protected] – www.vetus.com














