606-025
USER INSTRUCTIONS FOR In PET/CARGO BARRIER

![]()
OPERATING INSTRUCTIONS
Important! Read the user instructions carefully before use. Save them for future reference. (Translation of the original instructions).
Jula reserves the right to make changes.
For the latest version of operating instructions, see www.jula.com
JULA AB, BOX 363, SE- 532 24 SKARA
2022-02-03
© Jula AB
Read the User Instructions carefully before use!
Save these instructions for future reference.
ASSEMBLY
NOTE: Regularly check the locking clamps on the vertical tubes and adjust if necessary.
- Width: 90-145 cm
- Height 60-110 cm
| Part | Designation | Diagram | Quantity |
| A | Straight tube | 4 | |
| B | U-tube | ![]() | 4 |
| C | Locking clamp | ![]() | 8 |
| D | Plastic cap | ![]() | 8 |
| E | Stay | 2 | |
| F | End stop | 4 | |
| G | Screw | ![]() | 8 |
| H | Locking handle | 2 | |
| I | Headless screw | 2 |
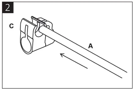
I Pull out the U-tube (B) from the straight tubes (A).

Fit two locking clamps (C) on each straight tube (A). Adjust the position of the locking clamps.

Insert the stays (E) through the locking clamps (C).

Screw the headless screws (I) in one end of the stays (E). Attach an appropriate end stop (F) on the stays (E).
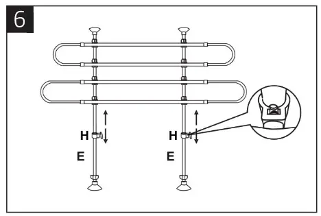
Adjust the height of the cross-sections. Secure the locking clamps (C) with screws (G).

Adjust the stays to the height of the car and tighten the locking handle (H) by hand.

Adjust the cross-sections horizontally.

Position the pet/cargo barrier in the car and tighten the wing nuts anticlockwise. The pet/cargo barrier is now ready to use.
























