
CG-100/130AR
Installation instructions for the legs
Introduction
This manual explains how to assemble the legs with the main unit. Be sure to read this manual before assembling. You can also use your smartphone to scan the QR code below and view the 3D Instruction while assembling the product.
- Be sure to assemble with two or more people.
Accessories
If there is a shortage of parts or a problem, please contact your local distributor or the MIMAKI sales office.

How to tighten the screws
- Use the hex wrench to temporarily tighten the screws (just tighten lightly).

- Push the hex wrench into the tightening pipe and retighten the screw.

Instruction
- Turn the Leg upside down to make it stand on its own by using the cushioning material (upper side) in which the main body was packed.
• Assemble the right and left legs.
- Fix the Caster holder to the Leg.
• Secure it with the 3 screws (M5x15).
• Assemble the right and left legs.
- Remove the cushioning material and turn the legs back in their original direction.
- Turn the casters inward.

- Use the cushioning materials (upper side) again to make the legs (Right and Left) stand on their own.
1. Push the cushioning material until it touches the legs.
2. Push the cushioning material until it touches the floor.
- Attach the Base plate S to the Leg.
• Fix the base plate to the leg with 2 screws (M5x15) while pushing it in the direction indicated by the arrow.
• Assemble the right and left legs.
• Pay attention to the mounting direction. - Attach the screws (M5x15) by making a gap between them.
• Assemble the right and left legs.
• Pay attention to the installation position. - Attach the Leg stay to the left and right legs.
1. Hook the leg stay onto the screws installed in step 7.
2. Tighten the screw temporarily (just tighten it lightly).
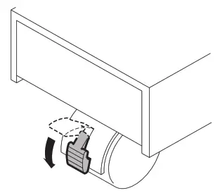
•Attach the leg stays so that the openings of the left and right legs are on the inside. - Lock the casters.

- Mount the Main unit on the legs.
1. Align the protruding part of the leg with the hole on the bottom of the main unit (the ▽ mark on the side of the main unit is a guide) and insert it.
2. Make sure that the rubber foot on the bottom of the unit is set on the leg.
3. Set the other side in the same way.
• The unit should be lifted by two or more people. - Push the main unit to the front side and fix it to the leg with 2 screws (M5x16).
• Push the main unit toward the front side until there is no gap between the protrusion on the rear side of the leg and the insertion hole on the bottom of the main unit and secure it.
• Set the other side in the same way.
- Remove cushioning materials.

- Attach the Roll stay right to the leg.
• Secure it with 2 screws (M5x25).
• For installation on the front side of the main unit: Attach the roll stay right to the left side when viewed from the front of the main unit.
• For installation on the back side of the main unit:
Attach the roll stay right to the left side when viewed from the back of the main unit.
- Attach the Roll stay left to the opposite leg. Secure it with 2 screws (M5x25).
- Attach the Roll holders on the Rollbar.
• Attach the roll holders to the roll bar from the side with no stopper to make the flange of the roll holder face each other.
- Place the roll bar on the roll stay.
• Hold the side with the stopper on the roll bar in your left hand and place it on the roll stay.

- Fully tighten the screws on the leg stay.

• Turn the roll bar manually to ensure it rotates smoothly. If it gets stuck or has trouble rotating, loosen the screws that have been tightened, adjust the left and right legs so that they are parallel, and then tighten the screws.
© 2021 MIMAKI ENGINEERING CO., LTD.
D203591-10-20122021 YM 











• The unit should be lifted by two or more people.























