
H-4588, H-4589
H-4591
1-800 -295-5510
PORTABLE SIGN BASE
uline.com

TOOLS NEEDED
PARTS

ASSEMBLY
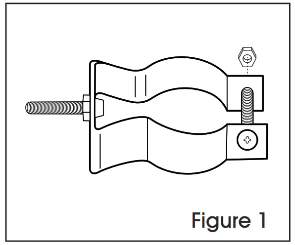
- Attach one bolt and one nut to each bracket assembly. Fully tighten. (See Figure 1)
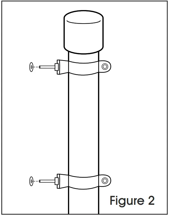
Position the two bracket assemblies onto the PVC post in the desired location to mount the sign. Fully tighten the brackets using a 7/16″ wrench and screwdriver. Slip one
washer onto each of the two protruding bolts of the bracket assembly. (See Figure 2)
- Mount the sign into place on the two protruding bolts of the bracket assemblies.
- Slip one washer onto each of the two protruding bolts over the sign.
- Using the two remaining nuts, secure the sign to each of the bracket assemblies.
- Place the rubber base onto a flat surface. Wet the bottom of the post and base hole with water to lubricate.
- Holding the post at a slight angle, press-fit the post into the base. (See Figure 3)

- Carefully pound the top of the PVC post with a hammer until the post is snug inside the base. Make sure the post is press-fit to the bottom of the base.

Position the two bracket assemblies onto the PVC post in the desired location to mount the sign. Fully tighten the brackets using a 7/16″ wrench and screwdriver. Slip one



















