Item#11006 100 443
Model# HPPA11AWB
USER GUIDE
Smart Plug

![]()
THANK YOU
We appreciate the trust and confidence you have placed in Defiant through the purchase of this Smart Plug. We strive to continually create quality products designed to enhance your home. Visit us online to see our full line of products available for your home improvement needs. Thank you for choosing Defiant!
Safety Information
WARNING:
For indoor use only. Do not use in wet locations. AThe total current limit of the device is 15Amp.To avoid damage, Do not exceed the 15 Amps limit. If a direct short is created on the output, the Smart Plug will be damaged and no longer function. Do not disassemble the product or make repairs yourself. You run the risk of electric shock and voiding the limited warranty. If you need service, please contact the after-sales services.
Make sure to use this product together with a 15A circuit breaker in the upstream.
FCC Regulation
Supplier’s Declaration of Conformity
47 CFR § 2.1077 Compliance Information
Responsible Party
Leedarson America, Inc. 300 Technology Court SE Suite 100; Smyrna, GA 30082 1-678-293-8382
Unique Identifier:
HPPA11AWB (SKU # 1006 100 443) Contains FCC ID: 2AB2Q-LA02301
This equipment complies with FCC radiation exposure limits set forth for an uncontrolled environment.
This equipment should be installed and operated with a minimum distance of 20cm between the radiator and any part of your body.
This device complies with Part 15 of the FCC Rules. Operation is subject to the following two conditions:
(1) this device may not cause harmful interference, and
(2) this device must accept any interference received, including interference that may cause undesired operation.
FCC Regulation
Caution: The user is cautioned that changes or modifications not expressly approved by the party responsible for compliance could void the user’s authority to operate the equipment.
Note: This equipment has been tested and found to comply with the limits for a Class B digital device, pursuant to part 15 of the FCC Rules. These limits are designed to provide reasonable protection against harmful interference in a residential installation.
This equipment generates uses and can radiate radio frequency energy and, if not installed and used in accordance with the instructions, may cause harmful interference to radio communications.
However, there is no guarantee that interference will not occur in a particular installation.
If this equipment does cause harmful interference to radio or television reception, which can be determined by turning the equipment off and on, the user is encouraged to try to correct the interference by one or more of the following measures:
—Reorient or relocate the receiving antenna.
—Increase the separation between the equipment and receiver.
—Connect the equipment into an outlet on a circuit different from that to which the receiver is connected.
—Consult the dealer or an experienced radio/TV technician for help.
Wireless Protocol
The Wi-Fi CERTIFIEDTM Logo is a certification mark of Wi-Fi Alliance®.
Apple and the Apple logos are trademarks of Apple, Inc., registered in the U.S., and other countries.
App Store is a service mark of Apple Inc.
Google, Google Play, and the Google Play logo are trademarks of Google LLC.
![]()
Warranty
![]()
1 YEAR LIMITED WARRANTY
This product is guaranteed to be free of defects in materials and workmanship for 1 year from the date of purchase.
The guarantee does not include normal wear and tear, bulbs, or batteries.
Package Contents

| Part | Description | Quantity |
| A | Smart Plug | 1 |
| B | User Guide | 1 |
| C | Quick Start Guide | 1 |

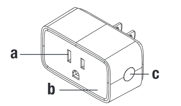
Part | Description |
| a | Power Socket |
| b | Indicator Light |
| c | Power Button |
Installation
![]() | ![]() |
Operation
- Download the HubspaceTM app from the App Store or the Google Play Store.

- Create an account to sign in or log in if you already have an account.
- Connect your plug to power and follow the instructions on the app screen.
NOTE:
•This Hub space device requires a 2.46Hz Wi-Fi channel. Hub space only shows W-Fi networks that your device can use.
•If you do not see your Wi-Fi network name when you attempt to connect your devices, please check your router settings or move your product closer to your Wi-Fi router. - Tap the ‘+’ button in the upper right corner to add your plug.

NOTE: Bluetooth access is required for device setup. - Scan the OR code on the plug or in the Quick Start Guide.

NOTE: If the OR code cannot be scanned, you can enter the code manually.
Tap Enter Code and follow the instructions. Using your Smart Plug
a) Turn your Smart Plug on or off from the Home page on the Hub space app.
b) To set a schedule or timer, tap the name of the smart plug on the Home page. You will see options for setting Schedules and Auto-Off Timers.- Set up your Voice Assistant You can connect your smart plug to Google Home and Alexa from the Hub space app. Or, you can sign in to the Alexa app or Google Home and connect to your Hub space devices from there.
Specification
LED Indicator
LED State | Plug State | Meaning | Action To Take |
| Orange Quick Blink | Off | Wi-Fi is not connected | Set up Wi-Fi for the product. If you have already set up Wi-Fi for this product, wait for it to connect. Check the Hubspace app for connectivity status. |
| Orange/Green Quick Blink | On | ||
| Off | Off | The plug is off. | No action is required. |
| Green | On | The plug is on. | |
| Red | Off | There is a WiFi error. | Go to the device settings in the app and set up WiFi again. Check that your Will Access Point is allowing the device to join the network. |
| Orange | On |
| Input | 120VAC, 60Hz, FCC, ETL |
| Output | 120VAC, 60Hz,15A Maximum load, Resistive |
| Network Wireless Type | 2.4GHz, IEEE 802.11b/g/n |
| Operating Temperature | 32°-104° F |
| Operating Humidity | 5-85% RH, Non-condensing |
| Certification | FCC, ETL |
Troubleshooting
| Problem | Solution |
| What devices can be controlled with the Smart Plug? | You can control any small appliances (less than max load 1800W) in accordance with the Smart Plug’s specifications. |
| My Hubspace device is not connecting to Wi-Fi. | Make sure your device is connected to a power source. Your Internet connection or Wi-Fi network may be down. |
| My device cannot find any Wi-Fi networks. | Make sure you have a 2.4GHz capable Wi-Fi network within range of the device you are trying to add. |
| My device is in a location that does not have Wi-Fi. Can I still use it with the Hubspace app? | Yes. Use the app on a phone with an Internet connection like LTE. The phone must be within Bluetooth range of your Hubspace device and have Bluetooth enabled. |
| I cannot find the OR code. | It is on the plug housing. A copy of the QR code is also included in your device’s documentation. |
| The OR code has become damaged. How do I add the device? | Under the OR code are numbers. You can enter those in manually instead of scanning the code. |
| A device is on another account. How do I transfer it? | Scan the QR code and it will transfer to your account. |
| My device is offline for long periods of time. | Make sure your Wi-Fi signal strength is sufficient. You may need to move your router, use mesh Wi-Fi, or Wi-Fi extenders. |
| The device is on and I scanned the OR code, but the app cannot connect to it. | Turn off Bluetooth on your phone and turn it back on. Then, scan the QR code. If the problem persists, turn your phone off and on, then try again. |
| Can I scan the same OR code to add multiple products? | No. Each product has a unique OR code. |
Questions, problems, missing parts? Before returning to the store, call Hubspace Customer Service
8 a.m. – 7 p.m., EST, Monday-Friday, 9 a.m. – 6 p.m., EST, Saturday
1-877-592-5233
HOMEDEPOT.COM/Hubspace
Retain this manual for future use.























