MERKURY MI-WW334 Smart Plug User Guide
STEP 1
- Download the Merkury Smart App from App Store or Google Play.




- Register an account on your App.
- Enter your email address.
- Enter the verification code and create a password.
- Log in to the App.
STEP 2
Plug In
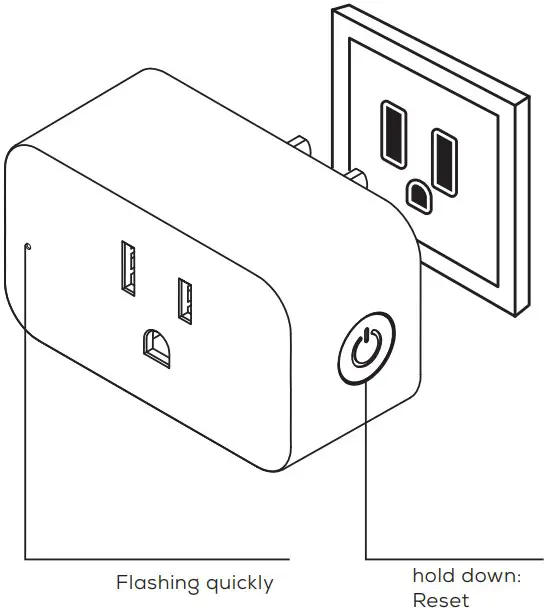
Plug the Merkury Smart device into the wall. Make sure the indicator light on the device is flashing rapidly blue, indicating the device is ready to connect. see reset instructions on p. 7
STEP 3
Set Up:
Auto Discover Device Your device is now able to be discovered magically to connect to your home Wi-Fi network. It’s quicker and easier than ever to connect.
Add device:
- While the device is flashing, tap “Auto-Discovery” on the Add Device screen of the Merkury Smart app.
- The Merkury Smart app will automatically detect your Smart Plug.
- The Merkury Smart app will automatically detect the network that your smartphone is connected to. Enter the password to your Wi-Fi network, then tap “Next Step” and the device will connect.
- The Merkury Smart app will try to connect your device.
NOTE: This device can’t connect to 5GHz networks.
*If you are unable to pair initially, reset your device and try pairing using the alternative method provided in the app - The Merkury Smart app will attempt to connect. This may take a few moments.
Frequently Asked Questions
Select the “Edit” option on the top of “Home” page. Create additional pages on your dashboard by dragging tiles to the right and organize devices to fit how you use them. Merkury Smart app can control an unlimited amount of devices in an unlimited amount of locations. Your router may have a limit of how many devices can be connected to one router. From your main device list, click on the device you want to rename, then click “Device Settings”, then click on “Device Name”. Rename your device to a more familiar name like “Bedroom” or “Living Room” and then click Save. Make sure your Wi-Fi router is online and in range. Make sure your device is plugged in and paired. You may also try restarting the device or if needed, re-pairing it. The range of your home Wi-Fi is heavily dependent on your home router and the conditions of the room. Check with your router specifications for exact range data. Merkury products need to be connected to Wi-Fi in order to control them remotely.How do I customize my dashboard?
How Many Devices Can I Control?
How do I rename my device?
The device appears offline or unreachable, what should I do?
What’s the Wireless Range?
If my Wi-Fi/Internet goes down, will Merkury Smart still work?
Troubleshooting
Cannot connect to your Wi-Fi network.
Make sure you entered the correct Wi-Fi password during the Wi-Fi setup. Check whether there are any Internet connection problems. If the Wi-Fi signal is too weak, try moving the device closer to your router or reset your Wi-Fi router and try again.
Reset the device
Reset the plug by pressing and holding the button for 5 seconds until the indicator light is flashing.
System Requirements
- Mobile device running iOS® 13 or higher or Android™ 10 or higher
- Existing Wi-Fi Network
Technical Specifications
- Input voltage: 110-130V
- Input frequency: 60Hz
- Max. load current: 15A
- Max. Power: 1800W
- Wi-Fi: IEEE 802.11n, 2.4 GHz
- (not compatible with 5GHz Wi-Fi networks)
VOICE CONTROL GUIDE
Thank you for purchasing your MERKURY smart home product. Make sure your devices are already set up using the Merkury Smart app, then follow these steps.
To control your Merkury smart bulbs, plugs or surge protectors, just say “OK Google,“ or “Hey Google,“ and ask. Make sure your devices are already set up using the Merkury Smart app.
Things you can say*:
Hey Google, turn on all the lights in my bedroom.“ “Hey Google, turn off the coffee machine.”
- Open the Google Home app and go to Home Control in the menu.
- Tap the “+“ button
- Choose “Merkury Smart“ from the list of Home Control partners.
- Authorize your account with Google Assistant using the username and password from your Merkury Smart app.
- At any time, go into the “Home Control“ section of the Google Home app to set nicknames and rooms for your devices. You can rename your devices in the Merkury Smart app, and Google Assistant will refer to them by the same name.
So if you rename a smart bulb to “Living Room“ or a nickname like “Blossom,“ then Google Assistant will use that same name later on. You can always give it a nickname using the Google Home app as well. You can also assign bulbs to a specific room, like “Bedroom“ or “Kitchen.“
Google Assistant will be able to control devices by room
Things you can say*:
Alexa, discover my devices.“
“Alexa, turn on the bedroom light.“
“Alexa, turn off the coffee machine.”
- Open the Alexa app and go to Skills in the menu.
- Search for Merkury Smart then tap Enable
- Authorize your account with Smart Home Skills using the username and password from your Merkury app.
- Choose “Discover Devices.“ After a few seconds your Merkury devices will be displayed under Smart Home in theAlexa app
- You can rename your devices in the Merkury Smart app, and Alexa will refer to them by the same name. So if you rename a smart strip to “Living Room“ or a nickname like “Blossom,“ then Alexa will use that same name later on.
Alternatively, you can create an Alexa group, like “Bedroom“ or “Downstairs,“ and add the device to the group. Alexa will recognize the group name in the Alexa app, or the device name in the Merkury Smart app.
FCC Notice:
This equipment has been tested and found to comply with the limits for a Class B digital device, pursuant to part 15 of the FCC Rules. These limits are designed to provide reasonable protection against harmful interference in a residential installation. This equipment generates, uses and can radiate radio frequency energy and, if not installed and used in accordance with the instructions, may cause harmful interference to radio communications. However, there is no guarantee that interference will not occur in a particular installation. If this equipment does cause harmful interference to radio or television reception, which can be determined by turning the equipment off and on, the user is encouraged to try to correct the interference by one or more of the following measures:
- Reorient or relocate the receiving antenna.
- Increase the separation between the equipment and receiver.
- Connect the equipment into an outlet on a circuit different from that to which the receiver is connected.
- Consult the dealer or an experienced radio/TV technician for help.
Caution: Any changes or modifications to this device not explicitly approved by manufacturer could void your authority to operate this equipment.
This device complies with part 15 of the FCC Rules. Operation is subject to the following two conditions:
- This device may not cause harmful interference, and
- this device must accept any interference received, including interference that may cause undesired operation.
The device has been evaluated to meet general RF exposure requirement. The device can be used in portable exposure condition without restriction. This equipment should be installed and operated with minimum distance 20cm between the radiator& your body.























