PetSpy M686B Dog Trainer Shock Collar
Specifications
- DIMENSIONS: 6 x 1.5 x 3 inches
- MATERIAL: Thermoplastic Polyurethane
- BRAND: PetSpy
- DOG WEIGHT RECOMMENDATION: 10+ lbs
- TRANSMITTER/RECEIVER: Rainproof/Waterproof
- COLLAR STRAP: TPU coated nylon
- REMOTE RANGE: 3300 ft / 1000 m
- STIMULATION LEVELS: 8
- TRAIN DOGS AT ONCE: 2
Introduction
PetSpy M686B collar lets you to control your canine companion from up to 1100 yards away, whether you’re trying to stop excessive barking, combative leash pulling, or you just want to increase security when walking your dog off-leash. Remember that teaching a dog to behave properly is only one aspect of dog training; teaching people to understand dogs is another. People can better train dogs once they have a greater understanding of how they think. Our free dog training e-book will demonstrate the proper techniques for you.
PetSpy Premium Dog Training Collar
Operating guide for models M686/M686B

PACKAGE
- 1x Remote Transmitter
- 1x Receiver Collar (2 in M686B ) 1x Collar Strap (2 in M686B )
- 2x Pair of Contacts (4 in M686B ) 2x Pair of Rubber Caps (4 in M686B ) 1x Dual USB Charger
- 1x Test Light
- Frequency: 900 Mhz
- Transmitter: 3.7V 500mAh LiPo Receiver: 3.7V 500mAh LiPo Contact: [email protected]

Note: PetSpy has 2 models of Premium Dog Training Collars: M686 and M686B (for 2 dogs). This manual is designed for both models. Visit www.petspystore.com to down-load this guide.
Dear Customer, thank you very much for choosing the PetSpy Brand! It’s our pleasure to serve you and your beloved dog. Our mission is to ensure your pet’s safety and hap-piness by providing you with the tools and techniques to successfully train your dog. If you have any questions, please contact PetSpy Customer Service at [email protected] – we will be happy to assist you!

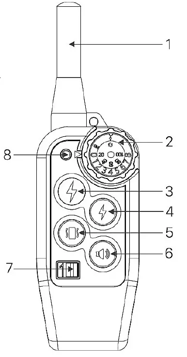
- Antenna – transmits an electromagnetic signal to receiver collar. You can screw it off when needed.
- Knob Switch – rotate the knob with your thumb to turn the remote on. It also allows you to quickly switch between different stimulation levels of Shock and Vibration.
- Outer numbers 0-8: indicate the stimulation intensity.
- Inner numbers 20-100: show the percentage from the maximum level of intensity.
- Continuous Shock Button – press the button to deliver continuous Shock to the collar. It will keep shocking your pet while you holding the button. It will stop automatically after 10 seconds to avoid injury.
- Convulsive Shock Button – press the button to deliver a short impulse of Shock to the collar. Unlike the continuous shock, the convulsive shock is limited to 1 second even if you keep holding the button.
- Vibration Button – press the button to deliver Vibration stimulation to your pet. Similar to the continuous Shock, the vibration will stop automatically after 10 seconds even if you keep holding the button.
- Tone/Beep Button – press the button to send an audible tone/beep to the receiver collar. When your dog is well trained, the tone button is all you need to effectively interact with dog.
- Channel Switch – if you have 2 collars, slide the channel switch to choose between collar 1 and collar 2. Note that one collar can only work with one channel. Please refer to Synchronizing Remote Transmitter with Receiver Collar paragraph to learn how you can reprogram the system.
- LED indicator – It flashes green every 3-4 seconds when remote is turned on. A solid green light goes on when you press and hold any stimulation button. LED also serves as a battery charge indicator: the LED is red while remote is charging; it will turn green when battery is fully charged.
FEATURES
- Training Modes: Continuous and Convulsive Shock, Vibration, and Tone.
- Rechargeable Transmitter and Receiver – recharge time is about 2-3 hours.
- Fully waterproof Receiver Collar.
- The system communication range is up to 1100 yards (in ideal conditions).
- Eight correction levels of Shock and Vibration Stimulation.
- The system can be used with 1 or 2 collars. It gives you a simultaneous control of up to 2 dogs.
- Power Saving Design with auto sleep mode and remote collar activation.
- Two pairs of metal contacts (short and long) for dogs with different hair length.
- Two pairs of conductive rubber caps for added safety. They were specifically designed to avoid skin irritation and injuries.
HOW DOES PETSPY DOG TRAINING SYSTEM WORK?
PetSpy Dog Training System can assist you with controlling and training your dog without a leash in the range up to 1100 yards. Using a Remote Transmitter you can send a signal to the collar in form of Shock, Vibration, or Tone. By using PetSpy Dog Training System consistently, you can train your dog to eliminate any undesired behavior (jumping up, digging, chasing, etc.) and teach your dog understand many obedience commands (sit, come, stay, etc).
IMPORTANT NOTES
- The Remote System range goes up to 1100 yards. Hold the Transmitter horizontally and away from your body to achieve maximum range. Weather condition, terrain, vegetation, and interference from other electronic devices can affect the maximum communication distance of the system.
- There are 8 levels of Shock and Vibration Simulation. If you use the strongest level there is a chance that it can penetrate dog’s fur up to 6mm thick. Do not shave your Dog’s neck to reduce the risk of skin irritation.
- For comfort, safety, and effectiveness of the system, pleases starts training your pet with the lowest level of Shock. It’s fine to have a Vibration level on medium or high. Please check your dog’s neck after each training session for skin irritation. If skin irritation develops, discontinue to use the collar for 48 hours. If condition persists beyond 48 hours, please consult your veterinarian.
- Do not attach a leash to the collar. Use a separate collar if there is a need for a leash.
- We suggest you to use the Vibration Stimulation first before starting to use the Shock Stimulation. Then slowly start with the lowest level of the Shock Stimulation. If you follow this training method, your dog will learn that the Shock Stimulation will come after Vibration. Hence, the Vibration alone can effectively cure unwanted behavior of your dog without a need for the Shock.
PREPARING REMOTE TRANSMITTER FOR YOUR FIRST USE:
Make sure that Remote Transmitter is charged before proceeding to the training:
- The charging port is located on the rear side of remote. Carefully open the rubber cover and connect the charger.
- Red LED light will indicate that remote is charging.
- LED indicator will turn green when remote is fully charged. It takes about 2 hours to a full charge.
- Put the rubber cover back over the charging port.
REMOTE TRANSMITTER OPERATION
- Rotate the knob clockwise with your thumb to turn it on. The knob also allows you to quickly switch between different stimulation levels of Shock and Vibration.
- If you have 2 collars, you can select which collar is being controlled (1 or 2) by sliding the Channel switch.
- Press the Vibration Button to deliver Vibration Stimulation to your dog.
- Press the Continuous/Convulsive Shock Button to deliver shock to your dog.
- Press the Tone/Beep Button to deliver beeping tone to your dog.
- The Remote Transmitter will enter a Standby Mode if not operated for 1 minute. Simply press any button to bring it back.
PREPARING RECEIVER COLLAR FOR YOUR FIRST USE:
Make sure that Receiver Collar is charged before proceeding to the training:
- Carefully open the rubber cover over the charging port and connect the charger.
- Red LED light will indicate that receiver is charging. It takes about 3 hours to fully charge it. Make sure to unplug the collar after 3 hours to avoid battery damage.
- Put the rubber cover back over the charging port to ensure collar is fully waterproof.
- Press the Power Button to turn it on. The red LED will start flashing every 4-5 sec-onds.
- When Receiver is charged and turned on, it always stands in the Sleep/Standby Mode waiting for any command (e.g. Shock, Vibration or Beep) to activate it.
SYNCHRONIZING REMOTE TRANSMITTER WITH RECEIVER COLLAR
Sometimes the collar can lose connection with remote. The fix is pretty quick and simple. Follow these steps to re-synchronize the system:
- Make sure that both the Transmitter and Receiver are fully charged and turned on.
- Press and hold the Power button on the Receiver Collar for about 5 seconds to enter the Synchronization Mode – the receiver will beep and red LED will start flashing fast.
- While red LED is flashing, send any correction command from remote. We recom-mend you to send a Vibration command by pressing and holding the Vibration button on remote until you feel that collar vibrating. If no command is sent, the flashing will stop after 10 seconds.
- The system is now resynchronized – try to send any command to test it. If you have 2 collars, repeat the above steps for both collars on channel 1 and channel 2.


TESTING PETSPY DOG TRAINING SYSTEM
Shock Test:
- Take the included Test Light and put its metal wire on the Receiver’s Contact Points.
- Press the Shock Button on the Remote Transmitter.
- The Test Light will light up indicating that shock is working.
- The higher the shock level is the brighter it should be.
Vibration Test:
- Press the Vibration Button on the Remote Transmitter.
- The Receiver Collar will vibrate indicating that vibration stimulation is working.
- Try to adjust the level of vibration and see how the intensity is changing.
- Tone/Beep Test:
- Press the Tone Button on the Remote Transmitter.
- The Receiver Collar will beep indicating that tone/beep is working.
FITTING THE COLLAR
To ensure effective training and dog’s safety, you must properly fit the collar on your dog. The collar must fit snugly to allow the “contact points” to have direct contact with the skin. Position the receiver unit high up on your dog’s neck just below ears.

You should be able to fit two fingers between the collar strap and your dog’s skin. Too tight poses the risk of skin irritation and discomfort. Too loose and the contact points will not be able to administer the stimulation reliably and can cause skin irritation due to chafing. Cover the contact points with conductive rubber caps to reduce the risk of skin irritation or injury.
CAUTION: E-collars are not designed to be worn constantly. We recommend using e-collars only under adult supervision and for no longer than 4 hours per day. NEVER attach a leash to an e-collar. Use a separate regular collar if there is a need for a leash.
FIND THE BEST STIMULATION LEVEL FOR YOUR DOG
CAUTION: Start with Vibration mode first and use Shock mode as a last resort. PetSpy e-collar can be a powerful tool for encouraging desired behavior. But first, you must identify the stimulation intensity level for your dog – it has to be high enough to be noticed, but not so high as to be disruptive. Your dog must learn to act in response to the e-collar stimulation and understand that he can control it by his actions.
This method of e-collar training is even gentler than many traditional leash-training methods. Additionally, the e-collar improves communication by providing instant feedback to your dog during training. This reduces confusion, fosters a positive training attitude, and accelerates learning, rapidly producing off-leash reliability.
Even if your dog already knows the basic obedience commands, follow the procedures given. Your dog must learn how to respond to the e-collar for each command before you can use your PetSpy collar for training at a distance.
PetSpy Premium Dog Training Collar has 8 different stimulation levels. This allows you to choose the level that is best for your pet. Once you have placed the Receiver Collar on your pet, it is time to find the Stimulation Level that is best for him. This is called the Recognition Level . A slight change in your pet’s behavior, such as looking around in curiosity, scratching at his collar, or flicking his ears, indicates the Recognition Level that is best for him.
Follow the steps below to find your pet’s Recognition Level:
- Starting at the Lowest Level of stimulation on the Remote, press the Vibration or Shock Stimulation Button continuously.
- If your pet shows no reaction, repeat the Stimulation Level several times before mov-ing up to the next level.
CAUTION: YOUR DOG SHOULD NOT BARK OR PANIC WHEN RECEIVING STIMULATION. IF THIS HAPPENS, THE STIMULATION LEVEL IS TOO HIGH AND YOU NEED TO GO BACK TO THE PREVIOUS LEVEL AND REPEAT THE PROCESS.
- Move up through the Stimulation Levels until your dog reliably responds to the stimulation.
- If your dog continues to show no response at the Highest Level, check the fit of the Receiver Collar. If your dog has long or thick fur, use the longer set of Contact Points. Then go back to step 1 and repeat the process. If this still does not yield any results, your pet’s hair will need to be trimmed around the Contact Points.
Please refer to PetSpy Dog Training E-Book for more dog training tips. You can download it at www.petspystore.com – it is free!
GENERAL TIPS
- PetSpy Dog Training Collar is not design to be worn constantly. We recommend you to limit collar usage just for active training sessions. Always take off the collar when you leave your dog unattended.
- Most dogs will feel uncomfortable wearing the collar for the first time. Don’t use any commands until your dog has gotten used to the collar which will normally take several days.
- Eliminate one unwanted action or teach one obedience command at a time. If you move to quickly with training, your dog may become confused.
- Be consistent in your training. Give your dog the same stimulation for each unwanted action. We suggest you to use Vibration Stimulation before the Shock Stimulation. If you follow this training method, your dog will learn that Shock Stimulation might come after Vibration. Hence, the Vibration Stimulation alone can effectively cure unwanted behavior of your dog.
- Do not over-correct. Use as few stimulation as possible to train your dog.
- Following a predefined scenario in all Training Sessions can dramatically improve your chances of success.
- Should your dog react to the training by hiding or reacting fearfully, redirect his atten-tion to a simple command such as “Speak” or “Sit” to calm him down. Use treats to help your dog understand which commands have been done correctly.
TROUBLESHOOTING
My e-collar does not respond to any command, what should i do?
- Make sure that both the Remote Transmitter and Receiver Collar are fully charged and turned on. The red LED on the receiver should be flashing every 4-5 seconds.
- Follow the steps from “Synchronizing Remote Transmitter with Receiver Collar” para-graph to pair remote transmitter with the collar.
- Watch our video guides for more information at www.petspystore.com/video
- Contact us at [email protected] if the above steps don’t help.
REGULAR MAINTENANCE AND STORAGE
- When not used, PetSpy Dog Training System must be kept in a dry place just like any other electronic devices.
- To prevent batteries from damage, charge both the Transmitter and Receiver regularly even when it’s not used. Make sure you do not charge it for longer than 3 hours.
- Clean the receiver and contact points weekly. Make sure that contact points are tightly attached to the collar.
- Check your dog’s neck for irritation daily.
TERMS OF USE AND LIMITATION OF LIABILITY
- Terms of Use This Product is designed to be used with dogs where training is desired. The specific temperament of your dog may not work with the product. We do not recommend you to use this product if your dog is less than 10 lbs, under 6 months old, or if your pet is aggressive. If you are unsure whether this is appropriate for your pet, please consult your veterinarian, or a certified trainer. Proper use includes reviewing the entire User Manual and Dog Training Guide provided with the product. Pay extra attention to all Caution statements.
- No Unlawful or Prohibited Use This Product is designed for use with dogs only. PetSpy dog training collar is not intended to harm, injure, or provoke. Using this product in a way that is not intended could result in violation of Federal, State or local laws.
- Limitation of Liability In no event shall we be liable for any direct, indirect, punitive, incidental, special or consequential damages and injuries, or any damages and injuries whatsoever arising out of or connected with the use or misuse of this Product. Buyer assumes all risks and liability from the use of this Product.
- Modification of Terms and Conditions We reserve the right to change the terms, conditions and notices under which this Product is offered.
WARRANTY
Please register your 1-year replacement warranty at www.petspystore.com/warranty if your purchased e-collar malfunctions or breaks within 1 year, we will send you a free replacement. No more than one replacement per purchased item. Replacement warranty does not apply to promotional orders with total discount greater than 30%. The warranty begins from the date of purchase. A purchase confirmation such as amazon order id is required for a claim. The warranty does not cover products with physical damage or lost items. PetSpy does not offer warranty for products purchased from unauthorized resellers such as online auctions. PetSpy products are exclusively sold on Amazon. com, Chewy.com and PetSpy.com. Any other sources are considered as unauthorized resellers. The refund period is strictly limited to 30 days for all products starting from the date of purchase.
Frequently Asked Questions
Yes, the Receiver Collar is fully waterproof.
No, the Remote Transmitter must be kept away from water.
You might have to reinforce training with the collar from time to time.
The max amount of time you can deliver the Vibration or Shock to you dog continuously is 10 seconds. The remote transmitter will time out and the Vibration/Shock button must be released and pressed again.
CAUTION: While it is fine to use the Vibration for up to 10 seconds, it is highly recommended to limit the continuous Shock delivery to no more than 3 seconds (the smaller the dog the shorter it should be).
Stop using the collar immediately for at least 48 hours. If the condition persists be- yond 48 hour please consult your veterinarian.
No, this can result in pulling the contact points to tightly against your dog’s neck causing an injury. Use a separate collar when needed.
E-collars are not designed to be worn constantly! We recommend to use it only during active training sessions and outdoor activities for no longer than 4 hours per day under adult supervision.
Training sessions should be kept short and positive (10-15 minutes).
It depends on the intensity of training sessions and varies from one day to one week.
The max operational range is 1100 yards in ideal conditions. The range may vary depending on the terrain, buildings, trees and electromagnetic interference.
The collar strap is adjustable to fit dogs from 10 to 140 pounds. It has a maximum length of 26 inches and minimum length of 8.
Your pup should be old enough to understand basic commands. 6 months is normally a good age.




















