SIRUI SR-P35TQSG 35mm T2.9 1.6x Carbon Fiber Full-Frame Anamorphic Lens

INSTRUCTIONS
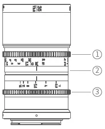
Components of the Lens

- Focus Ring
- Indicator Ring
- Aperture Ring
Lens Features
- The front barrel is constructed with carbon fiber.
- Well-designed aspherial elements are used to eliminate chromatic aberration and reduce overall lens size and weight.
- Small enough to be used on hand held stabilizers, FPV drones and vehicle rigs.
- Horizontal blue and natural flares are offered.
- Constant l.6xsqueeze ratio at all focusing points.
- Equivalent to the horizontal FOV of a 22mm FF spherical lens.
Lens Set-up Instructions
- Attach the lens
Align the red dot on the lens with the white dot on the camera and rotate the lens clockwise to mount it on the camera. (Rotate the lens counterclockwise when used on Nikon cameras) - Remove the lens
Press the lock button on the camera and rotate the lens counterclockwise to dismount it from the camera. (Rotate the lens clockwise when removed from Nikon cameras)
Product Precautions for Normal Use
- Please avoid any long-term exposure to the lens in a wet environment which may produce mold and rust on the Store the lens in an airtight cabinet with a drying agent. For other options, contact your SIRUI rep for information on a SIRUI High Performance Humidity Control Cabinet or visit www.sirui.com
- Do not touch the lens glass surface with your Gently remove dust and dirt with a cleaning cloth or lens brush. Wipe off fingerprints with lens cleaning products and a lens cloth. Do not clean the lens with general household cleaners.
- Please avoid using the lens in the rain or near water as this may damage the lens and void the warranty.
- When transporting the lens from a hot and cold environment, please place the lens into a lens case or a commercial camera bag. When removed, allow the lens some time to adapt to the new temperature as the lens interior may develop condensation if not
Data Chart for the Lens
| Model | SIRUI 35mm T2.9 1.6x Carbon-Fiber Full-Frame Anamorphic Lens | ||
| Focal Length | 35mm | ||
| Aperture Range | T2.9-Tl6 | ||
| Lens Structure | 18 Elements in 13 Groups | ||
| Aperture Blades | 10 | ||
| Frame | Full Frame | ||
| Shooting Distance | 0.9 m – oo | ||
| Focus Method | Manual Focusing | ||
| Magnification | l:22.87(V) , l:40.08(H ) | ||
| Filter Spec | M58X0.75 | ||
| the Focus Ring | of | 120° | |
| Max Diameter(mm/inch) | 60.5/2.38 (DL/E/X); 66.8/2.63 (RF); 62.7/2.47 (L) | ||
| Diameter of the Aperture Ring(mm/inch) | 60.48/2.38 | ||
| Diameter of the Focus Ring(mm/inch) | 60.48/2.38 | ||
| Length (mm/inch) | E: 102/4.02 | L: 100/3.94 | |
| (Lens Caps Not | DL: 103/4.06 | x: 103/4.06 | |
| Included) | RF: 100/3.94 | ||
| Weight(g/lb) | E: 415/0.91 | L: 422/0.93 | |
| (Lens Caps Not | DL: 390/0.86 | x: 418/0.92 | |
| Included) | RF: 425/0.94 | ||





















