Schneider Electric XB005XPDR UPS DIN Rail Mount External Battery Pack

Safety and General Instructions
SAVE THESE INSTRUCTIONS – This manual contains important instructions that should be followed during installation and maintenance of the product. Read the user documentation to become familiar with the equipment before trying to install or operate it. SAVE THESE INSTRUCTIONS – This manual contains important instructions that should be followed during installation and maintenance of the product. Read the user documentation to become familiar with the equipment before trying to install or operate it.
- While disconnecting wires, be sure to disconnect the wires at battery pack(s) first and then at the power supply unit.
- Always connect the wires to the power supply unit first and then to battery pack(s).
- Use RED color wire for +ve and BLACK color wire for –ve connections.
- Use insulated pin type lugs to be sure that the wire strands do not touch any metallic surface during connection/disconnection.
- Be sure that the wires do not touch any metallic surface during connection/disconnection.
- Allow minimum space of 50 mm above the battery pack and 180 mm below the battery pack and 10 mm lateral distance from other devices to be sure of sufficient cooling.
- CAUTION: The enclosure can reach temperatures that exceed the burn thresholds for touchable surfaces, depending on the ambient temperature and load.
- Do not introduce any objects into the device.
- The battery pack should be installed in a IP54 (minimum) rated enclosure.
Specifications
Environmental
- Humidity: 0 to 95% (Non condensing)
- Altitude: 3000 m (Max.)
- NOTE: * Charge the battery once in every 3 months during storage or when not in use.
Physical
- Dimensions without packaging (H x W x D): 129 x 192 x 119 mm (5.08 x 7.57 x 4.69 in)
- Dimensions with packaging (H x W x D): 234.7 x 190 x 188 mm (7.47 x 2.23 x 7.39 in)
- Weight without packaging: 4.5 kg (9.92 lb)
- Weight with packaging: 4.8 kg (10.58 lb)
Battery
- Model: XB005XPDR
- Type: SMF VRLA
- Nominal Voltage: 24 VDC (2 Nos. 12 V batteries connected in series)
- Capacity: 4.5 Ah
- Over current / Short circuit protection: 40 A Fuses
- Charging Voltage: 27.4 VDC
- Charging Current: 0.75 A
- Maximum number of battery packs that can be connected in parallel: 4
- Battery Runtime: 10 minutes at 10 A load, 3 minutes at 20 A load
Certification and Standards
- Safety: cTUVus UL60950-1 and UL62368-1 & CSA CB/CE/TUV
- IEC60950-1 and IEC62368-1 CCC GB4943.1
Front Panel Features
Refer to the user manual for details on the front panel features.

Installation
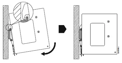
Mounting

- NOTE: Be sure that the input/output terminal blocks are at the top while mounting the power supply unit on a 35 mm DIN rail.
- Locate the top hooks of the rail mounting system (on the battery pack) with the unit slightly tilted upwards.
- Rotate the unit in clockwise direction till the latch of the rail mount system snaps on to the DIN rail and the battery pack cannot be rotated any further.
- Shake the battery pack slightly to be sure that it is securely mounted on the DIN rail.
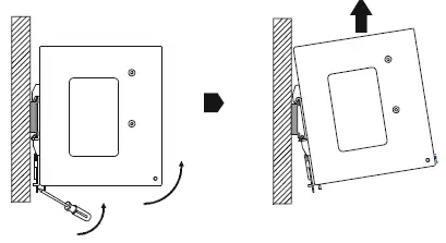
Dismounting

- Release the latch of the rail mount system (on the battery pack) by pulling it downwards using a screw driver.
- Tilt the battery pack upwards till the latch is free from the DIN rail.
- Slide the battery upwards till the top hooks gets free from the DIN rail.
Connect Battery Pack to the power supply unit
CAUTION: RISK OF EQUIPMENT DAMAGE. Strands from touching any metal object. Failure to follow these instructions can result in equipment damage and minor or moderate injury.
Recommended wire sizes and tightening torque
- Battery Wire Size: 12 AWG (3.310 mm2)
- Torque: 0.8 N m
- NOTE: Stripped (S) for approx. 6 mm, be sure that all the strands are completely enclosed in the lug.
Connect a single battery pack
Refer to the user manual for details on connecting a single battery pack.
CAUTION RISK OF EQUIPMENT DAMAGE
- Wiring should be performed by a qualified electrician.
- Wire size must comply with required current capacity as well as national and local electrical codes.
- Be sure to turn Off the input power supply before connecting or disconnecting input, output and battery wires to the terminals.
- Be sure that the wires do not touch each other or any metal object during connection/ disconnection.
- Be sure to connect the battery wires first to the power supply unit and then to the battery.
- Be sure to disconnect wires first from the battery and then from the power supply unit.
- Be sure to crimp pin type lugs to the input, output and battery wires to prevent loose strands from touching any metal object. Failure to follow these instructions can result in equipment damage and minor or moderate injury
Recommended wire sizes and tightening torque
| Wire Size | Torque | |
| Battery | 12 AWG (3.310 mm2) | 0.8 N m |
NOTE

- Be sure to use a Pin Type cable lug for connecting the Input, Output and Battery wires.
- To be sure of a secure connection, the wire insulation should be stripped (S) for approx. 6 mm, Be sure that all the strands are completely enclosed in the lug.
- Be sure to connect the wires first to the terminals on the power supply unit and then to the terminals on the battery pack(s).
- Be sure that the positive and negative polarity wires are connected to the respective output terminals on the power supply unit.
Connect multiple battery packs
Refer to the user manual for details on connecting multiple battery packs.

Connect the battery wires to the battery terminals (refer “Front Panel Features” for details).

Connect the battery wires to the battery terminals (refer “Front Panel Features” for details).
Limited Factory Warranty
Schneider Electric IT Corporation (SEIT), warrants its products to be free from defects in materials and workmanship for a period of TWO (2) years. The SEIT obligation under this warranty is limited to repairing or replacing, at its own sole option, any such defective products. Repair or replacement of a defective product or part thereof does not extend the original warranty period. Limited Factory Warranty Schneider Electric IT Corporation (SEIT), warrants its products to be free from defects in materials and workmanship for a period of TWO (2) years. The SEIT obligation under this warranty is limited to repairing or replacing, at its own sole option, any such defective products. Repair or replacement of a defective product or part thereof does not extend the original warranty period. This warranty applies only to the original purchaser who must have properly registered the product within 10 days of purchase. Products may be registered online at warranty.apc.com. SEIT shall not be liable under the warranty if its testing and examination disclose that the alleged defect in the product does not exist or was caused by end user or any third person misuse, negligence, improper installation, testing, operation or use of the product contrary to SEIT recommendations of specifications. Further, SEIT shall not be liable for defects resulting from: 1) unauthorized attempts to repair or modify the product, 2) incorrect or inadequate electrical voltage or connection, 3) inappropriate on site operation conditions, 4) Acts of God, 5) exposure to the elements, or 6) theft. In no event shall SEIT have any liability under this warranty for any product where the serial number has been altered, defaced, or removed. EXCEPT AS SET FORTH ABOVE, THERE ARE NO WARRANTIES, EXPRESS OR IMPLIED, BY OPERATION OF LAW OR OTHERWISE, APPLICABLE TO PRODUCTS SOLD, SERVICED OR FURNISHED UNDER THIS AGREEMENT OR IN CONNECTION HEREWITH. SEIT DISCLAIMS ALL IMPLIED WARRANTIES OF MERCHANTABILITY, SATISFACTION AND FITNESS FOR A PARTICULAR PURPOSE. SEIT EXPRESS WARRANTIES WILL NOT BE ENLARGED, DIMINISHED, OR AFFECTED BY AND NO OBLIGATION OR LIABILITY WILL ARISE OUT OF, SEIT RENDERING OF TECHNICAL OR OTHER ADVICE OR SERVICE IN CONNECTION WITH THE PRODUCTS. THE FOREGOING WARRANTIES AND REMEDIES ARE EXCLUSIVE AND IN LIEU OF ALL OTHER WARRANTIES AND REMEDIES. THE WARRANTIES SET FORTH ABOVE CONSTITUTE SEIT’S SOLE LIABILITY AND PURCHASER EXCLUSIVE REMEDY FOR ANY BREACH OF SUCH WARRANTIES. SEIT WARRANTIES EXTEND ONLY TO ORIGINAL PURCHASER AND ARE NOT EXTENDED TO ANY THIRD PARTIES.
IN NO EVENT SHALL SEIT, ITS OFFICERS, DIRECTORS, AFFILIATES OR EMPLOYEES BE LIABLE FOR ANY FORM OF INDIRECT, SPECIAL, CONSEQUENTIAL OR PUNITIVE DAMAGES, ARISING OUT OF THE USE, SERVICE OR INSTALLATION OF THE PRODUCTS, WHETHER SUCH DAMAGES ARISE IN CONTRACT OR TORT, IRRESPECTIVE OF FAULT, NEGLIGENCE OR STRICT LIABILITY OR WHETHER SEIT HAS BEEN ADVISED IN ADVANCE OF THE POSSIBILITY OF SUCH DAMAGES. SPECIFICALLY, SEIT IS NOT LIABLE FOR ANY COSTS, SUCH AS LOST PROFITS OR REVENUE, WHETHER DIRECT OR INDIRECT, LOSS OF EQUIPMENT, LOSS OF USE OF EQUIPMENT, LOSS OF SOFTWARE, LOSS OF DATA, COSTS OF SUBSTITUANTS, CLAIMS BY THIRD PARTIES, OR OTHERWISE. NOTHING IN THIS LIMITED WARRANTY SHALL SEEK TO EXCLUDE OR LIMIT OR DEATH OR PERSONAL INJURY RESULTING FROM ITS NEGLIGENCE OR ITS FRAUDULENT MISREPRESENTATION OF TO THE EXTENT THAT IT CANNOT BE EXCLUDED OR LIMITED BY APPLICABLE LAW. To obtain service under warranty you must obtain a Returned Material Authorization (RMA) number from customer support. Customers with warranty claims issues may access the SEIT worldwide customer support network through the APC by Schneider Electric Web site: www.apc.com. Select your country from the country selection drop down menu. Open the Support tab at the top of the web page to obtain information for customer support in your region. Products must be returned with transportation charges prepaid and must be accompanied by a brief description of the problem encountered and proof of date and place of purchase.
Schneider Electric Worldwide Customer Support
Customer support for this or any other Schneider Electric product is available at no charge in any of the following ways:
- Visit the Schneider Electric Web site to access documents in the Schneider Electric Knowledge Base and to
- submit customer support requests.
- www.schneider-electric.com (Corporate Headquarters)
Connect to localized Schneider Electric Web sites for specific countries, each of which provides customer support information. www.schneider-electric.com/support/
Global support searching Schneider Electric Knowledge Base and using e-support.
- Contact Schneider Electric IT (SEIT) Customer Support Center by telephone or e-mail.
- Local, country specific centers: go to www.schneider-electric.com/support/contact for contact information.
For information on how to obtain local customer support, contact the Schneider Electric representative or other distributor from whom you purchased your Schneider Electric product.
Customer support and warranty information is available at www.se.com. © 2021 Schneider Electric. All rights reserved. Schneider Electric, the Schneider Electric logo, are trademarks of Schneider Electric SE, its subsidiaries or affiliated companies. All other brands may be trademarks of their respective owners
References
APC, a flagship brand of Schneider Electric - APC USA
APC, a flagship brand of Schneider Electric - APC USA
Schneider Electric Global | Global Specialist in Energy Management and Automation
Frequently Asked Questions - Schneider Electric
Frequently Asked Questions - Schneider Electric
Schneider Electric Global | Global Specialist in Energy Management and Automation


















