Atlas Copco Non-Cycling Refrigerated Air Dryer

READ THIS MANUAL CAREFULLY BEFORE CARRYING OUT ANY OPERATIONS ON THE DRYER.
COPYRIGHT NOTICE
Any unauthorized use or copying of the contents or any part thereof is prohibited. This applies in particular to trademarks, model denominations, part numbers and drawings.
This instruction book is valid for CE as well as non-CE labelled machines. It meets the requirements for instructions specified by the applicable European directives as identified in the Declaration of Conformity.
ATTENTION: THERE IS A COPY OF THE WIRING DIAGRAM INSIDE THE ELECTRIC PANEL
ADDRESSES OF ASSISTANCE CENTRES
In the event of breakdown or malfunction of the dryer, switch it off and do not tamper with it. If repairs are needed, apply only to a technical assistance centre approved by the manufacturer and insist on the use of original spare parts. Failure to comply with the above may endanger the safety of the machine.
INTRODUCTION
Keep this manual with care for future consultation; the use and maintenance manual is an integral part on the dryer. Read this manual carefully before carrying out any operations on the dryer.
The installation of the dryer and all operations involving it must be performed in conformity with the regulations in force concerning electric plants and personal safety.
CHARACTERISTICS AND SAFETY PRECAUTIONS

BEFORE REMOVING THE PROTECTIVE GUARDS TO CARRY OUT ANY MAINTENANCE ON THE MACHINE, SWITCH OFF THE ELECTRIC POWER SUPPLY AND DISCHARGE THE RESIDUAL PRESSURE INSIDE THE UNIT.
ALL WORK ON THE ELECTRIC PLANT, HOWEVER SLIGHT, MUST BE CARRIED OUT BY PROFESSIONALLY SKILLED PERSONNEL.
The manufacturer does not accept responsibility for damage caused as a result of negligence of failure to abide by the instructions given above.
THIS MACHINE IS NOT SUITABLE FOR EXTERNAL INSTALLATION
THIS MACHINE CORRESPOND TO THE ESSENTIAL SAFETY REQUIREMENTS FORESEEN FROM THE EUROPEAN STANDARD 2006/42.
| THE LUBRICATING LIQUIDS AND OTHER EVENTUAL FLUIDS MUST NOT BE DISCHARGED IN THE ENVIRONMENT. THESE POLLUTING AND HAZARDOUS PRODUCTS MUST COMPULSORY BE DISPOSED BY CHARGING AUTHORISED AND SPECIALISED FIRMS ACCORDING TO THE DIFFERENT TYPOLOGY OF PRODUCT. DIFFERENTIATE THE COMPRESSOR COMPONENTS ACCORDING TO THE DIFFERENT CONSTRUCTION MATERIALS (PLASTIC, COPPER, IRON, OIL FILTER, AIR FILTER ECC…) |
GENERAL CHARACTERISTICS
The dryer is a chilling machine with direct expansion and dry evaporator. The air to be dried is sent to the heat exchanger in which the water vapor present is condensed: the condensate gathers in the separator and is discharged outside through a steam trap.
INTENDED USE
The dryer has been built to dry the compressed air for industrial use. The dryer cannot be used in premises where there is a risk of fire or explosion or where work is carried out which releases substances into the environment which are dangerous with regard to safety (for example: solvents, inflammable vapors, alcohol, etc.). In particular the appliance cannot be used to produce air to be breathed by humans or used on direct contact with foodstuffs. These uses are allowed if the compressed air produced is filtered by means of a suitable filtering system (Consult the manufacturer for these special uses.) This appliance must be used only for the purpose for which it was specifically designed. All other uses are to be considered incorrect and therefore unreasonable. The Manufacturer cannot be held responsible for any damage resulting from improper, incorrect or unreasonable use.
OPERATION
The gaseous refrigerant coming from the evaporator (4) is sucked by the refrigeration compressor (1) and it is pumped into the condenser (2). This one allows its condensation, eventually with the help of the fan (3); the condensed refrigerant passes through the dewatering filter (8) and it expands through the capillary tube (7) and goes back to the evaporator where it produces the refrigerating effect. Due to the heat exchange with the compressed air which passes through the evaporator against the stream, the refrigerant evaporates and goes back to the compressor for a new cycle.
The circuit is equipped with a bypass system for the refrigerant; this intervenes to adjust the available refrigerating capacity to the actual cooling load. This is achieved by injecting hot gas under the control of the valve (9): this valve keeps constant the pressure of the refrigerant in the evaporator and therefore also the dew point never decreases below 0 °C (32 °F) in order to prevent the condensate from freezing inside the evaporator. The dryer runs completely automatically.
DRYER FLOW DIAGRAM

- REFRIGERANT COMPRESSOR
- CONDENSER
- MOTOR FAN
- EVAPORATOR
- DEMISTER CONDENSATE SEPARATOR
- IMPURITY TRAP
- EXPANSION CAPILLARY TUBE
- REFRIGERANT FILTER
- HOT GAS BYPASS VALVE
- AIR-TO-AIR EXCANGER
- DIGITAL CONTROLLER
- CONDENSATE DRAIN
GENERAL SAFETY STANDARD
The appliance may be used only by specially trained and authorized personnel.
Any tampering with the machine or alterations not approved beforehand by the Manufacturer relieve the latter of responsibility for any damage resulting from the above actions.
The removal of or tampering with the safety devices constitutes a violation of the European Standards on safety.
ALL WORK ON THE ELECTRIC PLANT, HOWEVER SLIGHT, MUST BE CARRIED OUT BY PROFESSIONALLY SKILLED PERSONNEL.
DESCRIPTION OF DANGER SIGNALS
![]() | Dangerous electric voltage |
![]() | Air not fit for breathing |
![]() | High pressure |
![]() | Fan rotating |
![]() | Hot parts |
DANGER ZONES
Risks present on the whole machine

SAFETY DEVICES
- Cooling fan shield
- Earth

POSITION OF PLATES
POSITION OF THE DANGER PLATES
(Fig. 4)
The plates fitted on the compressor unit are part of the machine; they have been applied for safety purposes and must not be removed or spoiled for any reason.
Ref.1 – Spare plate Code 1079 9926 55

POSITION OF THE DANGER PLATES
(Fig. 4)
| Ref. 2) “IN” |
| Ref. 3) “OUT” |
| Ref. 4) Identification plate |
DRYERS ROOM
FLOOR
The floor must be even and of industrial type; the total weight of the machine is shown in Fig. 5
Remember the total weight of the machine when positioning it.
VENTILATION
The choice of an appropriate room will prolong the life of your dryer; the room must be spacious, dry, well ventilated and free from dust. The operating conditions to be complied with are the following:
| Min. room temperature: + 5 °C (+ 41 °F) (compulsory) |
| Max. room temperature: + 43 °C (+ 109 °F) (compulsory) |
| Max. temperature of incoming air: 55 °C (131 °F) |
| Min. temperature of incoming air: 10 °C ( 50 °F) |
| Max. working pressure: 16 bar (232 psi) |
- Please keep environmental conditions stable (temperature and humidity) in order to avoid refrigerant compressor/fan overload and/or reduction of dryer performance. Similar failures shall affect warranty reimbursements.
- Please ensure the appropriate composition of the air within the machine room: – clean with no damaging contaminants (e.g., dust, fibers, fine sand) – free of explosive or chemically unstable gases or vapors – free of acid/alkaline forming substances, particularly ammonia, chlorine or hydrogen sulfide. Similar failures shall affect warranty reimbursements.
- Please remember that we do not recommend the application of duct to extract air in presence of axial fans.
TRANSPORT AND HANDLING
The machine must be transported as shown in the following fig. 5.
UNPACKING

CUTTING THE METAL STRAPPING IS A DANGEROUS OPERATION, DO NOT ABANDON THE CUT PIECES IN THE ENVIRONMENT.
After removing the packing, ensure that the machine is unbroken and that there are no visibly damaged parts. If you are in doubt, do not use the machine but apply to the manufacturer technical assistance service or to your dealer. The packing material (plastic bags, polystyrene foam, nails, screws, wood, metal strapping, etc.) must not be left within the reach of children or abandoned in the environment, as they are a potential source of danger and pollution. Dispose of these materials in the approved collection centers.
INSTALLATION
POSITIONING
After unpacking the equipment and preparing the dryers room, put the machine into position, checking the following items:
- ensure that there is sufficient space around the machine to allow maintenance (see Fig. 6).
ENSURE THAT THE OPERATOR CAN SEE THE WHOLE MACHINE FROM THE CONTROL PANEL AND CHECK THE PRESENCE OF ANY UNAUTHORIZED PERSONS IN THE VICINITY OF THE MACHINE.
ELECTRICAL CONNECTION
- Check that the supply voltage is the same as the value indicated on the machine data plate.
- Check the condition of the line leads and ensure that there is an efficient earth lead.
- Ensure that there is an automatic cut-out device upstream for the machine against overcurrents, with a differential device ( Ref. 1 Fig. 6 ), wiring diagram.

ONLY PROFESSIONALLY SKILLED PERSONNEL MAY HAVE ACCESS TO THE ELECTRIC PANEL. SWITCH OFF THE POWER BEFORE OPENING THE DOOR OF THE ELECTRIC PANEL. COMPLIANCE WITH THE REGULATIONS IN FORCE CONCERNING ELECTRIC PLANTS IS FUNDAMENTAL FOR OPERATOR SAFETY AND FOR THE PROTECTION OF THE MACHINE.
CONNECTION TO THE COMPRESSED AIR NETWORK
Fit a manual interception valve between the machine and the compressed air network so that the dryer may be isolated during maintenance operations. Drainage of condensate Rif. 2 Fig. 7 (automatic) are led outside the machine with a flexible pipe that may be inspected. Drainage must comply with the local regulations in force.
- All refrigerant dryers shall be equipped with proper pre-filter at closest position to dryer air inlet (to be replaced according to service plan:
once per year or even before in case of particular high humidity ambient conditions).

ALL DAMAGE DUE TO THE FAILURE TO COMPLY WITH THESE NDICATIONS CANNOT BE ATTRIBUTED TO THE MANUFACTURER AND MAY CAUSE INVALIDITY OF THE GUARANTEE CONDITIONS.
STARTING UP
See part B of this manual, Chapter 18.0


DIMENSIONS AND TECHNICAL DATA


TYPE | in (mm) L | in (mm) W | in (mm) H |
FX 4N | 13,78 (350) | 19,41 (493) | 17,71 (450) |
| FX 6N | 13,78 (350) | 19,41 (493) | 17,71 (450) |
FX 9N | 13,78 (350) | 19,41 (493) | 17,71 (450) |
| FX 14N | 13,78 (350) | 19,41 (493) | 17,71 (450) |
| Refrigerant gas (1) | GWP 100(2) |
| R-513A | 631 |
| (1) According to ISO 817 | |
| (2) According to EN-378-1 |
TYPE | A (NPT) | B (NPT) |
FX 4N | 3/4-14 Male | 3/4-14 Male |
| FX 6N | 3/4-14 Male | 3/4-14 Male |
FX 9N | 3/4-14 Male | 3/4-14 Male |
| FX 14N | 3/4-14 Male | 3/4-14 Male |
TYPE | Weight Kg. (lb.) | Freon R-513A Kg. (lb.) | Nominal Power W (hp) | Nominal Power W (hp)![]() | Nominal Power W (hp)![]() | bar (psi) MAX.![]() | ||||
| 230/60 Hz | 115/60 Hz | 230/60 Hz | 115/60 Hz | 230/60 Hz | 115/60 Hz | 230/60 Hz | 115/60 Hz | |||
FX 4N | 19 (41,9) | 0,160 (0,35) | 163 (0,218) | 29 (0,039) | 192 (0,257) | 16 (232) | ||||
| FX 6N | 19 (41,9) | 0,180 (0,40) | 150 (0,162) | 29 (0,051) | 179 (0,213) | 16 (232) | ||||
FX 9N | 20 (44,1) | 0,290 (0,64) | 0,290 (0,64) | 193 (0,259) | 193 (0,259) | 29 (0,039) | 29 (0,039) | 222 (0,298) | 222 (0,298) | 16 (232) |
| FX 14N | 25 (55,1) | 0,350 (0,77) | 297 (0,398) | 33 (0,044) | 330 (0,442) | 16 (232) | ||||
| Reference conditions: | Limit conditions: |
| Ambient temperature 25 °C (77 °F) | Max. ambient temperature 43 ° C (109 °F) |
| Inlet air temperature 35 °C (95 °F) | Min. ambient temperature 5 °C (41 °F) |
| Working pressure 7 bar (102 psi) | Max. inlet air temperature 55 °C (131 °F) |
| Max. working pressure 16 bar (232 psi) |
MACHINE ILLUSTRATION
GENERAL LAY-OUT

1 | Refrigerant compressor |
2 | Condenser |
3 | Motor fan |
4 | Evaporator |
5 | Condensate drain |
6 | Hot gas by-pass valve |
7 | Refrigerant filter |
8 | Expansion capillary tube |
COMMAND AND CONTROL PANEL
BEFORE CARRYING OUT THE OPERATION TEST, READ CAREFULLY AND ACQUIRE A GOOD KNOWLEDGE OF THE COMMAND FUNCTIONS.

FIG. 9
Reference | Name |
1 | Alarm icon |
2 | Power ON |
3 | Fan icon |
4 | Dryer ON |
6 | PDP indicator |
7 | Button to snooze or to reset the alarm |
8 | SET button |
9 | UP button |
10 | DOWN button |
8 + 9 | Back to previous screen |
8 + 10 | Menu |
11 | Digital controller |
12 | Switch |
ICON | MODE | FUNCTIONS | |
![]() | ALARM | OFF | No active alarms |
| ON | Probe failure alarm | ||
| High/Low temperature alarm | |||
![]() | COMPRESSOR | OFF | Dryer off |
| FLASH | Maintenance warning | ||
| ON | Dryer on | ||
![]() | FAN | OFF | Fan off |
| FLASH | n/a | ||
| ON | Fan on |
REMOTE ALARM FUNCTION (Option “free contact”)
The controller allows to remotely control a number of alarms. This is managed by means of a free NC (Normally Closed) contact. The contact opens in case of an alarm or when the dryer is switched off.
Refer to the table below to identify the availability of the function and refer to the related picture Fig. 9a Ref. 1 to identify the physical location of the free contact connector.
FX4N FX9N: Is possible remote alarm for P2, L2 and H2. For the details of alarm see Cap. 17.1 Pag. 10.
FX14N : Is possible remote alarm for P1, P2, L2 and H2. For the details of alarm see Cap. 17.1 Pag. 10.
Location of the free contact connector (1)
SILENT ALARM FUNCTION
To snooze the alarm, press button Ref. 7 (See Fig. 9)
SCRAPPING THE UNIT
If the machine is to be scrapped, it must be dismantled into parts of the same material, to be disposed of according to the local regulations in force.
ALWAYS RESPECT THE REGULATIONS IN FORCE FOR DISPOSING OF OLD OIL AND OTHER POLLUTING MATERIALS SUCH AS INSULATING FOAM, ETC.
PART “B”
THIS PART “B” OF THE INSTRUCTIONS MANUAL IS RESERVED FOR PROFESSIONALLY SKILLED PERSONNEL APPROVED THE MANUFACTURER.
PARTIAL ROUTINE MAINTENANCE

BEFORE CARRYING OUT ANY MAINTENANCE JOBS IT IS OBLIGATORY TO STOP THE MACHINE AND DISCONNECT IT FROM THE POWER MAINS AND FROM THE COMPRESSED AIR DISTRIBUTION NETWORK.
MAINTENANCE SCHEDULE
These maintenance intervals are recommended for work environments that are not dusty and are will ventilated. For particularly dusty environments, double the frequency of controls.
| Every week | ■ ✓ ◼ | Brush/blow off the finned surface of the condenser |
| ■ ◼ ✓ | Clean the filter of the automatic condensate drain | |
| Every 2000 hours / 1 year | ■ ◼ ✓ | Replace the filter of automatic condensate drain (2902016102) |
| Every 4000 hours / 2 year | ■ ◼ ✓ | Replace drain kit (2200902017) |
CLEANING OF THE AUTOMATIC CONDENSWATER DISCARGER FILTER
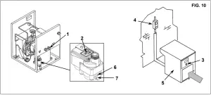
(Fig. 10)
Clean the filter of the steam trap.
Proceed as follows:
- Close the cock Ref. 1 Fig. 10
- Release the pressure in the dryer by pressing the condensate drain “TEST” pushbutton locate on the steam trap Ref. 2 Fig. 10.
- Switch off the machine by pressing the STOP button Ref. 3 Fig. 10
- Turn on the supply automatic differential switch Ref. 4 Fig. 10
HOT PARTS INSIDE
- Remove the panels Ref. 5
- Remove the stopper Ref. 6
- Remove the filter Ref. 7
- Clean the filter Ref. 5 with a jet of air, working from inside to outside
- Install the filter, fix the plug Ref. 7 – 6
- Close the panels Ref. 5

CLEANING THE CONDENSER
(Fig. 10)
The condenser must be cleaned every month.
Proceed as follows:
- Switch off the machine by pressing the STOP button Ref. 3 Fig. 10
- Turn on the supply automatic differential switch Ref. 4 Fig. 10
- Remove the panels Ref. 5 Fig. 10
- Clean the condenser fins Ref. 1 with compressed air (Fig. 10) DO NOT USE WATER OR SOLVENTS
- Close the panels Ref. 5 Fig. 10
TROUBLE-SHOOTING AND EMERGENCY REMEDIES

ALL WORK MUST BE CARRIED OUT BY PROFESSIONALLY SKILLED PERSONNEL. BEFORE CARRYING OUT ANY MAINTENANCE JOBS IT IS OBLIGATORY TO STOP THE MACHINE AND DISCONNECT IT FROM THE POWER MAINS.
N.B. OPERATIONS MARKED MUST BE CARRIED OUT BY PROFESSIONALLY SKILLED PERSONNEL APPROVED THE MANUFACTURER
| FAULT FOUND | POSSIBLE CAUSES | OBSERVATIONS |
| 1) No compressed air passes through the dryer outlet | 1A) The pipes are frozen inside | ■■ -The bypass valve of the hot gas is broken or out-of-calibration -The room temperature is too low and the evaporators piping are obstructed with ice |
| 2) Presence of condensate in the pipings. | 2A) The condensate separator does not work correctly 2B) The dryer is working outside its rating 2C) The dryer is working under bad conditions of condensation | – Clean the filter from the condensate drain ■■◼-Check the condensate drain -Check the flow rate of treated air |
| 3) The compressor head is very hot (> 55 °C) | Make reference to 2B Make reference to 2C 3A) The cooling circuit is not working with the right gas charge | ◼◼ -Check if there are leaks of refrigerating gas. ◼◼ – Charge it again. |
| 4) Motor cuts out on overload | Make reference to 2B Make reference to 2C Make reference to 3A | |
| 5) The motor hums and does not start. | The line voltage is too low. You switched the machine off and on again without leaving enough time for the pressure balancing. The starting system of the motor is defective. | -Contact the electric power company -Wait a few minutes before starting the machine again. ■■ -Check the running and starting relays and condensers (if any) |
| 6) The machine has stopped and does not restart even after a few minutes. | The overload protection with has intervened: make reference to 2B-2C-3A. The motor has burnt out. | |
| 7) The compressor is very noisy. | Troubles with the internal mechanical parts or with the valves |
DIGITAL CONTROL ALARMS
N.B. OPERATIONS MARKED ■■ MUST BE CARRIED OUT BY PROFESSIONALLY SKILLED PERSONNEL APPROVED THE MANUFACTURER

EE ALARM
EE alarm is shown when internal EPROM errors happens, if this warning will appear, the dryer will stop running. The error can be reset by pressing one of the four buttons of the controller, anyway please replace the controller itself.

NOTE: In case of EE alarm please contact your tech support.
SE ALARM
After 6000Hrs, the controller will issue a “SE” warning. This is the maintenance due warning.
How to reset the maintenance warning: follow steps 1 to 12





STARTING UP
BEFORE CARRYING OUT ANYOPERATION ON THE MACHINE, ENSURE THAT THE ELECTRIC POWER SUPPLY HAS BEEN DISCONNECTED
PRELIMINARY CONTROLS
Before starting the dryer, check:
- The correct connection to the compressed air piping: remember to remove eventual caps on the drier inlet and outlet.
- The correct connection to the condensate drainage system.
- That the power supply is right.
STARTING AND STOP
Start the system before the air compressor starts running and stop it after the air compressor has been stopped. The compressed air piping will be free of condensate only by doing so. The drier must be kept running during all the time the air compressor is running. WARNING: if the drier is switched off, before starting it again, wait at least 5 minutes in order to allow the pressure balancing.
BEFORE CARRYING OUT ANY MAINTENANCE JOBS IT IS OBLIGATORY TO STOP THE MACHINE AND DISCONNECT IT FROM THE POWER MAINS AND FROM THE COMPRESSED AIR DISTRIBUTION NETWORK.
PRESSURE DISCHARGE PROCEDURE (Fig. 10)
Proceed as follows:
- Close the taps Ref. 1 Fig. 10
- Release the pressure in the dryer by pressing the condensate drain “TEST” pushbutton locate on the steam trap Ref. 1 Fig. 10
- Switch off the machine by pressing the STOP button Ref. 3 Fig. 10
- Turn on the supply automatic differential switch Ref. 4 Fig. 10
CALIBRATIONS BYPASS VALVE FOR HOT GAS
N.B. These valves have already been calibrated and they do not require any adjustment. A dew point different from the rated one generally depends on causes which are not attributable to their operation.
Ref. 1) Closing cap
Ref. 2) Adjusting screw

SUCTION SIDE OF REFRIGERATION COMPRESSOR | ||
| Evaporat. Temperat. °C (° F) | Evaporating Pressure bar (psi) | |
| RATED VALUES Temperat. 20 °C (68°F) | 1 ÷ 2 (33,8 ÷ 35,6) | R513A |























