NUSICAN N18 Car Battery Jump Starter User Manual
Apart from jump starting a car, this product can also supply power for a mobile phone. laptop, PSP, MP3/MP4, camera and other consumer electronics, and with different lighting modes.
- Jump start a car

- Change cell phone/Tablet

- Change PSP

- Outdoor travel flashlight

- Video Charge camera/Video

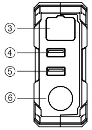
AT A GLANCE
- Power Button
- Power indicator light

- Smart Jump Clamps Port
- Output 2(5V/2.1A)
- Output 1(5V/3A, 9V/2A, 12V/1.5A)
- LED light / Torch light /SOS

- Power Input / Output (5V/3A)
- DC Output Port (12-16V)

HOWTO CHARGE CELLPHONES OR OTHER DIGITAL PRODUCTS
- Plug the USB Port of the charging cable into the product USB interface

- Inset the other side into the input port of the mobile phone

- When connected OK, press then you can use it to charge now
Power
HOW TO USE THE LED EMERGENCY LIGHT
- Power
- Hold
for 3 seconds to turn light on, - then press
0 lightly, led light will shift to flashing. - SOS then press
for 3 seconds, the led light will be off
HOW TO RECHARGE THE DEVICE
Plug the charging cable Type-C In (Out)
Inset the other side into the 2210W(110V) power. the indication light will be flicking, which shows it is under charging.
Parameter
| Model | N18 |
| Capacity | 66.6Wh |
| Size | 172.5*89*40mm |
| Input(Output) | 5V/3A |
| Output 1 | 5V/ 3A 9V/ 2A 12V/ 1.5A |
| Output 2 | 5V/ 2.1A |
| Start Current | 800A |
| Peak Current | 1500A |
| DC Output | 12-16.8V/10A |
| Circle Life | 1000 times |
| Operating Temperature | -4-140°F |
PACKAGE CONTENT
- 1 x intelligent Jumper Clamps

- 1 x Jump Starter

- 1 x User Manual

- 1x USB Type-C Cable

HOW TO JUMP START YOUR CAR
- Plug the jumper cable into the battery pack

- Connect the jumper clamps to the car battery (Red is positive and Black is negative)

- Start the car by turning on the ignition key

- After the car has been started, remove the plug from the battery pack and remove the clamps from the car battery

Note: Ensure the jump starter power level is 50% or more before jumping your car. Connect the positive(+ )(red) clamp from the jump starter to the positive terminal of the car battery, and connect the negative (-)(black) clamp to the negative terminalof the car battery.
ADVICE WARNINGS INDICATED ON THE DISPLAY
- LOW VOLTAGE
The characters ‘LV’ appear on the screen and the warning plays once per second. The screen will show a voltage lower than 14V.
- HIGH VOLTAGE
The characters 1388″ appear on the screen and the warning tone plays.
- REVERSE CHARGE
The characters RC appear on the screen. The symbol’s-2 flashes and the warning tone plays once per second. Standby mode will resume immediately once the error is corrected.
- REVERSE POLARITY OR SHORT CIRCUIT
The character ‘RESC appears on the screen. The’–= symbol flashes and the warning tone plays once per second. Standby mode will resume immediately once the error is corrected.
- HIGH TEMPERATURE
The characters ‘Fir appear on the screen. The symbol Rashes and the warning tone plays once per second. Normal operation will resume once the device temperature lowers.
- EXCESS CONNECTION TIME
When connection time is too long for the clamps. the “—’ symbol will flash on the screen, try step 2&3 of jump start again.
FCC Warning
This Device complies with Part 15 of the FCC rules.
Operation is subject to the following two conditions:
- This device may not cause harmful interference.
- this device must accept any interference received, including interference that may cause undesired operation.
Note: Dangers, Warnings and Cautions In Handing The Battery
- Please charge 3 hours or more before the first use. If the battery is stored for more than 3 months, the product needs to be charged once to ensure the normal performance of the product.
- Please make sure the battery power of the jump starter is above 50% before use.
- Do not use it continuously for more than 3 seconds. There should be at least 30 seconds between starting twice.
- Never short-circuit the jump starter by connecting Red and Black clips. (In case of revers polarity connection by mistake, the product comes with related protection measurements to avoid lif-injury & properly loss).
- After the car start, please unplug the plug from the product first, and then remove the clip on the battery.
- Do not disassemble the jump starter.
- When children use the product, please operate under the guidance of parents.
- Store in a dry place, do not expose to wet conditions or nearby corrosive materials.
- If the jump starter swells and a leak or peculiar smell is found, stop using immediately.
ACTIVATE YOUR 12-MONTH WARRANTY
& GET YOUR EXLUSIVE GIFT
Register within 7 days after receiving your new product.
PLEASE VISIT:
www.nusican.net/warranty
CUSTOMER SERVICES
[email protected]












































