MAGNETROL T6X Magnetic Float Level Switch

Read this Manual Before Installing
This manual provides information on Side Mounting Liquid Level Controls. It is important that all instructions are read carefully and followed in sequence. Detailed instructions are included in the Installation section of this manual.
Conventions Used in this Manual
Certain conventions are used in this manual to convey specific types of information. General technical material, support data, and safety information are presented in narrative form. The following styles are used for notes, cautions, and warnings.
NOTES
Notes contain information that augments or clarifies an operating step. Notes do not normally contain actions. They follow the procedural steps to which they refer.
Cautions
Cautions alert the technician to special conditions that could injure personnel, damage equipment, or reduce a component’s mechanical integrity. Cautions are also used to alert the technician to unsafe practices or the need for special protective equipment or specific materials. In this manual, a caution box indicates a potentially hazardous situation that, if not avoided, may result in minor or moderate injury.
WARNINGS
Warnings identify potentially dangerous situations or serious hazards. In this manual, a warning indicates an imminently hazardous situation that, if not avoided, could result in serious injury or death.
Safety Messages
Follow all standard industry procedures for servicing electrical equipment when working with or around high voltage. Always shut off the power supply before touching any components.
Low Voltage Directive
For use in Installation Category II, Pollution Degree 2. If equipment is used in a manner not specified by the manufacturer, protection provided by the equipment may be impaired.
Warranty
All Magnetrol mechanical level and flow controls are warranted free of defects in materials or workmanship for three full years from the date of original factory shipment. Repair parts are warranted free of defects in materials and workmanship for one year from the date of shipment. Materials, specifications, and contents are subject to change without prior written notice. If returned within the warranty period; and, upon factory inspection of the control, the cause of the claim is determined to be covered under the warranty; then, Magnetrol will repair or replace the control at no cost to the purchaser (or owner) other than transportation.
Magnetrol shall not be liable for misapplication, labor claims, direct or consequential damage or expense arising from the installation or use of equipment. There are no other warranties expressed or implied, except special written warranties covering some Magnetrol products.
Quality Assurance
The quality assurance system in place at Magnetrol guarantees the highest level of quality throughout the company. Magnetrol is committed to providing full customer satisfaction both in quality products and quality service.
Magnetrol’s quality assurance system is registered to ISO 9001 affirming its commitment to known international quality standards and providing the strongest assurance of product/service quality available. Copyright © 2021 AMETEK Magnetrol USA, LLC. All rights reserved. Performance specifications are effective with date of issue and are subject to change without notice. Magnetrol® reserves the right to make changes to the product described in this manual at any time without notice. Magnetrol makes no warranty with respect to the accuracy of the information in this manual.
Introduction
Side mounting controls mount horizontally to any tank or vessel through a threaded or flanged pipe connection. Standard models are equipped with a single switch mechanism for high or low-level alarm or control applications. Tandem models, with two switch mechanisms, are available for two level stage applications— providing the operating functions of two separate instruments, such as high and low-level alarms.
Principle of Operation
Side mounting units employ permanent magnetic force as the only link between the float and the switching element. As the pivoted float follows liquid level changes, it moves a magnetic sleeve (1) into or out of the field of a switch actuating magnet (2) causing switch operation. A non-magnetic barrier tube (3) effectively isolates the switch mechanism from the controlled liquid.
Operating Cycle
As the liquid level falls in the vessel, refer to Figure 1, the float moves the magnetic attraction sleeve up within the enclosing tube and into the field of the switch mechanism magnet. As a result, the magnet is drawn in tightly to the enclosing tube causing the switch to trip, making or breaking an electrical circuit. As the liquid level rises, the float moves the attraction sleeve out of the magnetic field, releasing the switch at a predetermined level. Refer to Figure 2. The tension spring ensures the return of the switch in a snap action.

Installation
Caution:
If equipment is used in a manner not specified by the manufacturer, protection provided by the equipment may be impaired.
Unpacking
Unpack the instrument carefully, making sure all components have been removed from the packing material. Inspect all components for damage, and report any concealed damage to the carrier within 24 hours. Check the contents of the carton, making sure it agrees with the packing slip and the purchase order. Verify that the model number imprinted on the nameplate matches the number on the packing slip and the purchase order. Report any discrepancies to the factory. Check and record the serial number for future reference when ordering parts.
Mounting
Caution: This instrument is intended for use in Installation Category II, Pollution Degree 2.
Before assembling control to tank or vessel, check the threaded or flanged mounting nozzle for the following:
- Nozzle length and inside diameter must be sized correctly to allow for switch actuation at design levels within the maximum differential available. Refer to the chart on page 10.
- Nozzle should be checked for horizontal alignment. Finished mounting must allow control switch housing to be within 3° of vertical for proper operation. A three-degree slant is noticeable by eye, but installation should be checked with a spirit level on top and/or sides of the float body.
Caution:
Operation of all buoyancy type level devices should be done in such a way as to minimize the action of dynamic forces on the float or displacer sensing element. Good practice for reducing the likelihood of damage to the control is to equalize pressure across the device very slowly.
Before installation, assemble float and stem to sensing unit. See Figure 3.
- Remove the screw from the end of the fulcrum bar and replace it with a floating stem.
- Make sure the end of the float stem sets completely in the groove of the fulcrum pin as shown in Figure 3.
- Tighten the lock nut with a wrench. If the float stem is properly located, the fulcrum pin can not be pushed out.
Wiring
Caution:
Level controls are shipped from the factory with the enclosing tube tightened and the middle set screw, on the housing base, locked to the enclosing tube. Failure to loosen the set screw prior to repositioning the conduit connection may cause the enclosing tube to loosen, resulting in the possible leakage of the process liquid or vapor.
Side mounting controls are shipped with the conduit entry of the switch housing placed 180° opposite to the tank connections to simplify installation in most cases. If this configuration is appropriate to the installation, proceed to Step 4 to begin wiring the unit. If another configuration is desired, the switch housing can be easily rotated by first following Steps 1, 2, and 3.
NOTE: A switch or circuit breaker shall be installed in close proximity to equipment and within easy reach of the operator. It shall be marked as the disconnecting device for the equipment.
- Loosen set screw(s) at the base of the switch housing. Refer to Figure 4.
- Switch housing may be rotated 360° to allow correct positioning of conduit outlet.
- Tighten set screw(s) at the base of the switch housing.
- Unscrew and remove the switch housing cover. The threads have been lubricated to facilitate removal.
- The switch terminals are located next to the conduit outlet to facilitate wiring. Bring supply wires through conduit outlet. Route extra wire around the enclosing tube under the baffle plate, and connect them to the proper terminals. Refer to the wiring diagram in your switch bulletin for this information. Switch instruction manual numbers are as indicated in the chart.

Letter No. B, C, D Dry Contact Switch 42-683 G, H, I Vibration Resistant Dry Contact 42-684 Switch, Dual Magnets HS Hermetically Sealed Snap Switch 42-694 J Bleed Type Pneumatic Switch 42-685 K Non-Bleed Type Pneumatic Switch 42-686 F, R, 8, 9 High-Temperature Dry Contact Switch 42-799 NOTE: For supply connections, use wire with a minimum rating of +167 °F (+75 °C) as required by the process conditions. Use a minimum of 14 AWG wire for power and ground field wires.
NOTE: Housing must be grounded via a protective ground screw in the base of the housing. - Dress wiring to ensure no interference or contact with the switch, or replacement of switch housing cover.
OBSERVE ALL APPLICABLE ELECTRICAL CODES AND PROPER WIRING PROCEDURES.
Prevent moisture seepage into the enclosure by installing approved seal-drain fittings in the conduit run leading into the unit.
Caution: In hazardous areas, do not power the unit until the conduit is sealed and the enclosure is screwed down securely. - Replace the housing cover.
- If the control has been furnished with an explosion-proof or moisture-proof (gasketed) switch housing, it must be sealed at the conduit outlet with a suitable compound or non-hardening sealant to prevent the entrance of air.
- Test switch action by varying liquid level in the float chamber.
NOTE: If the switch mechanism fails to function properly, check the vertical alignment of the control housing and consult the installation bulletin on the switch mechanism furnished. - Check the cover to base fit to be certain gasketed joint is tight. A positive seal is necessary to prevent infiltration of moisture-laden air or corrosive gasses into switch housings.

Differential Adjustment
The level differential of single switch models may be adjusted by repositioning the jam nuts on the magnetic sleeve stem as shown in Figure 6. Refer to the chart below for the minimum and maximum levels obtainable.
| Differentials Obtainable ➁➃ | Approx. Jam Nut Setting ➂ | ||||||
| Model ➀ | Float Stem Length | ||||||
| 8.00 (230) | 12.00 (305) | 18.00 (457) | 26.00 (660) | A | B | ||
| T52 | Min. | 1.25 (32) | 1.75 (44) | 2.50 (64) | 3.50 (89) | 0.81 (21) | 0.03 (0.8) |
| Max. | 4.75 (121) | 7.00 (178) | 10.25 (260) | 14.50 (368) | 1.31 (33) | 1.06 (27) | |
| T63 | Min. | 1.00 (25) | 1.75 (44) | 2.50 (64) | 3.50 (89) | 0.81 (21) | 0.03 (0.8) |
| Max. | 2.62 (67) | 5.00 (127) | 7.38 (187) | 10.50 (267) | 1.31 (33) | 1.06 (27) | |
| T62 (Threaded) | Min. | 1.25 (32) | 2.00 (51) | 2.88 (73) | 4.00 (102) | 0.81 (21) | 0.03 (0.8) |
| Max. | 5.81 (148) | 8.12 (206) | 11.56 (294) | 16.12 (409) | 1.31 (33) | 1.06 (27) | |
| T62 (Flanged) | Min. | 1.25 (32) | 1.62 (41) | 2.62 (67) | 3.75 (95) | 0.62 (16) | 0.03 (0.8) |
| Max. | 3.50 (89) | 5.12 (130) | 7.50 (191) | 10.75 (273) | 1.12 (28) | 0.69 (18) | |
NOTES:
- All models are factory set at minimum differential unless otherwise specified.
- To maintain maximum differential, nozzle length “L” (Fig. 3) must not exceed: 2.38″ (60 mm) model T52; 1.19″ (30 mm) model T63; 2.50″ (64 mm) model T62 threaded; or 3.50″ (89 mm) model T62 flanged.
- The dimensions given are approximate and will vary slightly with each unit.
- Consult the factory for differentials of models not shown.
Caution: Before attempting any work on the control, be certain to pull the disconnect switch or otherwise assure that the electrical circuit(s) through control is deactivated. Close operating medium supply valve on controls equipped with pneumatic switch mechanisms.
- Disconnect the wiring from the supply side of the switch mechanism and electrical conduit or operating medium line connections to switch housing.
- Perform system shutdown as required to relieve pressure from tank or vessel and drain off liquid head above control mounting position. Allow the unit to cool.
- Remove the switch housing assembly by loosening the hex nut located immediately below the housing base. With switch housing removed, jam nuts and magnetic sleeves are now accessible. Refer to Figure 6. Raising the lower jam nuts will reduce the differential. Jam nut adjustments in opposite directions will increase the differential. As the first step in any adjustment procedure, the position of the lower jam nuts (Dimension A) should
be established. - Loosen and remove upper jam nuts, guide washer and magnetic sleeve. Dimension A, as measured from the top of the stem to the top of the lower jam nuts, may now be increased or decreased as required. Tandem model controls should not be adjusted in the field. If differential adjustment is required, consult the factory.
NOTE: Be certain to tighten jam nuts securely after adjustment. - Replace magnetic sleeve on the stem and position upper jam nuts to desired B dimension by measuring from the top of the sleeve to the bottom of the upper jam nuts to guide the washer.
- Reassemble control.
- Test switch actuation by varying liquid levels in tank or vessel.
Caution:
After increasing differential adjustment, be certain to check carefully for proper operation of the switch mechanism. The magnet must “snap” cleanly, with additional float movement available after the magnet snaps.
Level Differential vs. Mounting Nozzle Length
The table below may be used to determine the maximum level travel (differential) available between “Switch on” and “Switch off” actuations with mounting nozzles of different lengths. The differentials given occur with the minimum tank opening diameter listed for each model and are applicable to standard controls.
Inches (millimeters)
| Maximum Level Differential Available with Several Nozzle Lengths ➄ | ||||||||||||||||
| Model T52 with | Model T63 with | Model T62 Threaded | Model T62 Flanged | |||||||||||||
| Nozzle Length ➀ In. (mm) | 3.12″ (79 mm) Diameter Minimum Tank Nozzle Opening ➁ | 2.31″ (59 mm) Diameter Minimum Tank Nozzle Opening ➁ | with 3.06″ (78 mm) Diameter Minimum Tank Nozzle Opening ➂ | with 2.88″ (73 mm) Diameter Minimum Tank Nozzle Opening ➃ | ||||||||||||
| Float Stem Length | Float Stem Length | Float Stem Length | Float Stem Length | |||||||||||||
| 8.00 | 12.00 | 18.00 | 26.00 | 8.00 | 12.00 | 18.00 | 26.00 | 8.00 | 12.00 | 18.00 | 26.00 | 8.00 | 12.00 | 18.00 | 26.00 | |
| (203) | (305) | (457) | (660) | (203) | (305) | (457) | (660) | (203) | (305) | (457) | (660) | (203) | (305) | (457) | (660) | |
| 2.00 | 4.75 | 7.00 | 10.25 | 14.50 | 2.62 | 5.00 | 7.38 | 10.50 | 5.81 | 8.12 | 11.56 | 16.12 | 3.50 | 5.12 | 7.50 | 10.75 |
| (51) | (121) | (178) | (260) | (368) | (67) | (127) | (187) | (267) | (148) | (206) | (294) | (409) | (89) | (130) | (191) | (273) |
| 4.00 | 4.00 | 5.62 | 8.12 | 11.62 | 1.88 | 3.50 | 5.25 | 7.50 | 4.38 | 6.12 | 8.69 | 12.19 | 3.25 | 4.75 | 7.00 | 10.00 |
| (102) | (102) | (143) | (206) | (295) | (48) | (89) | (133) | (191) | (111) | (155) | (221) | (310) | (83) | (121) | (178) | (254) |
| 6.00 | — | 4.25 | 6.25 | 8.88 | — | 2.75 | 4.12 | 5.88 | 1.50 | 4.69 | 6.69 | 9.31 | — | 3.75 | 5.38 | 7.75 |
| (152) | (108) | (159) | (226) | (70) | (105) | (149) | (38) | (119) | (170) | (236) | (95) | (137) | (197) | |||
| 8.00 | — | 3.50 | 5.12 | 7.25 | — | 2.38 | 3.38 | 4.88 | — | 3.81 | 5.44 | 7.56 | — | 3.00 | 4.50 | 6.25 |
| (203) | (89) | (130) | (184) | (60) | (86) | (124) | (97) | (138) | (192) | (76) | (114) | (159) | ||||
| 10.00 | — | 2.88 | 4.25 | 6.00 | — | 2.00 | 2.88 | 4.12 | — | 3.19 | 4.56 | 6.38 | — | 2.50 | 3.75 | 5.38 |
| (254) | (73) | (108) | (152) | (51) | (73) | (105) | (81) | (116) | (162) | (64) | (95) | (137) | ||||
| 12.00 | — | — | 3.62 | 5.12 | — | — | 2.50 | 3.50 | — | — | 3.94 | 5.44 | — | — | 3.25 | 4.62 |
| (305) | (92) | (130) | (64) | (89) | (100) | (138) | (83) | (117) | ||||||||
NOTES:
- The nozzle length is dimension L from the end of the standard control body to the opening in a tank having a minimum diameter listed for each model.
- The minimum diameter given is I.D. of the float switch body.
- The minimum diameter given is I.D. of 3″ schedule 40 pipes.
- The minimum diameter given is I.D. of 3″ schedule 80 pipes.
- Consult the factory for the maximum differential available for models T64 and T67.
Reference Information
Preventive Maintenance
Periodic inspections are a necessary means to keep your level of control in good working order. This control is a safety device to protect the valuable equipment it serves. A systematic program of preventive maintenance must be implemented when the control is placed into service. If the following is observed, your control will provide reliable protection of your capital equipment for many years.
Recommended Practice
- Keep control clean.
Be sure the switch housing cover is always in place on the control. This cover is designed to keep dust and dirt from interfering with the switch mechanism’s operation. In addition, it protects against damaging moisture and acts as a safety feature by keeping bare wires and terminals from being exposed. Should the housing cover or any seals become damaged or misplaced, obtain a replacement immediately. - Inspect switch mechanisms, terminals, and connections.
- Dry contact switches should be inspected for excessive wear on actuating lever or misalignment of the adjustment screw at point of contact between screw and lever. Such wear can cause false switch actuating levels.
- DO NOT operate your control with defective or maladjusted switch mechanisms (refer to the bulletin on switch mechanisms furnished for service instructions.)
- Side mounting controls may sometimes be exposed to excessive heat or moisture. Under such conditions, insulation on electrical wiring may become brittle, eventually breaking or peeling away. The resulting “bare” wires can cause short circuits.
NOTE: Check wiring carefully and replace at the first sign of brittle insulation. - Vibration may sometimes cause terminal screws to work loose. Check all terminal connections to be certain that the screws are tight.
NOTE: Spare switches should be kept on hand at all times. - e. On units with pneumatic switches, air (or gas) operating medium lines subjected to vibration, may eventually crack or become loose at connections causing leakage. Check lines and connections carefully and repair or replace, if necessary.
NOTE: As a matter of good practice, spare switches should be kept on hand at all times.
- Inspect the entire unit periodically.
Isolate control from the vessel. Raise and lower liquid level to check for switch contact and reset.
What To Avoid
- EVER leave the switch housing cover off the control longer than necessary to make routine inspections.
- NEVER place a jumper wire across terminals to cut out the control. If a jumper is necessary for test purposes, be certain it is removed before placing control into service.
- NEVER attempt to make adjustments or replace switches without reading instructions carefully. Certain adjustments provided for in-side mounting controls should not be attempted in the field. When in doubt, consult the factory or your local representative.
- NEVER use lubricants on pivots of switch mechanisms. A sufficient amount of lubricant has been applied at the factory to ensure a lifetime of service. Further oiling is unnecessary and will only tend to attract dust and dirt which can interfere with machine operation.
Troubleshooting
Usually, the first indication of improper operation is the failure of the controlled equipment to function, i.e.: pump will not start (or stop), signal lamps fail to light, etc. When these symptoms occur, whether at the time of installation or during routine service thereafter, check the following potential external causes first.
- Fuses may be blown.
- Reset button(s) may need resetting.
- Power switch may be open.
- Controlled equipment may be faulty.
- Wiring leading to control may be defective.
If a thorough inspection of these possible conditions fails to locate the trouble, proceed next to a check of the control’s switch mechanism.
Check Switch Mechanism
- Pull the disconnect switch or otherwise disconnect power to the control.
- Remove the switch housing cover.
- Disconnect power wiring from the switch assembly.
- Swing magnet assembly in and out by hand to check carefully for any sign of binding. Assembly should require minimal force to move it through its full swing.
- If a binding exists, the magnet may be rubbing the enclosing tube. If the magnet is rubbing, loosen the magnet clamp screw and shift the magnet position. Retighten magnet clamp screw.
- If the switch magnet assembly swings freely and the mechanism still fails to actuate, check the installation of control to be certain it is within the specified 3° of vertical. Use spirit level on side of the enclosing tube in two places, 90° apart.
- Examine the switch closely as previously described in the Preventive Maintenance section. Check continuity of switch with an ohmmeter. If the switch does not function properly, replace it immediately.
- If the switch mechanism is operating satisfactorily, proceed to check the sensing unit.
Check Sensing Unit
- Check to be certain liquid is entering the float chamber. A valve may be closed or piping plugged.
- Proceed to check level sensing action by removing the switch housing assembly, as described in Steps 4 through 7 of the Switch Differential Adjustment section on pages 8 and 9.
Caution: The unit must be normalized to atmospheric pressure before removing the switch housing assembly. - Inspect attraction sleeve(s) and inside of enclosing tube for excessive corrosion or solids buildup which could restrict movement, preventing sleeve(s) from reaching the field of the magnet(s).
- If the differential has been changed in the field, check the tightness and position of the jam nuts.
NOTE: Differential adjustment causes a change in the amount of level travel between switch-on and switch-off actuations. Refer to pages 8 and 9. - Vary liquid level in the vessel. Check float to be certain it is buoyant in the liquid (vessel must have adequate liquid level). If the float is determined to be filled with liquid or collapsed, the float must be replaced. Do not attempt to repair afloat.
Check Complete Unit
Caution: With electrical power on, care should be taken to avoid contact with switch leads and connections at the terminal block.
Reassemble unit. Reconnect the power supply and carefully actuate the switch mechanism manually (using a non-conductive tool) to determine whether controlled equipment will operate. If all components in the control are in operating condition, the trouble must be (and should be) located external to the control. Repeat inspection of external conditions previously described.
NOTE:
If difficulties are encountered which cannot be identified, consult the factory or your local representative for assistance. A complete description of the trouble should be provided along with information concerning your piping and mounting arrangement, plus a description of your operating sequence. Sketches or photographs showing the installation are also beneficial.
When communicating about your control, be certain always to specify the complete Model and Serial numbers.
Agency Approvals
- Dual stage units with ‘HS’ switches are not ATEX approved.
- IEC Installation Instructions:
The cable entry and closing devices shall be Ex d certified suitable for the conditions of use and correctly installed. For ambient temperatures above +55 °C or for process temperatures above +150 °C, suitable heat-resistant cables shall be used. Heat extensions (between process connection and housing) shall never be insulated.
Special conditions for safe use:
When the equipment is installed in process temperatures higher than +85 °C the temperature classification must be reduced according to the following table as per IEC60079-0.
| Maximum Process Temperature | Temperature Classification |
| < 85 °C | T6 |
| < 100 °C | T5 |
| < 135 °C | T4 |
| < 200 °C | T3 |
| < 300 °C | T2 |
| < 450 °C | T1 |
These units are in conformity with IECEx KEM 05.0020X Classification Ex d IIC T6 Tambient -40 to +70 °C.
Specifications
Dimensional Specifications
Inches (mm)
Single switch models


Tandem switch models

| Outline Dimensions | |||||
| T52/T62 | T63 | T67 | |||
| Housing | A | B | C | ||
| NEMA 4X NEMA 4X/7/9 GROUP B | 3.87 (98) | 5.93 (151) | 10.69 (272) | 10.69 (272) | 12.88 (327) |
| NEMA 1 | 5.00 | 4.69 | 9.00 | 9.12 | — |
| PNEUMATIC | (127) | (119) | (229) | (323 | |
Conduit Connections D
- Electrical Switches NEMA 4X/7/9: 1″ NPT
- Group B: 1″ NPT
- Pneumatic Switches NEMA 1: 1/4″ NPT
NOTE:
Allow 8.00 (203) overhead clearance for cover removal.
Actuation Levels
Inches (mm)
Model T52
| Length of Float Stem | Differential Levels Obtainable | Maximum Differential (W) with Nozzle Lengths (L) of | Maximum Nozzle Length (L) to Maintain Maximum Differential | ||||||
| W | 2.00 (51) | 4.00 (102) | 6.00 (152) | 8.00 (203) | 10.00 (254) | 12.00 (305) | |||
| Minimum | Maximum | ||||||||
| 8.00 (203) | 1.25 (32) | 4.75 (121) | 4.00 (102) | – | – | – | – | – | 2.38 (60) |
| 12.00 (305) | 1.75 (44) | 7.00 (178) | 7.00 (178) | 5.62 (143) | 4.25 (108) | 3.50 (89) | 2.88 (73) | – | |
| 18.00 (457) | 2.50 (64) | 10.25 (260) | 10.25 (260) | 8.12 (206) | 6.25 (159) | 5.12 (130) | 4.25 (108) | 3.62 (92) | |
| 26.00 (660) | 3.50 (89) | 14.50 (368) | 14.50 (368) | 11.62 (295) | 8.88 (226) | 7.25 (184) | 6.00 (152) | 5.12 (130) | |
Model T62 with threaded body
| Length of Float Stem | Differential Levels Obtainable | Maximum Differential (W) with Nozzle Lengths (L) of | Maximum Nozzle Length (L) to Maintain Maximum Differential | ||||||
| W | 2.00 (51) | 4.00 (102) | 6.00 (152) | 8.00 (203) | 10.00 (254) | 12.00 (305) | |||
| Minimum | Maximum | ||||||||
| 8.00 (203) | 1.25 (32) | 5.81 (148) | 5.81 (148) | 4.38 (111) | 1.50 (38) | – | – | – | 2.50 (64) |
| 12.00 (305) | 2.00 (51) | 8.12 (206) | 8.12 (206) | 6.12 (155) | 4.69 (119) | 3.81 (97) | 3.19 (81) | – | |
| 18.00 (457) | 2.88 (73) | 11.56 (294) | 11.56 (294) | 8.69 (221) | 6.69 (170) | 5.44 (138) | 4.56 (116) | 3.94 (100) | |
| 26.00 (660) | 4.00 (102) | 16.16 (410) | 16.16 (410) | 12.19 (310) | 9.31 (236) | 7.56 (192) | 6.38 (162) | 5.44 (138) | |
Model T63
| Length of Float Stem | Differential Levels Obtainable | Maximum Differential (W) with Nozzle Lengths (L) of | Maximum Nozzle Length (L) to Maintain Maximum Differential | ||||||
| W | 2.00 (51) | 4.00 (102) | 6.00 (152) | 8.00 (203) | 10.00 (254) | 12.00 (305) | |||
| Minimum | Maximum | ||||||||
| 8.00 (203) | 1.00 (25) | 2.62 (67) | 2.62 (67) | 1.88 (48) | – | – | – | – | 1.19 (30) |
| 12.00 (305) | 1.75 (44) | 5.00 (127) | 5.00 (127) | 3.50 (89) | 2.75 (70) | 2.38 (61) | 2.00 (51) | – | |
| 18.00 (457) | 2.50 (64) | 7.38 (187) | 7.38 (187) | 5.25 (133) | 4.12 (105) | 3.38 (86) | 2.88 (73) | 2.50 (64) | |
| 26.00 (660) | 3.50 (89) | 10.50 (267) | 10.50 (267) | 7.50 (190) | 5.88 (149) | 4.88 (124) | 4.12 (105) | 3.50 (89) | |
Model T67
| Switch Actuation Levels Obtainable With Standard Length Float Stems ➀ | ||||
| Length of Float Stem | W & X ➁ | y & Z ➂ | ||
| Minimum | Maximum | Minimum | Maximum | |
| 8.00 (203) | 2.50 (64) | 2.50 (64) | 1.00 (25) | 2.50 (64) |
| 12.00 (305) | 3.75 (95) | 3.75 (95) | 1.50 (38) | 3.75 (95) |
| 18.00 (457) | 5.50 (140) | 5.50 (140) | 2.12 (54) | 5.50 (140) |
| 26.00 (660) | 7.75 (197) | 7.75 (197) | 3.00 (76) | 7.75 (197) |
- Differential adjustment on tandem units must be done at the factory. Advise required differentials at time of order placement.
- Dimensions W and X set for maximum unless otherwise specified.
- Dimensions Y and Z set for maximum unless otherwise specified.
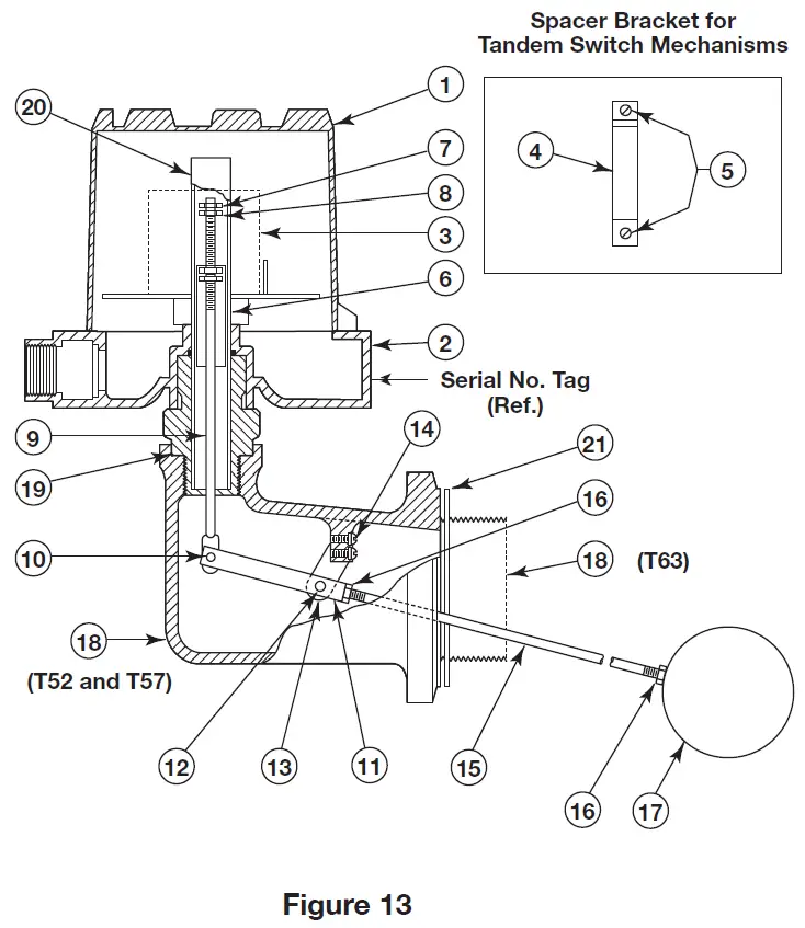
Replacement Parts
Replacements Assemblies Parts Identification
Item Description
- Switch housing cover
- Switch housing base
- Switch mechanism
- Spacer bracket
- Rd head screws
- Attraction sleeve(s)
- Jam nuts
- Guide washer
- Sleeve stem
- Connecting pin
- Fulcrum
- Fulcrum pin
- Pivot bracket
- Rd head screws
- Float stem
- Stem lock nuts
- Float
- Body
- E-tube gasket
- Enclosing tube
- Flange gasket


Models T52 and T63
T52/T63
- Switch hsg cover Refer to Bulletin 42-680/42-780 for switch housing cover and base assembly
- Switch hsg base Refer to Bulletin 42-680/42-780 for switch housing cover and base assembly
- Switch mechanism Refer to the bulletin on switch mechanism furnished (refer to chart on page 7)
- Spacer bracket Not required
- Rd head screws Not required
- Standard sleeve assy➀
- (includes items 6 through 16) 089-5508-001
- Sheathed sleeve assy➀
- (includes items 6 through 16) 089-5516-001 089-5517-001
- Float 2.50 Z07-1102-001
- 2.50 x 4.00 Z07-1202-001
- 3.00 Z07-1202-004 Z07-1102-004
- Body Consult Factory
- E-tube gasket 012-1301-002
- Enclosing tube Z32-6325-001➁
- Flange gasket 012-1301-003 Not Required
NOTES:
All replacement assemblies listed are for standard base models which use Series B, C, D, F, 8, 9, and J switch mechanisms only. Consult your local representative for ordering assistance on all special model replacement parts not listed above.
- Sleeve kits contain 8.00-inch (203 mm) stem lengths. Consult the factory for longer stem lengths. The standard sleeve is type 400 series stainless steel. Sheathed attraction sleeves are used on models specified for corrosive service. Sheathed sleeve kits are used on models with materials of construction codes 2 through 9.
- This e-tube is for models with the material of construction code 1 only. Consult the factory for e-tubes used with other materials of construction codes.
Models T62 Threaded, T62 Flanged, T67 Threaded, and T67 Flanged
- Switch hsg cover Refer to Bulletin 42-680/42-780 for switch housing cover and base assembly
- Switch hsg base Refer to Bulletin 42-680/42-780 for switch housing cover and base assembly
- Switch mechanism Refer to bulletin on switch mechanism furnished (refer to chart on page 7)
- Spacer bracket Not required 005-7542-121
- Rd head screws Not required 010-1409-006
- Standard sleeve assy➀
- (includes items 6 through 16) 089-5510-001 089-5511-001
- Sheathed sleeve assy➀
- (includes items 6 through 16) 089-5514-001 N/A N/A
- Float 2.50 089-5546-001
- 2.50 x 4.00 089-5553-001
- 3.00 089-5551-001
- 3.50 089-5552-001
- 3.00 x 5.00 089-5554-001
- 3.00 x 6.00 089-5555-001
- Body Consult Factory
- E-tube gasket 012-1301-002
- Enclosing tube Z32-6325-001➁ Z32-6325-007
- Flange gasket Not Required Not Available➂ Not Required Not Available➂
NOTES:
All replacement assemblies listed are for standard base models which use Series B, C, D, F, 8, 9, and J switch mechanisms only. Consult your local representative for ordering assistance on all special model replacement parts not listed above.
- Sleeve kits contain 8.00-inch (203 mm) stem lengths. Consult the factory for longer stem lengths. The standard sleeve is type 400 series stainless steel. Sheathed attraction sleeves are used on models specified for corrosive service. Sheathed sleeve kits are used on models with materials of construction codes 2 through 9.
- This e-tube is for models with the material of construction code 1 only. Consult the factory for e-tubes used with other materials of construction codes.
- Flange gaskets used on models T62 and T67 are standard ANSI type, readily available at local supply houses.
Model Numbers
3.6.1 T52, T62, T63, T64, and T67 Models
MODEL NUMBER, MATERIAL OF CONSTRUCTION, AND TANK CONNECTION
- Compare with float rating and use a lower value for selection.
- Float cannot pass through 3″ NPT opening.
- To pass float, the tank nozzle’s internal bore diameter must not be less than 3.06 (78).
- 3.50 (89) diameter and 3.00 x 5.00 (76 x 127) float are not available in models T52 and T63.
- Process temperature based on +100 °F (+38 °C) ambient.
- Dual switches are available only with tandem model T67.
- CSA approval does not apply to Series HE switches.
- On condensing applications, the temperature was down-rated to +400 °F.
- Pneumatic switches are not available on models T64 or T67.
ELECTRIC SWITCH MECHANISM AND ENCLOSURE
|
Switch Description | Process ➄ Temperature Range °F (°C) |
Contacts | Set ® Points | All models with Material of Construction Code 1, except model T64 | All models with Material of Construction Codes 2, 3 & 4, except model T64 | Model T64 only | ||||||
| TyPE 4X/7/9 Aluminum Enclosure | ||||||||||||
| Class I, Div 1 Groups C&D | Class I, Div 1 Group B | ATEX Ex II 2 G EEx d IIC T6 | Class I, Div 1 Groups C&D | Class I, Div 1 Group B | ATEX Ex II 2 G EEx d IIC T6 | Class I, Div 1 Groups C&D | Class I, Div 1 Group B | ATEX Ex II 2 G EEx d IIC T6 | ||||
| Series B Snap Switch | -40 to +250 (-40 to +121) | SPDT | 1 | BKP | BKT | BAC | BKQ | BKS | BA9 | BKA | BKJ | BCC |
| 2 | BLA | BLJ | BDC | N/A | N/A | |||||||
| DPDT | 1 | BNP | BNT | BBC | BNQ | BNS | BB9 | BNA | BNJ | BFC | ||
| 2 | BOA | BOJ | BGC | — | — | |||||||
| Series C Snap Switch | -40 to +450 (-40 to +232) | SPDT | 1 | CKP | CKT | CAC | CKQ | CKS | CA9 | CKA | CKJ | CCC |
| 2 | CLA | CLJ | CDC | — | — | |||||||
| DPDT | 1 | CNP | CNT | CBC | CNQ | CNS | CB9 | CNA | CNJ | CFC | ||
| 2 | COA | COJ | CGC | — | — | |||||||
| Series D DC Current Snap Switch | -40 to +250 (-40 to +121) | SPDT | 1 | — | DKQ | DKS | DA9 | DKB | DKK | DC9 | ||
| DPDT | 1 | DNB | DNK | DF9 | DNB | DNK | DF9 | |||||
| Series F Hermetically Sealed Snap Switch | -50 to +750 (-46 to +399) | SPDT | 1 | FKP | FKT | FAC | FKQ | FKS | FA9 | FKA | FKJ | FCC |
| 2 | FLA | FLJ | FDC | — | — | |||||||
| DPDT | 1 | FNP | FNT | FBC | FNQ | FNS | FB9 | FNA | FNJ | FFC | ||
| 2 | FOA | FOJ | FGC | — | — | |||||||
| Series HS Hermetically Sealed 5-amp Snap Switch with Wiring Leads | -50 to +550 (-46 to +288) | SPDT | 1 | — | HMC | HEK0 | — | HMJ | HMK | — | ||
| DPDT | 1 | HMF | HET0 | HMS | HMT | |||||||
| Series HS Hermetically Sealed 5-amp Snap Switch with Terminal Block | -50 to +550 (-46 to +288) | SPDT | 1 | — | HM3 | HM4 | HA9 | HM3 | HM4 | HA9 | ||
| DPDT | 1 | HM7 | HM8 | HB9 | HM7 | HM8 | HB9 | |||||
| Series R High Temperature Snap Switch | -40 to +750 (-40 to +399) | SPDT | 1 | — | RKB | RKK | RC9 | RKB | RKK | RC9 | ||
| DPDT | 1 | RNB | RNK | RF9 | RNB | RNK | RF9 | |||||
| Series 8 Hermetically Sealed Snap Switch | -50 to +750 (-46 to +399) | SPDT | 1 | 8KP | 8KT | 8AC | 8KQ | 8KS | 8A9 | 8KA | 8KJ | 8CC |
| 2 | 8LA | 8LJ | 8DC | — | — | |||||||
| DPDT | 1 | 8NP | 8NT | 8BC | 8NQ | 8NS | 8B9 | 8NA | 8NJ | 8FC | ||
| 2 | 8OA | 8OJ | 8GC | — | — | |||||||
| Series 9 High Temperature Hermetically Sealed Snap Switch | -50 to +750 (-46 to +399) | SPDT | 1 | 9KP | 9KT | 9AC | 9KQ | 9KS | 9A9 | 9KA | 9KJ | 9CC |
| 2 | 9LA | 9LJ | 9DC | — | — | |||||||
| DPDT | 1 | 9NP | 9NT | 9BC | 9NQ | 9NS | 9B9 | 9NA | 9NJ | 9FC | ||
| 2 | 9OA | 9OJ | 9GC | — | — | |||||||
| Switch Description | Process ➄ Temperature Range °F (°C) | Contacts | Set ® Points | CS/ Aluminum | Cast Iron | CS/ Aluminum | Cast Iron | CS/ Aluminum | Cast Iron | |||
| NEMA 4X | Class I, Div 1 Groups C&D | Class I, Div 1 Group B | NEMA 4X | Class I, Div 1 Groups C&D | Class I, Div 1 Group B | NEMA 4X | Class I, Div 1 Groups C&D | Class I, Div 1 Group B | ||||
| Series R High Temperature Snap Switch | -40 to +1000 (-40 to +538) | SPDT | 1 | — | R1M | RKM | RKW | R1M | RKM | RKW | ||
| 2 | — | — | ||||||||||
| DPDT | 1 | RDM | RNM | RNW | RDM | RNM | RNW | |||||
| 2 | — | — | ||||||||||
| Series 9 High Temperature Hermetically Sealed Snap Switch | -50 to +1000 (-46 to +538) | SPDT | 1 | 9AR | 9KR | PKV | 9AY | 9KY | 9KW | 9AD | 9KD | 9KV |
| 2 | 9BD | 9LD | 9LV | — | — | |||||||
| DPDT | 1 | 9DR | 9NR | 9NV | 9DY | 9NY | 9NW | 9DD | 9ND | 9NV | ||
| 2 | 9ED | 9OD | 9OV | — | — | |||||||
PNEUMATIC SWITCH MECHANISM AND ENCLOSURE
| Switch Description | Maximum Supply Pressure | Maximum Process Temperature | Bleed Orifice Diameter | All Models with Material of Construction Code 1 | All Models w/Material of Construction Codes 2, 3 or 4 | |||
| PSIG | Bar | °F | °C | Inches | mm | NEMA 1 | NEMA 1 | |
| Series J Bleed Type | 100 | 7 | 400 | 204 | 0.63 | 1.6 | JDE | JDE |
| 60 | 4 | 400 | 204 | 0.94 | 2.3 | JEE | JEE | |
| Series K Non-Bleed Type | 100 | 7 | 400 | 204 | — | — | — | KOE |
| 40 | 3 | 400 | 204 | — | — | KOG | — | |
ASSURED QUALITy & SERvICE COST LESS
Service Policy
Owners of Magnetrol controls may request the return of control or any part of control for complete rebuilding or replacement. They will be rebuilt or replaced promptly. Controls returned under our service policy must be returned by Prepaid transportation. Magnetrol will repair or replace the control at no cost to the purchaser (or owner) other than transportation if:
- Returned within the warranty period; and
- The factory inspection finds the cause of the claim to be covered under the warranty.
If the trouble is the result of conditions beyond our control; or, is NOT covered by the warranty, there will be charges for labor and the parts required to rebuild or replace the equipment.
In some cases it may be expedient to ship replacement parts; or, in extreme cases a complete new control, to replace the original equipment before it is returned. If this is desired, notify the factory of both the model and serial numbers of the control to be replaced. In such cases, credit for the materials returned will be determined on the basis of the applicability of our warranty. No claims for misapplication, labor, or direct or consequential damage will be allowed.
Return Material Procedure
So that we may efficiently process any materials that are returned, it is essential that a “Return Material Authorization” (RMA) number be obtained from the factory, prior to the material’s return. This is available through Magnetrol’s local representative or by contacting the factory. Please supply the following information:
- Company Name
- Description of Material
- Serial Number
- Reason for Return
- Application
Any unit that was used in a process must be properly cleaned in accordance with OSHA standards before it is returned to the factory. A Material Safety Data Sheet (MSDS) must accompany material that was used in any media. All shipments returned to the factory must be by prepaid transportation. All replacements will be shipped F.O.B. factory.
705 Enterprise Street Aurora, Illinois 60504-8149 USA 630.969.4000. [email protected]. magnetrol.com. Copyright © 2021 AMETEK Magnetrol USA, LLC.
- BULLETIN: 44-602.22
- Effective: May 2016
- SUPERSEDES: January 2015
























