LAP 442PG Shutter Outdoor Bollard and Post Light

Thank you for purchasing this light fitting. Please read the instructions carefully before use to ensure safe and satisfactory operation of this product. Please retain these instructions for future reference.
Warning
- This is a Class 1 product and must be earthed.
- Please read these instructions carefully before commencing any work, and retain for reference. Install in accordance with IEE Wiring regulationsvand current Building Regulations.
- To prevent electrocution switch off at mains supply before installing or maintaining this fitting. Ensure other persons cannot restore the electrical supply without your knowledge. If you are in any doubt, please consult a qualified electrician. This light fitting should be connected to a circuit with a 30mA RCD fitted.
- When changing a bulb, always switch off at the mains and allow the old bulb to cool before handling. Dispose of used bulbs carefully and responsibly.
- Do not exceed the wattage stated or use a different shape bulb as indicated on the fitting. This product is not suitable for dimming.
- Waste electrical products should not be disposed of with household waste. Please recycle where facilities exist. Check with your local authority or retailer for recycling advice.
- This product is rated at IP44. It is not suitable for location in or near a marine or sea environment
Specification
- Voltage: 240V 50Hz
- Lamp: Max. 1 x 60W E27 GLS
- IP rating: 44
Fixing Instructions
Make sure you have the following items which are required to install this light fitting:
- Selection of cross and flat head screwdrivers.
- Electric drill and assorted drill bits.
- Wire strippers.
- Insulation tape
Layout
- Plan the desired layout of this fitting carefully, ensuring the cables will reach the distance between the junction box and the light fitting.
- This product is designed for domestic and light industrial use. It should not be used to support other objects or used as a replacement for concrete or metal pillars.
- Avoid locating any cables in positions that would cause a hazard. Position cables and outdoor rated junction boxes (not supplied) away from areas where they may be at risk from being cut, trapped or damaged.
- We recommend that you use H05RN-F specification cable (not supplied) which is an outdoor grade, rubber sheathed cable. The mains supply cable must have a minimum cross sectional area of 1.0mm².
- Cables must be protected using suitable conduit or plastic trunking
Installation
Existing fittings must be completely removed before installation of a new product. Before removing the existing fitting, carefully note the position of each set of wires.
- The product must be mounted onto a concrete base or paving slab. It should not be directly installed in the soil. Using base plate as a template, mark the fixing holes onto the mounting surface.
- Drill holes to the necessary size and depth – taking care not to damage any concealed pipes or wiring below the mounting surface.
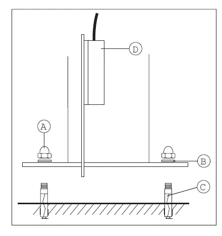
- This product comes complete with expanding bolt type fixings (C) which are suitable for use on most surfaces, however alternative fixings may be required.
- Double check that the fixings line up with the holes in the base of the fitting Push the fixing bolts into the mounting holes. Fit washers (B) and tighten nuts (A) with a suitable spanner to secure

Wiring
Having correctly identified the wiring from your existing light fitting, pull the wire through the hole and connect to the connection block inside the product in the following way:
- Pull terminal block (D) from inside of tube.
- Unscrew the 4 screws which attach the black box to the spacing strip. Open the black box and pull out the terminal block.
- Connect the input wires according to the diagram.
- Push terminal block back into the black box. Re-attach the black box to the mounting bracket.

Check that…
- You have correctly identified the wires.
- The connections are tight.
- No loose strands have been left out of the connection block.
Commissioning
- Replace the plastic cover and stainless steel plate ensuring that the screws are securely tightened.
- Replace fuse or circuit breaker and switch on. Your light is now ready for use.
Fitting/replacing bulbs
- Fitting/Replacing the bulbs – 1 x MAX 60W E27 GLS or energy saving equivalent.
- Always allow the bulb to cool before touching. Fit the recommended bulbs. Do not exceed the recommended wattage or use a different shape of bulb as this may cause your light fitting to overheat.
- Some energy saving bulbs are not suitable for use with a dimmer switch.
Cleaning
- We recommend cleaning with a soft dry cloth.
- Do not use solvents or abrasive cleaners as these could damage the finish.
- Plastic parts – Wipe clean with a damp cloth. Do not use abrasive materials as these will damage the finish.
- Do not clean the units with a pressure washer.
Recycling advice
Waste electrical products should not be disposed of with household waste. Please recycle where facilities exist. Check with your Local Authority or retailer for recycling advice. The packaging on this product can also be recycled.
Safety information
- For your safety, always switch off the supply before changing lightbulbs, or cleaning.
- The glass shade must be replaced if it becomes cracked or damaged.
- Do not use product without glass shade attached.




















