96930 Outdoor Bollard Light Fitting
Instruction Manual
Installation and Safety Instructions
Outdoor Bollard Light Fitting
Safety Warnings
These instructions are for your safety. Please read through them thoroughly before use and retain them for future reference. If you are in any doubt about installing this product, consult a qualified electrician.
This product is suitable for use outdoors but should not be immersed in water / sited in areas likely to be heavily splashed, either from above or below, or subjected to standing water.
This product is rated IP44( definition e.g. splash proof/rainproof etc). Ensure that the screws and cable entry points are sealed to maintain the IP rating of the product.
The battery must not be opened, destroyed or incinerated. In the unlikely event that the battery needs replacing – only use a battery of the same type and specification.
The solar panel has an integrated daylight sensor – enabling the light to come on at dusk and switch off at dawn. Ensure the product is located in a sunny position to ensure effective recharging of the battery.
Avoid locating the product in areas that are subject to interference from other light sources, (street lamps etc) as the product may not operate at night.
To test the light and check if it is switched on, cover the solar panel and the light should operate. Initial charging for 1-2 days may be necessary.
This product may contain delicate parts be careful during handling and maintenance to avoid breakage.
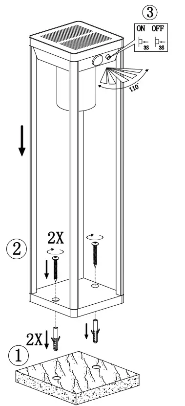
The product must be securely fixed to the mounting surface using the screws and wall plugs supplied. The screws and wall plugs supplied are suitable for “masonry” only. Other fixings are not supplied and must be purchased.
Decide on the position of the light fitting or remove the existing light fitting.
This product must only be installed to a solid, fixed surface, such as concrete, decking or paving slabs. It must NOT be installed on the soil.
The mounting surface must be able to accommodate the weight/height of the fitting.
Waste electrical products should not be disposed of with household waste. Please recycle where facilities exist. Check with your Local Authority or local store for recycling advice.
Care and maintenance
Clean with a dry cloth only. Do not use liquid or abrasive cleaners on this product.
Troubleshooting
If you have any doubt about the installation/use of this product, consult a qualified electrician.
Assembly Instructions

Press and hold the switch for 3 seconds to turn it on, the product will stay on at 20Lm.
After mode 1, press the switch to change to mode 2. The product will stay on at 20Lm and increase to 70Lm when motion is detected (This will stay at 70Lm for 25 seconds then dim to 20Lm and stay lit).
After mode 2, press the switch to change to mode 3. The product will be 180Lm when motion is 180 detected and will turn off after 25 seconds.
Press and hold the switch for 3 seconds to turn it off.
Battery Replacement



https://qrco.de/bbiq6g
Scan QR code for multi-language
UK Manufacturer: BH17 7BY EU
Manufacturer: 1 Gnarrenburg, 27442


















