BEGA 50311 Ceiling and Wall Luminaire for Indoor Use

Product Information
The product is a luminaire that requires installation and operation according to national safety regulations. It is recommended to have a qualified electrician perform the installation and commissioning. The manufacturer is not liable for any damage caused by improper use or installation. The luminaire has electronic components that are protected against overvoltage according to DIN EN 61547. Additional overvoltage protection components are recommended for further protection against transients. These components can be found on the manufacturer’s website at www.bega.com. The luminaire has different specifications based on the lamp module used. The specifications include the lamp module-connected wattage, luminaire-connected wattage, rated temperature, ambient temperature, color temperature, color rendering index, module luminous flux, luminaire luminous flux, and luminaire luminous efficiency.
Product Usage Instructions
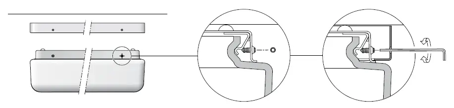
- Prior to installation, ensure that the luminaire housing is inserted into the trim frame (accessory) and that the two openings in the trim frame align with the grub screws of the luminaire housing.
- During installation or relamping, avoid touching the light output opening of the LED directly.
- Lead the mains supply cable through the cable entry into the luminaire housing.
- Securely fix the luminaire housing onto the mounting surface using the enclosed gaskets or suitable fixing material.
- Make sure to establish proper earth and electrical connections to the terminal.
- To position the glass, align the retaining springs with the recesses in the raised edge of the glass.
- Press the glass against the retaining springs at a flat angle until it is fully inserted into the luminaire housing.
- Apply gentle pressure on the glass to ensure it is securely fixed through the three lobes on the opposite side.
- If installing the luminaire on the ceiling, screw the two grub screws (Allen screws) against the retaining springs with gentle pressure to securely hold the glass in place and make it resistant to vibration.
DIMENSION

Instructions for use
Application
Ceiling and wall luminaire · indoor luminaire made of hand-blown opal glass and metal housing, for all lighting tasks. They are ideal for places where a soft and uniform lighting distribution is required. Luminaire with motion sensor.
Product Description
- Metal housing, finish Colour white
- Hand-blown opal glass, satin matt
- Integrated HF-motion sensor,
- maximum range 10 m
- 2 mounting holes ø 6 mm
- Distance apart 180 mm
- 2 cable entries for through-wiring for mains
- cable up to ø 10.5 mm max. 3 × 1.5@
- Connection terminal 2.5@
- Earth conductor connection
- LED power supply unit
- 230 V y 50 Hz
- BEGA Thermal Switch®
- Temporary thermal shutdown to protect
- temperature-sensitive components
- Safety class I
- Impact strength IK05
- Protection against mechanical
- impacts < 0.7 joule
- c – Conformity mark
- Weight: 2.0 kg
This product contains light sources of energy efficiency class(es) D
Safety
The installation and operation of this luminaire are subject to national safety regulations. Installation and commissioning may only be carried out by a qualified electrician. The manufacturer accepts no liability for damage caused by improper use or installation. If subsequent modifications are made to the luminaire, the person responsible forthese modifications shall be considered the manufacturer.
Overvoltage protection
The electronic components installed in the luminaire are protected against overvoltage in accordance with DIN EN 61547. To achieve an additional protection against e. g. transients, etc. we recommend separate overvoltage protection components. You can find them on our website at www.bega.com.
Lamp
- Module connected wattage 11 W
- Luminaire connected wattage 15.7 W
- Rated temperature ta = 25 °C
- Ambient temperature ta max = 40 °C
50 311 K27
- Colour temperature 2700 K
- Colour rendering index CRI > 90
- Module luminous flux 1770 lm
- Luminaire luminous flux 1311 lm
- Luminaire luminous efficiency 83,5 lm / W
50 311 K3
- Colour temperature 3000 K
- Colour rendering index CRI > 90
- Module luminous flux 1795 lm
- Luminaire luminous flux 1329 lm
- Luminaire luminous efficiency 84,6 lm / W
Notice prior to installation: Luminaire with trim frame The luminaire housing must be inserted in the trim frame (accessory) before it is mounted onto the mounting surface. Make sure that the two openings in the trim frame coincide with the positions of the grub screws of the luminaire housing.
Installation
LED are high-quality electronic components!
Please avoid touching the light output opening of the LED directly during installation or relamping. Lead mains supply cable through the cable entry into the luminaire housing. Fix the luminaire housing with enclosed or any other suitable fixing material onto the mounting surface. It is imperative to use the enclosed gaskets. Make earth and electrical connection to the terminal.
Position the glass over the luminaire housing so that the retaining springs fit into the two recesses in the raised edge of the glass. Press the glass against the retaining springs ata flat angle as far as it will go and push it into the luminaire housing (see drawing). Gentle pressure on the glass will fix it in the luminaire housing through the three lobes on the opposite side.
IMPORTANT: If the luminaire is to be installed on the ceiling, it is essential that the two grub screws (Allen screws) should be screwed with gentle pressure against the retaining springs. In this way, the glass is held securely in place and is resistant to vibration.
The built-in motion sensor operates at a frequency of 5.8 GHz. By moving within the detection range the motion sensor switches on the LED module inside the luminaire with a defined dwell time – push-button “Dwell time”. With a wall mounting height of 1.8 m or ceiling mounting height of 2.6 m, the maximum range is 10 meters (see sketch).
The max. wall mounting height is 2.7 m and the max. ceiling mounting height is 4.0 m, in which the range reduces significantly. The range can be set individually – push-button “Sensitivity”. It should be noted that metal parts which are mounted in close proximity to the luminaire can affect the range. With the three integrated push-buttons (Brightness, Dwell time and Sensitivity) on the motion sensor, specific settings can be made.The first keypress activates the setting function. Press a push-button to switch each function to the next level, the LED indicator on the motion sensor flashes to confirm. After reaching the highest level, the level setting begins with “Level 1”.
- After the 3 parameters brightness, dwell time and sensitivity have been set successfully the module will require a voltage break to save the changes.
- The integrated light sensor can be set individually with the brightness levels on the ambient brightness – Press the button “Brightness”.
- Further individual illumination levels can be used with the button “Brightness” and set with the “learning mode”.
- Press button “brightness” (> 3 s) to enable the “learning mode”. There is a slow flashing of the LED indicator.
- After about two minutes, the current brightness value is measured for one minute, the LED flashes faster.
- After completion, the measured brightness value is saved and is available in stage 6 of “Brightness” as the new brightness value.
- To simplify the initial operation, the settings have been made as follows:
- Range = 75 % (7.5 m)
- Dwell time = 10 s
- Light sensor = daylight
Factory Reset
The motion sensor can be reset to factory settings (MICAS) by simultaneously pressing the buttons “Sensitivity” and “Dwell time” for about 5 s.
The factory settings are as follows:
- Range = 75 % (7.5 m)
- Dwell time = 900 s
- Light sensor = daylight
Test mode
The test mode can be used to check the change of settings of the motion sensor. Press the button “Sensitivity” (> 3 s) to enable the “test mode”. Each further keystroke of this push-button prolongs the test mode. The active test mode is displayed by a flashing of the LED indicator (2 s interval). After 3 minutes the test mode is automatically disabled.
Cleaning · Maintenance
Clean the luminaire regularly with solvent-free cleansers from dirt.
Opening the luminaire
Unscrew the two grub screws (Allen screws) of the luminaire housing as far as they will go.A recess (identifiable by touch) in the edge of the glass indicates the direction from which the luminaire glass must be pressed against the spring pressure of the glass retaining springs in order to release it from the luminaire housing. Pull the glass away from the luminaire housing against the holding force of the retaining springs and remove it.
Replacement of the LED unit
The designation of the LED unit is noted on a label in the luminaire. The light color and light output of BEGA replacement units correspond to those of the LED units originally fitted. The LED unit can be replaced by qualified persons using standard tools. Disconnect the system and open the luminaire. Replace the LED unit. Close the luminaire. A damaged glass must be replaced.
Accessory · Trim frames
For this luminaire metal trim frames in 3 enamel surfaces are optionally available. Trim frames are accessories and must be ordered separately.
Part. No
- Color white 13 134
- Color palladium 13 135
- Color glossy silver 13 136
Spares
- Spare glass 11 003 243 .0R G
- HF-motion sensor 61 001 077
- LED unit 2700 K 75 002 980 K27
- LED unit 3000 K 75 002 980 K3
CONTACT
- BEGA Gantenbrink-Leuchten KG
- Postfach 31 60
- 58689 Menden
- [email protected].
- www.bega.com.












