BEGA 50306 Ceiling and Wall Luminaire for Indoor Use

Product Information
This product is a luminaire, which is used for lighting purposes. It is designed to be installed and operated in accordance with national safety regulations. The luminaire should only be installed and commissioned by a qualified electrician. The manufacturer is not liable for any damage caused by improper use or installation. If any modifications are made to the luminaire, the person responsible for these modifications will be considered the manufacturer.
The luminaire is equipped with electronic components that are protected against overvoltage according to DIN EN 61547. For additional protection against transients and other electrical disturbances, it is recommended to use separate overvoltage protection components, which can be found on the manufacturer’s website at www.bega.com.
The product specifications include:
- Lamp Module connected wattage: 15.1 W
- Luminaire connected wattage: 17.6 W
- Rated temperature: 25 – 40 °C
- Ambient temperature: max 40 °C
- Colour temperature: 2700 K (K27) or 3000 K (K3)
- Colour rendering index (CRI): > 90
- Module luminous flux: 2535 lm (K27) or 2570 lm (K3)
- Luminaire luminous flux: 1839 lm (K27) or 1865 lm (K3)
- Luminaire luminous efficiency: 104.5 lm/W (K27) or 106 lm/W (K3)
DIMENSION

Application
Ceiling and wall luminaire · indoor luminaire made of hand-blown opal glass and metal housing, for all lighting tasks. They are ideal for places where a soft and uniform lighting distribution is required.
Product description
- Metal housing, finish Colour white
- Hand-blown opal glass, satin matt 2 mounting holes ø 5.5 mm
- Distance apart 180 mm 2 cable entries for through-wiring for mains cable up to ø 10,5 mm max. 5 x 1.5@ Connection terminal 2.5@
- Earth conductor connection 2-pole connecting terminal for digital control
- LED power supply unit 220-240 V x 0/50-60 Hz
- DALI-controllable
- Basic insulation is provided between the mains and control cables
- BEGA Thermal Switch®
- Temporary thermal shutdown to protect temperature-sensitive components
- Safety class I
- Impact strength IK03
- Protection against mechanical impacts < 0.35 joule
- Safety mark
- CE – Conformity mark
- Weight: 2.2 kg
- This product contains light sources of energy efficiency class(es) D
Safety
- The installation and operation of this luminaire are subject to national safety regulations. Installation and commissioning may only be carried out by a qualified electrician.
- The manufacturer accepts no liability for damage caused by improper use or installation. If subsequent modifications are made to the luminaire, the person responsible for these modifications shall be considered the manufacturer.
SPECIFICATION
Overvoltage protection
- The electronic components installed in the luminaire are protected against overvoltage in accordance with DIN EN 61547.
- To achieve an additional protection against e. g. transients, etc. we recommend separate overvoltage protection components.
- You can find them on our website at: www.bega.com.
Lamp
- Module connected wattage 15.1 W
- Luminaire connected wattage 17.6 W
- Rated temperature ta = 25 °C
- Ambient temperature ta max = 40 °C
50 306 K27
- Colour temperature 2700 K
- Colour rendering index CRI > 90
- Module luminous flux 2535 lm
- Luminaire luminous flux 1839 lm
- Luminaire luminous efficiency 104,5 lm / W
50 306 K3
- Colour temperature 3000 K
- Colour rendering index CRI > 90
- Module luminous flux 2570 lm
- Luminaire luminous flux 1865 lm
- Luminaire luminous efficiency 106 lm / W
Notice prior to installation
- Luminaire with trim frame
- The luminaire housing must be inserted in the trim frame (accessory) before it is mounted onto the mounting surface.
- Make sure that the two openings in the trim frame coincide with the positions of the grub screws of the luminaire housing.
Installation
- LED are high-quality electronic components! Please avoid touching the light output opening of the LED directly during installation or relamping.
- Lead mains supply cable through the cable entry into the luminaire housing.
- Fix the luminaire housing with enclosed or any other suitable fixing material onto the mounting surface.
- It is imperative to use the enclosed gaskets. Make earth conductor connection.
- Push silicone sleeves over the lines and make electrical connection.
- For digital control please use the connecting terminal DA, DA.
- In case this terminal is not used the luminaire will be operated at full light output.

Position the glass over the luminaire housing so that the retaining springs fit into the two recesses in the raised edge of the glass. Press the glass against the retaining springs at a flat angle as far as it will go and push it into the luminaire housing (see drawing).
Gentle pressure on the glass will fix it in the luminaire housing through the three lobes on the opposite side.

IMPORTANT:
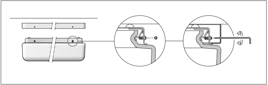
If the luminaire is to be installed on the ceiling, it is essential that the two grub screws (Allen screws) should be screwed with gentle pressure against the retaining springs.
In this way, the glass is held securely in place and is resistant to vibration.
Cleaning · Maintenance
Clean luminaire regularly with solvent-free cleansers from dirt.
Opening the luminaire
Unscrew the two grub screws (Allen screws) of the luminaire housing as far as they will go.
A recess (identifiable by touch) in the edge of the glass indicates the direction from which the luminaire glass must be pressed against the spring pressure of the glass retaining springs in order to release it from the luminaire housing. Pull the glass away from the luminaire housing against the holding force of the retaining springs and remove it.
Replacement of the LED unit
- The designation of the LED unit is noted on a label in the luminaire.
- The light colour and light output of BEGA replacement units correspond to those of the LED units originally fitted. The LED unit can be replaced by qualified persons using standard tools.
- Disconnect the system and open the luminaire. Replace the LED unit.
- Close the luminaire.
- A damaged glass must be replaced.
Accessory · Trim frames
For this luminaire metal trim frames in 3 enamel surfaces are optional available.
Trim frames are accessories and must be ordered separately.
Part. No
- Colour white 13 137
- Colour palladium 13 138
- Colour glossy silver 13 139
Spares
- Spare glass 11 003 279 .0R G
- LED unit 2700 K 75 002 259 K27
- LED unit 3000 K 75 002 259 K3
CONTACT
- ADDRESS: BEGA Gantenbrink-Leuchten KG · Postfach 31 60 · 58689 Menden ·
- [email protected] ·
- www.bega.com















