
SANGEAN Mini Desk Radio Fm Bluetooth Rechargeable Instruction Manual

![]()
The Bluetooth® word mark and logos are registered trademarks owned by Bluetooth SIG, Inc. and any use of such marks by SANGEAN ELECTRONICS INC. is under license.
Important Safety Instructions
- Do not install near any heat sources such as radiators, heat registers, stoves or other apparatus (including amplifiers) that produce heat.
- Only use attachments/accessories specified by the manufacturer.
- To reduce the risk of fire or electric shock, do not expose this appliance to rain or moisture.
- Apparatus shall not be exposed to dripping or splashing and no objects filled with liquids, shall not be placed on the apparatus.
- The batteries shall not be exposed to excessive heat such as sunshine, fire or the like.
- Any changes or modifications not expressly approved by the party responsible for compliance could void the user’s authority to operate the equipment and warranty.
- CAUTION: “Risk of explosion if the battery is replaced by an incorrect type.”
- Do not allow your radio to be exposed to water, steam or sand.
- Do not leave your radio where excessive heat could cause damage.
- If safety relevant, the following information should be included as far as applicable:
– minimum distances around the apparatus for sufficient ventilation;
– the ventilation should not be impeded by covering the ventilation openings with items, such as newspaper, table-cloths, curtains, etc.;
– no naked flame sources, such as lighted candles, should be placed on the apparatus;
– attention should be drawn to the environmental aspects of battery disposal;
– the use of apparatus in tropical and/or moderate climates. - CAUTION: Danger of explosion if battery is incorrectly replaced. Replace only with the same or equivalent type.
- If an apparatus is provided with a replaceable lithium battery, the following applies:
– if the battery is intended to be replaced by the user, there shall be a warning close to the battery or in both the instruction for use and service instructions;
– i f the battery is not intended to be replaced by the user, there shall
be a warning close to the battery or in the service instructions.
For United States:
![]()
Cautions to the user
The changes or modifications not expressly approved by the party responsible for compliance could void the user’s authority to operate the equipment.
RF exposure statements
IMPORTANT NOTE:
To comply with the FCC RF exposure compliance requirements, the antenna(s) used for this transmitter must be installed to provide a separation distance of at least 20cm (8 inches) from all persons and must not be co-located or operating in conjunction with any other antenna or transmitter. No change to the antenna or the device is permitted. Any change to the antenna or the device could result in the device exceeding the RF exposure requirements and void user’s authority to operate the device.
Note:
This equipment has been tested and found to comply with the limits for a Class B digital device, pursuant to part 15 of the FCC Rules. These limits are designed to provide reasonable protection against harmful interference in a residential installation. This equipment generates, uses and can radiate radio frequency energy and, if not installed and used in accordance with the instructions, may cause harmful interference to radio communications. However, there is no guaranty that interference will not occur in a particular installation. If this equipment does cause harmful interference to radio or television reception, which can be determined by turning the equipment off and on, the user is encouraged to try to correct the interference by one or more of the following measures:
- Reorient or relocate the receiving antenna.
- Increase the separation between the equipment and receiver.
- Connect the equipment into an outlet on a circuit different from that to which the receiver is connected.
- Consult the dealer or an experienced radio/TV technician for help.
CAUTION:
These servicing instructions are for use by qualified service personnel only. To reduce the risk of electric shock, do not perform any servicing other than that contained in the operating instructions unless you are qualified to so.
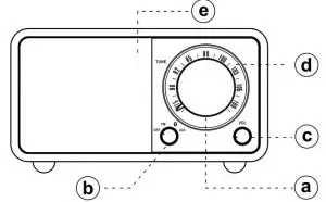
Controls and functions

- a. Tuning control knob : FM 87.5~108MHz
- b. Mode knob : Power off / FM / Bluetooth / Aux in
- c. Volume control knob
- d. Backlight indicator lamps
Lighted: more than 10% of battery capacity/all band in use
Off: less than 10% of battery capacity - e. LED indicator
Red: Charging in progress
Green: Tune to a stable FM station (Note: Some products show an amber indicator.)
Blue blinking: The radio is discoverable for pairing in Bluetooth mode.
Solid blue: The radio is already connected to a Bluetooth device.

- f. 3.5mm external antenna socket
- g. 3.5mm auxiliary input socket
- h. DC IN 5V/1A USB charging socket
- i. Passive speaker
Listening to music via Bluetooth streaming
Pairing and playing your Bluetooth device for the first time
- Rotate the Mode knob to select the Bluetooth mode. The LED indicator will flash a fast blue to show the radio is discoverable.
- Activate Bluetooth on your device according to the device’s user manual to link to the radio. Locate the Bluetooth device list and select the device named ‘SANGEAN WR-7’. With some mobile devices (which are equipped with earlier versions than BT2.1 Bluetooth device), you may need to input the pass code “0000”.
- Once connected, there will be a confirmation tone sound and the LED indicator will turn a solid blue. You can simply select and play any music from your source device. Volume control can be adjusted from your source device, or directly on WR-7.
- Use the controls on your Bluetooth-enabled device to play/pause and navigate tracks.
Disconnecting your Bluetooth device
Rotate the Mode knob to select any mode other than Bluetooth mode to disconnect with
your Bluetooth device or turn off Bluetooth function on your Bluetooth device to disable
the connection.
Supplied accessories
- External antenna
- USB charging cable
Specifications


Sangean reserves the right to amend the specifications without notice.
If at any time in the future you should need to dispose of this product please note that: Waste electrical products should not be disposed of with household waste. Please recycle where facilities exist. Check with your Local Authority or retailer for recycling advice. (Waste Electrical and Electronic Equipment Directive)
Read More About This Manual & Download PDF:



















